ARBORTECH MIN.FG.900.60 Mini Grinder

GENERAL POWER TOOL SAFETY WARNINGS
WARNING – READ ALL SAFETY WARNINGS, INSTRUCTIONS, ILLUSTRATIONS AND SPECIFICATIONS PROVIDED WITH THIS POWER TOOL.
Failure to follow all instructions listed below, may result in electric shock, fire and/or personal injury.
SAVE ALL WARNINGS AND INSTRUCTIONS FOR FUTURE REFERENCE.
The term “power tool” in the warnings refers to your mains-operated (corded) power tool or battery-operated (cordless) power tool.
- WORK AREA SAFETY
- a. Keep work area well ventilated, clean and well lit. Cluttered or dark areas invite accidents.
- b. Do not operate power tools in explosive atmospheres, such as in the presence of flammable liquids, gases or dust. Power tools create sparks which may ignite the dust or fumes.
- c. Keep children and bystanders away while operating a power tool. Distractions can cause you to lose control.
- ELECTRICAL SAFETY
- a. Power tool plugs must match the outlet. Never modify the plug in any way. Do not use any adapter plugs with earthed (grounded) power tools. Unmodified plugs and matching outlets will reduce risk of electric shock.
- b. Avoid body contact with earthed or grounded surfaces, such as pipes, radiators, ranges and refrigerators. There is an increased risk of electric shock if your body is earthed or grounded.
- c. Do not expose power tools to rain or wet conditions. Water entering a power tool will increase the risk of electric shock.
- d. Do not abuse the cord. Never use the cord for carrying, pulling, or unplugging the power tool. Keep cord away from heat, oil, sharp edges
or moving parts. Damaged or entangled cords increase the risk of electric shock. - e. When operating a power tool outdoors, use an extension cord suitable for outdoor use. Use of a cord suitable for outdoor use reduces the risk of electric shock.
- f. If operating a power tool in a damp location is unavoidable, use a residual current device (RCD) protected supply. Use of an RCD reduces the risk of electric shock.
- PERSONAL SAFETY
- a. Stay alert, watch what you are doing and use common sense when operating a power tool. Do not use a power tool while you are tired or under the influence of drugs, alcohol or medication. A moment of inattention while operating power tools may result in serious personal injury.
- b. Use personal protective equipment. Always wear eye protection. Protective equipment such as dust mask, non-skid safety shoes, hard hat or hearing protection used for appropriate conditions will reduce personal injuries.
- c. Prevent unintentional starting. Ensure the switch is in the off-position before connecting to a power source and/or battery pack, picking up or carrying the tool. Carrying power tools with your finger on the switch or energizing power tools that have the switch on invites accidents.
- d. Remove any adjusting key or wrench before turning the power tool on. A wrench or a key left attached to a rotating part of the power tool may result in personal injury.
- e. Do not overreach. Keep proper footing and balance at all times. This enables better control of the power tool in unexpected situations.
- f. Dress properly. Do not wear loose clothing or jewellery. Keep your hair, clothing and gloves away from moving parts. Loose clothes, jewellery or long hair can be caught in moving parts.
- g. If devices are provided for the connection of dust extraction and collection facilities, ensure these are connected and properly used. Use of dust collection can reduce dust-related hazards.
- h. Do not let familiarity gained from frequent use of tools allow you to become complacent and ignore tool safety. A careless action can cause severe injuries within a fraction of a second.
- POWER TOOL USE AND CARE
- a. Do not force the power tool. Use the correct tool for your application. The correct power tool will do the job better and safer at the rate for which it was designed.
- b. Do not use the tool if the switch does not turn it on and off. Any power tool that cannot be controlled with the switch is dangerous and must be repaired.
- c. Disconnect the plug from the power source and/or the battery pack from the power tool before making any adjustments, changing accessories, or storing power tools. Such preventative safety measures reduce the risk of starting the power tool accidentally.
- d. Store idle power tools out of the reach of children and do not allow persons unfamiliar with the power tool or these instructions
to operate the power tool. Power tools are dangerous in the hands of untrained users. - e. Maintain power tools and accessories. Check for misalignment or binding of moving parts, breakage of parts and any other condition
that may affect the power tools operation. If damaged, have the power tool repaired before use. Many accidents are caused by poorly maintained power tools. - f. Keep cutting tools sharp and clean. Properly maintained cutting tools with sharp edges are less likely to bind and are easier to control.
- g. Use the power tool, accessories and tool bits etc. in accordance with these instructions, taking into account the working conditions and the work to be performed. Use of the power tool for operations different from those intended could result in a hazardous situation.
- h. Keep handles and grasping surfaces dry, clean and free from oil and grease. Slippery handles and grasping surfaces do not allow for safe handling and control of the tool in unexpected situations.
- SERVICE
- a. Have your power tool serviced by a qualified repair person using only identical replacement parts. This will ensure that the safety of the power tool is maintained.
MINI CARVER/MINI GRINDER TRADE SAFETY WARNINGS
SAFETY WARNINGS COMMON FOR GRINDING, SANDING OR WOOD CARVING OPERATIONS: - a. This power tool is intended to function as a grinder, sander or wood carver tool. Read all safety warnings, instructions, illustrations and specifications provided with this power tool. Failure to follow all instructions listed below may result in electric shock, fire and/or serious injury.
- b. Operations such as polishing wire brushing or cut-off are not recommended to be performed with this power tool. Operations for which the power tool was not designed may create a hazard and cause personal injury.
- c. Do not use accessories which are not specifically designed and recommended by the tool manufacturer. Just because the accessory can be attached to your power tool, it does not assure safe operation.
- d. The rated speed of the accessory must be at least equal to the maximum speed marked on the power tool. Accessories running faster than their rated speed can break and fly apart.
- e. The outside diameter and the thickness of your accessory must be within the capacity rating of your power tool. Incorrectly sized accessories cannot be adequately guarded or controlled.
- f. Threaded mounting of accessories must match the grinder spindle thread. For accessories mounted by flanges, the arbour hole of the accessory must fit the locating diameter of the flange. Accessories that do not match the mounting hardware of the power tool will run out of balance, vibrate excessively and may cause loss of control.
- g. Do not use a damaged accessory. Before each use inspect the accessory such as abrasive wheels for chips and cracks, backing pad for cracks, tear or excess wear, wire brush for loose or cracked wires. If power tool or accessory
is dropped, inspect for damage or install an undamaged accessory. After inspecting and installing an wire brush for loose or cracked wires. If power tool or accessory is dropped, inspect for damage or install an undamaged accessory. After inspecting and installing an accessory, position yourself and bystanders away from the plane of the rotating accessory and run the power tool at maximum no-load speed for one minute. Damaged accessories will normally break apart during this test time. - h. Wear personal protective equipment. Depending on application, use face shield, safety goggles or safety glasses. As appropriate, wear dust mask, hearing protectors, gloves and workshop apron capable of stopping small abrasive or workpiece fragments. The eye protection must be capable of stopping flying debris generated by various operations. The dust mask or respirator must be capable of filtrating particles generated by your operation. Prolonged exposure to high intensity noise may cause hearing loss.
- i. Keep bystanders a safe distance away from work area. Anyone entering the work area must wear personal protective equipment. Fragments of workpiece or of a broken accessory may fly away and cause injury beyond immediate area of operation.
- j. Hold the power tool by insulated gripping surfaces only, when performing an operation where the cutting accessory may contact hidden wiring or its own cord. Cutting accessory contacting a “live” wire may make exposed metal parts of the power tool “live” and could give the operator an electric shock.
- k. Position the cord clear of the spinning accessory. If you lose control, the cord may be cut or snagged and your hand or arm may be pulled into the spinning accessory.
- l. Never lay the power tool down until the accessory has come to a complete stop. The spinning accessory may grab the surface and pull the power tool out of your control.
- m. Do not run the power tool while carrying it at your side. Accidental contact with the spinning accessory could snag your clothing, pulling the accessory into your body.
- n. Regularly clean the power tool’s air vents. The motor’s fan will draw the dust inside the housing and excessive accumulation of powdered metal may cause electrical hazards.
- o. Do not operate the power tool near flammable materials. Sparks could ignite these materials.
- p. Do not use accessories that require liquid coolants. Using water or other liquid coolants may result in electrocution or shock.
- a. Have your power tool serviced by a qualified repair person using only identical replacement parts. This will ensure that the safety of the power tool is maintained.
KICKBACK AND RELATED WARNINGS
Kickback is a sudden reaction to a pinched or snagged rotating wheel, backing pad, brush or any other accessory.
Pinching or snagging causes rapid stalling of the rotating accessory which in turn causes the uncontrolled power tool to be forced in the direction opposite of the accessory’s rotation at the point of the binding. For example, if an abrasive wheel is snagged or pinched by the workpiece, the edge of the wheel that is entering into the pinch point can dig into the surface of the material causing the wheel to climb out or kick out. The wheel may either jump toward or away from the operator, depending on direction of the wheel’s movement at the point of pinching. Abrasive wheels may also break under these conditions. Kickback is the result of power tool misuse and/or incorrect operating procedures or conditions and can be avoided by taking proper precautions as given below.
- a. Maintain a firm grip on the power tool and position your body and arm to allow you to resist kickback forces. Always use auxiliary handle, if provided, for maximum control over kickback or torque reaction during start-up. The operator can control torque reactions or kickback forces, if proper precautions are taken.
- b. Never place your hand near the rotating accessory. Accessory may kickback over your hand.
- c. Do not position your body in the area where power tool will move if kickback occurs. Kickback will propel the tool in direction opposite to the wheel’s movement at the point of snagging.
- d. Use special care when working corners, sharp edges etc. Avoid bouncing and snagging the accessory. Corners, sharp edges or bouncing have a tendency to snag the rotating accessory and cause loss of control or kickback.
- e. Do not attach a saw chain wood carving blade or toothed saw blade. Such blades create frequent kickback and loss of control.
- f. Do not attach reinforced abrasive cut-off wheel. Such tools can break-off and cause injuries.
SAFETY WARNINGS SPECIFIC FOR GRINDING OPERATIONS:
- a. Use only wheel types that are recommended for your power tool and the specific guard designed for the selected wheel. Wheels for which the power tool was not designed cannot be adequately guarded and are unsafe.
- b. The grinding surface of centre depressed wheels must be mounted below the plane of the guard lip. An improperly mounted wheel that projects through the plane of the guard lip cannot be adequately protected.
- c. The guard must be securely attached to the power tool and positioned for maximum safety, so the least amount of wheel is exposed towards the operator. The guard helps to protect the operator from broken wheel fragments, accidental contact with wheel and sparks that could ignite clothing.
- d. Wheels must be used only for recommended applications. For example: do not grind with the side of cut-off wheel. Abrasive cut-off wheels are intended for peripheral grinding, side forces applied to these wheels may cause them to shatter.
- e. Always use undamaged wheel flanges that are of correct size and shape for your selected wheel. Proper wheel flanges support the wheel thus reducing the possibility of wheel breakage. Flanges for cut-off wheels may be different from grinding wheel flanges.
- f. Do not use worn down wheels from larger power tools. Wheel intended for larger power tool is not suitable for the higher speed of a smaller tool and may burst.
ADDITIONAL SAFETY WARNINGS SPECIFIC FOR SANDING OPERATIONS:
- a. Do not use excessively oversized sanding disc paper. Follow manufacturers recommendations, when selecting sanding paper. Larger sanding paper extending beyond the sanding pad presents a laceration hazard and may cause snagging, tearing of the disc or kickback.
- b. Adjust the speed as recommended for sanding applications. High speed sanding presents laceration and burning hazard.
ADDITIONAL SAFETY WARNINGS
Wear hearing protection; Wear eye protection; Wear dust mask; Wear protective gloves.
- a. Use suitable detectors to determine if utility lines are hidden in the work area or call the local utility company for assistance. Contact with electric lines can lead to fire and electric shock. Damaging a gas line can lead to explosion. Penetrating a water line causes property damage or may cause an electric shock.
- b. Release the On/Off switch and set it to the off position when the power supply is interrupted, e. g., in case of a power failure or when the mains plug is pulled.
- c. Do not touch grinding and cutting discs before they have cooled down. The discs can become very hot while working.
- d. Secure the workpiece. A workpiece clamped with clamping devices or in a vice is held more secure than by hand.
KNOWING YOUR TOOL
PRODUCT DESCRIPTION AND SPECIFICATIONS
- Read all safety warnings and all instructions, Failure to follow the warnings and instructions may result in electric shock, fire and/or serious injury.
CE – Declaration of conformity:
Arbortech declares that the product MIN.FG.900.60 and MIN.FG.910.60 described in this manual under “Technical Specifications” is manufactured in compliance with EN 60745 standardised documents, EMC 2014/30/EU and RoHS 2011/65/EU directives.
Technical file in conformity with Machinery Directive 2006/42/EC at: Arbortech PTY LTD | 67 Westchester Road, Malaga, WA 6090
INTENDED USE
The Mini Carver/Mini Grinder Trade is intended for grinding, carving, and sanding of metal, stone and wood without use of water.
Note: Text, diagrams and data are correct at time of printing. In the interests of continuous improvement of our products, technical specifications are subject to alteration without prior notice.
For working with applications on materials that create dust use dust extraction accessories.
| Voltage | 230 | V |
| Power rating | 1000 | W |
| Frequency | 50 | Hz |
| Protection class | II | II |
| Rated speed | 6000-19500 | Rpm |
| Tool diameter | 54 | mm |
| Mounting bore size | 9.5 | mm |
| Mounting screw size | M5 | mm |
| Weight | 2.35 | kg |
| Vibration emission (k=1.5) | 7.31 | m/sec2 |
| Noise emission (k=3.0) | 96 | dB(A) |
WARNING: The declared vibration emission level represents the main applications of the tool. However if the tool is used for different applications, with different accessories or insertion tools or is poorly maintained, the vibration emission may differ. This may significantly increase the exposure level over the total working period.
An estimation of the level of exposure to vibration should also take into account the times when the tool is switched off or when it is running but not actually doing the job. This may significantly reduce the exposure level over the total working period. Identify additional safety measures to protect the operator from the effects of vibration.
UNPACKING AND ASSEMBLY
Inspect to ensure that no damage has occurred to the tool and accessories during transport. If damaged, report to the retailer immediately.
Remove the auxiliary handle from the box and attach to the tool. (Fig. A)
Ensure that the clamping screw (18) is always fully tightened before use.
PRODUCT FEATURES AND LIST OF COMPONENTS
| ITEM Features and components | |
| 1 | Mini Carver/Mini Grinder Trade Body |
| 2 | Auxiliary handle |
| 3 | ON/OFF Switch |
| 4 | Speed control |
| 5 | Drive Lock button |
| 6 | Extension arm |
| 7 | Mini shaft |
| 8 | Bearings |
| 9 | Bearing cap |
| 10 | Pan screw 4g |
| 11 | Small Pulley |
| 12 | Large Pulley |
| 13 | Belt |
| 14 | Guard cover |
| 15 | Pan screw 6g |
| 16 | Mini Pro Blade 1 |
| 17 | Clamping Washer |
| 18 | Clamping screw M5 |
| 19 | Dust extraction cover |
| 20 | Sanding Pad |
| 21 | Sandpaper |
| 22 | Clamping Bush |
| 23 | Countersunk screw |
| 24 | Diamond Cutting Disc 2 |
| 25 | Grinding Wheel 2 |
| 26 | Spindle lock – cover |
| 27 | Leaf spring |
| 28 | Locking bar |
| 29 | Locking button |
Included with Mini Carver
2 Included with Mini Grinder Trade
PRODUCT FEATURES AND LIST OF COMPONENTS
MOUNTING TOOLS AND ACCESSORIES
WARNING: To reduce the risk of serious personal injury, turn the tool off and disconnect from the power source before making any adjustments or removing/ installing tools or accessories.
REPLACING CARVING AND GRINDING DISCS
Insert a flat screw driver into the mini shaft (7) toprevent rotation, then remove the clamping screw (18) using the Allen Key provided with the tool (Fig. D). Replace the blade with other Arbortech recommended product as shown on the following diagrams. Place the new disc over the small pulley, ensuring it is properly centered and seated flat against the pulley face. Place the clamping washer (17) over the disc then insert and tighten the clamping screw (18) in order as shown (Fig. E). Ensure the marks on the disc are visible and arrow of rotation is pointing in the same direction as the arrow on the back of the guard.

WARNING: Failure to properly mount the discs over the pulley could result in serious injuries or damage the tool.
MOUNTING THE SANDING PAD
Follow the steps to remove the disc prescribed above (step 1).
First position the sand paper (21) over the sanding pad (20)then insert countersunk screw (23) into the clamping bush (22) and together insert them into the sanding pad centre hole. Next insert the sanding pad over the small pulley (11) (Fig. F) and tighten the screw onto the mini shaft.
MOUNTING THE DUST EXTRACTION
To fit-on the dust extraction, first insert the front lugs of the Dust Extraction Cover (19) under the Guard Cover cut-outs, then push down the rear end to snap the latches over the Extension Arm side lugs as shown in Fig.G. Fit the vacuum cleaner hose into the Dust extraction hole (Fig. H). Dust extraction fits hose size Ø35mm.

To remove the Dust Extraction Cover pull the dust extraction latch sideway from the extension arm and then pull out in reverse direction.
WARNING:
- To reduce the risk of personal injury always use dust extraction.
- Provide for sufficient dust extraction when cutting masonry materials.
- The vacuum cleaner must be approved for vacuuming masonry dust
- Wear a dust respirator .
- The machine may be used only for dry cutting/ grinding.
WARNING: ALWAYS WEAR CORRECT SAFETY CLOTHING, INCLUDING EAR, EYE AND LUNG PROTECTION.
DO NOT use under the wet conditions or in presence of flammable liquids and gasses.
CAUTION: Use correct personal protection equipment when working on materials treated or containing toxic substances and follow local government safety regulations.
OPERATION
Always use two hands to operate the Mini Carver/Mini Grinder Trade placing the left hand on the auxiliary handle and the right on the tool body ( Fig. J) Ensure the machine is running BEFORE contacting the material, to be worked on. To sand, grind or woodcarving, hold the Mini Carver/Mini Grinder Trade as shown in Fig. K 

CUTTING GRIP
Use the Mini Industrial Blade to cut or remove wood and plastics.
Use the Mini Sanding Pads for cleaning and sanding wood, plastics, metal, paint and much more.
Use the diamond blade for cutting and recessing any masonry based material.
Use the grinding disc to grind metal.
STARTING OPERATION
Observe correct mains voltage! The voltage of the power source must agree with the voltage specified on the nameplate of the machine. Power tools marked with 230-240V can also be operated with 220 V.
SHOWING ANGLE & DIRECTION OF CUT
25-30° is a comfortable working angle.
Use the bottom edge of the blade (as shown in Fig.L / M) and not as in Fig.N.


SWITCHING ON AND OFF
To start the power tool, push the On/Off switch 3 forwards.
To lock the On/Off switch 3, press the On/Off switch 3 down at the front until it latches.
To switch off the power tool, release the On/Off switch 3, or if it is locked, briefly push down the back of the On/Off switch 3 and then release it.
- Check grinding tools before using. The grinding tool must be mounted properly and be able to move freely.
Test run the grinder with no load prior use. Do not use damaged, out-of-centre or vibrating tools.
CAUTION:
Restarting protection – The restarting protection feature prevents uncontrolled restarting of the
machine after an interruption in the power supply.
To restart the operation, switch the On/Off switch 3 to the off position and start the machine again.
WARNING:
- Always read the safety instructions and applicable regulations
- Support and secure the work piece to prevent movement and loss of control.
- Do not exert pressure or strain the machine so heavily that it comes to a standstill.
- After heavily straining the power tool, continue to run it at no-load for several minutes to cool down the accessory.
- Do not touch grinding and cutting discs before they have cooled down. The discs can become very hot while working.
| TOOL | POWER SETTINGS | APPLICATION |
| Mini Pro Blade 1 | 5-6 | Wood carving |
| Diamond Disc 2 | 5-6 | Grinding masonry material |
| Grinding Disc 2 | 5-6 | Grinding metal |
| Sanding Pad | 1-3 | Sanding wood, metal and other materials. Use lower speed for higher grit sandpaper |
1 Included with Mini Carver
2 Included with Mini Grinder Trade
MAINTENANCE
WARNING: BEFORE ANY ADJUSTMENT, CLEANING OR WORK ON THE MACHINE ITSELF, DISCONNECT FROM THE POWER SUPPLY.
CLEANING THE GRILLS AND SWITCH
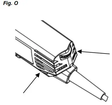
Regularly check to see if any dust or foreign matter has entered the grills positioned on the front and back of the motor (fig. O and P) or under ON/OFF switch (Fig. A).

If so use a soft brush to remove any accumulated dust. to clean grills and switch.
TENSIONING OR REPLACING THE BELT
Unplug the Mini Carver/Mini Grinder Trade.
Remove the blade and the guard cover (14) then lift the back side of the guard cover and slide the cover back and lift off (Fig.Q). Unscrew the 4 screws (10) (fig. R), until the bearing cap (9) and spindle lock cover (26) can rotate inside the arm.
Rotate the components 9 and 26 together anticlockwise (Fig R) until the screws align with the next hole position in the arm (Fig S). This will make the small pulley to move and create tension in the belt. Ensure the belt is correctly positioned over the pulleys as shown in (Fig. T) and the small pulley is fully inserted onto the spindle.

When tensioning is finished tighten the screws. Then secure the guard cover onto the arm and install the blade.
DO NOT OVER TENSION THE BELT
Note: clean surroundings with a soft cloth or small brush.
Accessories & spare parts visit www.arbortechtools.com
ARBORTECH PTY LTD 67 WESTCHESTER ROAD MALAGA 6090
PERTH WESTERN AUSTRALIA
Tel: 08 9249 1944
Fax: 08 9249 2936
U.S.A. -Tollfree: 866-517-7869
U.S.A Office: 978-466-7945
U.S.A Fax: 866-515-8104
EUROPE:
Tel: +49 2724-288301
Fax: +49 2724-205515
www.arbortechtools.com
Facebook: @arbortechtools
Email: [email protected]



















