
Bassinet Instruction Manual
![]()

THE ILLUSTRATIONS SHOWN IN THIS MANUAL ARE FOR REFERENCE ONLY. THE MANUFACTURER RESERVES THE RIGHT TO CHANGE ANY SPECIFICATION OR FEATURE WITHOUT FURTHER NOTICE. IMPORTANT! PLEASE READ CAREFULLY BEFORE USE AND KEEP FOR FUTURE REFERENCE.
Safety Notes
CAUTION:
Read these instructions carefully before assembly and use and keep for future reference.
The child may be hurt if you do not follow these instructions.
WARNING;
- This product is intended for one child aged between 0-6 months, weighing up to a maximum of 9kg.
- The product should be placed on a horizontal surface. Never leave the product on an inclined surface with the child inside of it.
- Young children should not be allowed to play unsupervised in the vicinity of the bassinet.
- Inspect the product before assembly and periodically during use. Do not use the bassinet if any part is broken, torn, or missing.
- When a child is able to sit, kneel, or to pull himself up, the bassinet shall not be used anymore for this child.
- All assembly fittings should always be tightened properly and care should be taken to ensure no screws are loose, as a child could trap parts of the body or clothing (e.g. strings, necklaces, ribbons for babies’ dummies, etc.) which would pose a risk of strangulation.
- Do not use the product without the frame.
- Use only the mattress supplied by the manufacturer. An incorrect mattress can cause death.
- Do not adjust the product with the child inside.
- Do not move the product with the child inside.
- Do not use the product with more than one child at a time.
- Ensure legs are fully adjusted before using the bassinet. NEVER use a bassinet with the legs partially or totally retracted.
- Be aware of the risk of open fires and other sources of strong heat, such as electric bar fires, gas fires, etc. in the near vicinity of the product.
- Take care when unpacking and during assembly.
- Dispose of all packing materials carefully after assembly.
- Regularly check that all fittings remain tight. Tighten if required.
- Any additional or replacement parts should only be obtained from the manufacturer or distributor.
- Never substitute parts.
- The bassinet sleep surface must be horizontal. Never place an infant to sleep on a sloped surface.
- Placing additional items in the product may cause suffocation.
- Do not place the product close to another product, which could present a danger of suffocation or strangulation, e.g. strings, blind/curtain cords, etc.
- The product should be locked in a fixed position when the child is left unattended.
- Only use the mattress sold with this bassinet. DO NOT add a second mattress on top of this one – it may cause suffocation hazards.
Parts List
![]() | ![]() |
![]() | |
Assembly
Unpack all contents and check that all parts are present before starting assembly. Please refer to the parts list.
- Insert support bar (D) into left side frame (C).
- Secure with 2 screws (E).
- Use the Allen key (G) to tighten screws in a clockwise direction. Repeat the process with the right-side frame stand.

- Attach the bassinet (A) handrail joint to the top of the assembled frame stand. Repeat for the other side.

- Place the mattress cover (F) over the mattress (B).
- Insert mattress into the bassinet.
WARNING:
Use only the mattress supplied by the manufacturer. An incorrect mattress can cause death.

WARNING:
The bassinet sleep surface must be horizontal. Never place infant to sleep on a sloped surface.

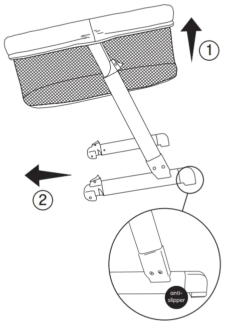
Wheels / Castors
The bassinet has wheels located on the front of the frame legs for easy maneuvering.
- Hold the bassinet from the long handrail and lift up to access the wheels.
- At the same time, push the bassinet forwards or backward to desired space.
NOTE: there is an anti-slippery at the bottom of each leg to stop the bassinet from moving.

Feet Adjustment
The feet at the base of the bassinet can be adjusted for storage and transportation.
- Press the button down as shown.
- Pull feet out to adjust the feet length.
WARNING:
Ensure feet are fully extended with a spring pin clicked into position before using the bassinet. NEVER use a bassinet with the feet partially or totally retracted.

Height Adjustment
The bassinet has 5 height positions.
- Press in the adjustment lever as shown.
- Adjust the bassinet to the desired height.
Repeat operation on the other side of the bassinet.
WARNING:
Ensure the two legs of the bassinet are adjusted to the same height.
WARNING:
Ensure the spring pin has clicked into position before placing baby in a bassinet.

Care & Maintenance
- All assembly fittings are to be tightened properly. Inspect regularly and re-tighten as necessary.
- Do not use this product if any port is broken, torn or missing.
- Mattress: Surface clean only. Wipe with a damp cloth.
- Mattress cover: Wash before use. Warm delicate machine wash. Do not bleach. Do not tumble dry. Warm iron if required. Do not dry cleani8i. Dry thoroughly before re-use or storage.
- Bassinet: Surface clean only. Wipe with a damp cloth.
- Plastic and metal parts: Sponge lightly using warm water and a mild detergent.
- Do not use abrasive pads, bleach or strong household cleaners.
- Ensure the product is completely dry before use or storage.
- Always store in a clean and dry place. Avoid direct heat and sunlight.
- During the removal and/or application of the mattress cover, handle the fabric carefully in order to avoid accidental damage or tears.
KEYCODE: 43-008-193
MADE IN CHINA
FOR AU / NZ: IMPORTED FOR KMART
STORES IN AUSTRALIA AND NEW ZEALAND.
KMART CUSTOMER SERVICE
AU: 1800 124 125 NZ: 0800 945 995





















