LG 27GR95QE UltraGear OLED Monitor

OPEN SOURCE SOFTWARE NOTICE INFORMATION
To obtain the source code that is contained in this product, under GPL, LGPL, MPL, and other open source licenses that have the obligation to disclose source code, and to access all referred license terms, copyright notices and other relevant documents, please visit https://opensource.lge.com. LG Electronics will also provide open source code to you on CD-ROM for a charge covering the cost of performing such distribution (such as the cost of media, shipping, and handling) upon email request to [email protected]. This offer is valid to anyone in receipt of this information for a period of three years after our last shipment of this product.
ASSEMBLING AND PREPARING
CAUTION
- Always use genuine LG components to ensure safety and product performance.
- The product warranty will not cover damage or injury caused by the use of unauthorised components.
- It is recommended that use the supplied components.
- The product figures and screen displays used in this manual are examples to help consumers use the product and may differ from the actual product.
- Do not apply foreign substances (oils, lubricants, etc.) to the screw parts when assembling the product. (Doing so may damage the product.)
- Applying excessive force when tightening screws may cause damage to the monitor. Damage caused in this way will not be covered by the product warranty.
- Do not carry the monitor upside down by just holding the base. This may cause the monitor to fall off the stand and could result in personal injury.
- When lifting or moving the monitor, do not touch the monitor screen. The force applied to the monitor screen may cause damage to it.
- For wave pattern on appearance, unlike the general method of coating, it’s applied to added glittering material in raw material. With no peeled-off appearance, it has good durability. Please use it with confidence because there is no problem in using the product at all.
NOTE
- The components may look different from those illustrated here.
- Without prior notice, all product information and specifications contained in this manual are subject to change to improve the performance of the product.
- To purchase optional accessories, visit an electronics store or an online shopping site, or contact the retailer from which you purchased the product.
- The power cord provided may differ depending upon the region.
Supported Drivers and Software
You can download and install the latest version from the LGE website (www.lg.com).

- Remote control receptor
- Power button
- Lighting
Using the button
The monitor can be operated by pressing a button.
Basic functions

- The desired function can be selected by moving the menu.
- You can enter the menu to change the function while the monitor is on.
Menu Settings
| Power off the monitor. | |
| Changes the external input. | |
| Adjusts the volume. | |
![]() | Adjusts the brightness. |
Moving and Lifting the Monitor
When moving or lifting the monitor, follow these instructions to prevent the monitor from being scratched or damaged and to ensure safe transportation, regardless of its shape or size.
- Place the monitor in the original box or packing material before attempting to move it.
- Before moving or lifting the monitor, disconnect the power cord and all other cables.
- Hold the bottom and side of the monitor frame firmly. Do not hold the panel itself.
- When holding the monitor, the screen should face away from you to prevent it from being scratched.
- When transporting the monitor, do not expose the monitor to shock or excessive vibration.
- When moving the monitor, keep it upright and never turn the monitor on its side or tilt it sideways.

CAUTION
- Avoid touching the monitor screen as much as possible.
- This may result in damage to the screen or some of the pixels used to create images.
- If you use the monitor panel without the stand base, its power button may cause the monitor to become unstable and fall, resulting in damage to the monitor or human injury. In addition, this may cause the power button to malfunction.

Installing on a Table
- Lift the monitor and place it on the table in an upright position. Place the monitor at least 100 mm away from the wall to ensure sufficient ventilation.

CAUTION
- Unplug the power cord before moving or installing the monitor. There is risk of electric shock.
- Make sure to use the power cord that is provided in the product package and connect it to a grounded power outlet.
- If you need another power cord, please contact your local dealer or the nearest retail store.
Adjusting the Stand Height
- Place the monitor mounted on the stand base in an upright position.
- Handle the monitor with both hands for safety.

WARNING
- When adjusting the screen height, do not place your hand on the stand body to avoid injury to your fingers.
Adjusting the Angle
- Place the monitor mounted on the stand base in an upright position.
- Adjust the angle of the screen.
The angle of the screen can be adjusted forward or backward from -5° to 15° for a comfortable viewing experience.
WARNING
- To avoid injury to the fingers when adjusting the screen, do not hold the lower part of the monitor’s frame as illustrated below.

- Be careful not to touch or press the screen area when adjusting the angle of the monitor.

Pivot Feature
The pivot feature allows the monitor to rotate 90° counter-clockwise.

WARNING
- To avoid scratching the stand base, make sure that when rotating the monitor using the pivot feature, the stand does not make contact with the monitor.
- When using the Pivot function, do not rotate the monitor too fast or with excessive force.
- The head may come in contact with the stand and scratch the base.
- Be careful as you may injure your finger by jamming it between the head and the stand.
- Raise the monitor to the maximum height.

- Adjust the angle of the monitor in the direction of the arrow as shown in the figure.

- Rotate the monitor counter-clockwise as shown in the figure.

- Complete the installation by rotating the monitor 90° as shown below.

WARNING
- Be careful as you may injure your finger by jamming it between the head and the desk.
NOTE
- Auto Pivot feature of the display is not supported.
- The screen can be rotated easily using the screen pivot shortcut key provided with your Windows operating system. Note that some Windows versions and some graphics card drivers may use different settings for the screen pivot key or may not support the pivot key at all.
Using the Kensington Lock
For more information on installation and usage, refer to the Kensington lock owner’s manual or visit the website at http://www.kensington.com. Connect the monitor to a table using the Kensington security system cable.
NOTE
- The Kensington security system is optional. You can obtain optional accessories from most electronics stores.
Installing on the Wall
This monitor meets the specifications for the wall mount plate or other compatible devices. Install the monitor at least 100 mm away from the wall and leave about 100 mm of space at each side of the monitor to ensure sufficient ventilation. Detailed installation instructions can be obtained from your local retail store. Alternatively, please refer to the manual for how to install and set up a tilting wall mounting bracket.
Installing the Wall Mount Plate
To install the monitor to a wall, attach a wall mounting bracket (optional) to the back of the monitor. Make sure that the wall mounting bracket is securely fixed to the monitor and to the wall.

NOTE
- Use the screws specified by VESA standards.
- The wall mount kit includes the installation guide and all necessary parts.
- The wall mounting bracket is optional. You can obtain optional accessories from your local dealer.
- The length of the screw may differ for each wall mounting bracket. If you use screws longer than the standard length, it may damage the inside of the product.
- For more information, please refer to the user manual for the wall mounting bracket.
- Be careful not to apply too much force while mounting the wall mount plate as it may cause damage to the screen.
- Remove the stand before installing the monitor on a wall mount by performing the stand attachment in reverse.
CAUTION
- Unplug the power cord before moving or installing the monitor to avoid electric shock.
- Installing the monitor on the ceiling or on a slanted wall may result in the monitor falling off, which could lead to injury. Use an authorised LG wall mount and contact the local dealer or qualified personnel.
- To prevent injury, this apparatus must be securely attached to the wall in accordance with the installation instructions.
- Applying excessive force when tightening screws may cause damage to the monitor. Damage caused in this way will not be covered by the product warranty.
- Use the wall mounting bracket and screws that conform to VESA standards. Damage caused by the use or misuse of inappropriate components will not be covered by the product warranty.
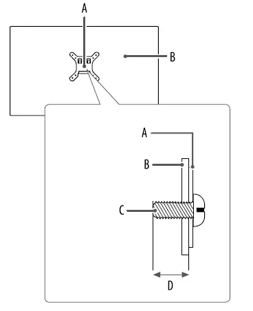
- When measured from the back of the monitor, the length of each installed screw must be 8 mm or less.

- Wall Mount Plate
- Back of the Monitor
- Standard screw
- Max. 8 mm
USING THE MONITOR
- Illustrations in this manual may differ from the actual product. After pressing the power button or
button on the remote control, select the corresponding input from the [Input] menu or press the
(Input) button on the remote control to select the desired input.
CAUTION
- If you use generic cables not certified by LG, the screen may not display or there may be image noises.
- Do not press the screen for a prolonged time. This may cause image distortion.
- Do not display a still image on the screen for a prolonged time. This may cause image retention. Use a PC screensaver if possible.
- When connecting the power cord to the outlet, use a grounded (3-hole) power strip or a grounded power outlet. (Depending on country)
- The monitor may flicker when turned on in an area where the temperature is low. This is normal.
- Sometimes red, green, or blue spots may appear on the screen. This is normal.
Connecting to a PC
- This monitor supports the * feature.
- A feature that allows you to add a device to your computer without having to reconfigure anything or install any manual drivers.
HDMI Connection
Transmits digital video and audio signals from your PC to the monitor.
NOTE
- Using a DVI to HDMI / DP (DisplayPort) to HDMI cable may cause compatibility issues.
- Use a certified cable with the HDMI logo attached. If you do not use a certified HDMI cable, the screen may not display or a connection error may occur.
- Recommended HDMI cable types
- High Speed HDMI®/™ cable
- High Speed HDMI®/™ cable with Ethernet
DisplayPort Connection
Transmits digital video and audio signals from your PC to the monitor.
NOTE
- There may be no video or audio output depending on the DP (DisplayPort) version of the PC.
- Make sure to use the supplied DisplayPort cable of the product. Otherwise, this may cause the device to malfunction.
- If you are using a Mini DisplayPort output graphics card, use a Mini DP to DP (Mini DisplayPort to DisplayPort) cable or gender that supports DisplayPort1.4. (Sold separately)
Connecting AV Devices
HDMI Connection
HDMI transmits digital video and audio signals from your AV device to the monitor.
NOTE
- Using a DVI to HDMI / DP (DisplayPort) to HDMI cable may cause compatibility issues.
- Use a certified cable with the HDMI logo attached. If you do not use a certified HDMI cable, the screen may not display or a connection error may occur.
- Recommended HDMI cable types
- High Speed HDMI®/™ cable
- High Speed HDMI®/™ cable with Ethernet
Connecting Peripherals
USB Device connection
The USB port on the product functions as a USB hub.
NOTE
- It is recommended you install all Windows Updates to keep your Windows up-to-date before connecting to the product for use.
- Peripheral devices are sold separately.
- A keyboard, mouse, or USB device can be connected to the USB port.
- The charging speed may vary depending on the device.
CAUTION
- Cautions when using a USB device.
- A USB device with an automatic recognition program installed, or that uses its own driver, may not be recognised.
- Some USB devices may not be supported or may not work properly.
- It is recommended to use a USB hub or hard disk drive with power supplied. (If the power supply is not adequate, the USB device may not be recognised properly.)
Optical Output Speaker Connection
It supports optical output speaker connection and can connect monitors and audio devices.
NOTE
- Peripheral products are sold separately.
- Depending on the audio settings of the PC and the external device, speaker function may be limited.
Headset Connection
Connect peripherals to the monitor via the headset port.
NOTE
- Peripheral devices are sold separately.
- Depending on the audio settings of the PC and external device, headset and speaker functions may be limited.
- The microphone works only when the USB port on the monitor is connected to the USB port on the PC.
USING THE REMOTE CONTROL
Replacing the Remote Control Battery
- Remove the screw and open the battery cover.
- Place the replacement battery (CR2025/ 3 V) matching direction the label inside the compartment.

- Close the battery cover and tighten the screw. To remove the battery, perform the installation actions in reverse. The illustrations may differ from the actual accessories.
(Power) Turns the monitor on or off.
(Input) Selects the input mode.
(Volume) Adjusts the volume.
(Mute) Mute all sounds.
(Brightness) Adjusts the brightness level.
(Previous) Go to the previous step.
Makes the main menu screen appear or disappear.
(Reader mode) Changes to Reader mode.
(Direction and OK buttons) You can move, select, and adjust the menu.
* (Down): Enters the [Accessibility] menu if no other OSD (On Screen Display) is displayed.
(User-defined Key) Enters the menu user specified.
(OLED Care) Enters the [OLED Care] menu.
([DTS Headphone:X]) Selects the desired sound setting.
(Sound Out) Changes the audio output method.
CAUTION
- Do not mix old and new batteries, as this may damage the remote control.
- Be sure to point the remote control toward the remote control sensor on the monitor.
- The product’s internal and external batteries should not be exposed to excessive heat such as direct sunlight, fire, or the like.
- Risk of fire or explosion if the battery is replaced by an incorrect type.
- Do not ingest battery. Chemical burn hazard.
USER SETTINGS
NOTE
- The Monitor OSD (On Screen Display) may differ from the description in the User Manual.
Activating the Main Menu
- Press the
button on the remote control. - Adjusts the option with the arrow keys and the OK button on the remote control.
- Press the
button on the remote control once more or press the (Previous) button to exit from the main menu.
Menu Settings
[Game Mode]
- [Gamer 1]/[Gamer 2]: [Gamer 1] and [Gamer 2] picture modes allow you to save two sets of customized display settings, including game-related setup options.
- [FPS]: This mode is optimized for FPS games. It is suitable for very dark FPS games.
- [RTS]: This mode is optimized for RTS games.
- [Vivid]: Optimized the screen for vivid colours.
- [Reader]: Optimized the screen for reading documents. You can brighten the screen in the OSD menu.
- [HDR Effect]: Optimized the screen for high dynamic range.
- [sRGB]: A standard RGB colour space for the monitor and printer.
- [Color Weakness] : This mode is for users who cannot distinguish between red and green. It enables users with color weakness to easily distinguish between the two colors.
- [Calibration 1]/[Calibration 2]: Adjusts to the calibrated screen.
- Please install to run calibration.
NOTE
- The [Game Mode] can be set depends on the Input signal.
- If the [Game Mode] is changed in the DP (DisplayPort) input, the screen may flicker or the resolution of your PC screen may be affected.
- HDR content may not display correctly depending on Windows 10 OS settings, please check HDR On/Off settings in Windows.
- When the HDR function is turned on, the characters or picture quality may be poor according to Graphic card performance.
- While the HDR function is on, screen flickering or cracking may occur when changing the monitor input or power on/off according to Graphic card performance.
- For information about whether the graphics card and game support HDR, visit their manufacture’s website.
[Game Adjust]
- [Adaptive-Sync]/[VRR]: This function shows a clear screen without screen tearing or stuttering in the game environment.
- However, screen flickering may occur in some game environments.
- [Black Stabilizer]: You can control the black contrast to have better visibility in dark scenes. You can easily distinguish objects on dark game screens.
- [Crosshair]: Crosshair provides a mark on the center of the screen for First Person Shooter (FPS) games. Users can select the crosshair that fits their gaming environment among four different crosshairs.
- [FPS Counter]
- [On]: The indicator is displayed on the upper left of the screen. It will reflect the actual frame rate that is received at the input. You can also adjust the position of [FPS Counter]. (upper left/upper right/lower right/ lower left)
- [Off]: Does not use the [FPS Counter] feature.
- [FPS Counter] and [Crosshair] feature can not be used at the same time.
- [Game Reset]: Returns game to the default settings.
[Picture Adjust]
- [Brightness]: Adjusts the brightness of the screen.
- [Contrast]: Adjusts the contrast of the screen.
- [Sharpness]: Adjusts the sharpness of the screen.
- [Gamma]
- [Mode 1], [Mode 2], [Mode 3]: The higher the gamma value, the darker the image becomes. Likewise, the lower the gamma value, the lighter the image becomes.
- [Mode 4]: If you do not need to adjust the gamma settings, select [Mode 4].
- [Color Temp]: Set your own colour temperature.
- [Custom]: The user can customize the red, green and blue colour.
- [Warm]: Sets the screen colour to a reddish tone.
- [Medium]: Sets the screen colour to between a red and blue tone.
- [Cool]: Sets the screen colour to a bluish tone.
- [Manual]: The user can fine-tune the colour temperature.
- [R/G/B]: You can customize the picture colour using red, green, and blue colours.
- •• [Six Color]: Meets the user requirements for colours by adjusting the hue and saturation of the six colours (red, green, blue, cyan, magenta, and yellow) and then saving the settings.
- Hue: Adjusts the tone of the screen colours.
- Saturation: Adjusts the saturation of the screen colours. The lower the value, the less saturated and brighter the colours become. The higher the value, the more saturated and darker the colours become.
- [Black Level]: Sets the offset level (for HDMI only).
- Offset: as a reference for a video signal, this is the darkest colour the monitor can display.
- [High]: Keeps the current contrast ratio of the screen.
- [Low]: Lowers the black levels and raises the white levels from the current contrast ratio of the screen.
- [Picture Reset]: Returns picture and colour to the default settings.
Input
- [Input List]: Selects the input mode.
- [Aspect Ratio]: Adjusts the aspect ratio of the screen. The display may look the same for [Full Wide],
- [Original], and [Just Scan] options at the recommended resolution.
- [Full Wide]: Displays the video in widescreen, regardless of the video signal input.
- [Original]: Displays video according to the aspect ratio of the video signal input.
- [Just Scan]: The aspect ratio is not adjusted from the original.
- [Auto Input Switch]: On/Off
[General]
- [Language]: Sets the menu screen to the desired language.
- [Hexagon Lighting]: Sets the lighting on the back of the monitor.
- [Static 1], [Static 2], [Static 3], [Static 4]: Sets the lighting to the desired colour.
- [Cycling]: All colours appear alternately.
- [Off]: Turns off the light on the back of the monitor.
- [User-defined Key 1]/[User-defined Key 2]: Allows users to set the desired menu to be accessed directly from the remote control.
- The [User-defined Key 1]/[User-defined Key 2] functions are displayed by buttons on the remote control.
- [Sound Out]: Changes the desired audio output method.
- [DTS Headphone:X]: Enables the realization of three-dimensional sound with headphones or earphone.
- [Game]: This mode is optimized for Game.
- [Entertainment]: This mode is optimized for Entertainment.
- [Sports]: This mode is optimized for Sports.
- [Off]: Disables DTS Headhpone:X function.
- [SMART ENERGY SAVING]: Conserve energy by using luminance compensation algorithm.
- [High]: Saves energy using the high-efficiency [SMART ENERGY SAVING] feature.
- [Low]: Saves energy using the low-efficiency [SMART ENERGY SAVING] feature.
- [Off]: Disables the feature.
- The value of energy saving data may differ depending on panel and panel suppliers.
- If you select the option of [SMART ENERGY SAVING] is [High] or [Low], monitor luminance become higher or lower depend on source.
- [Deep Sleep Mode]: When [Deep Sleep Mode] is [On], power consumption is minimized while the monitor is in standby mode.
- [On]: Enables [Deep Sleep Mode].
- [Off]: Disables [Deep Sleep Mode].
- [Automatic Standby]: If there is no operation on the monitor for a certain period of time, the monitor will automatically switch to standby mode.
- [Input Compatibility Version]: You can set each input to match the supported version of the connected device.
- [Remote Setting]: Supports only the monitor remote control to operate in case of confusion with other remote controls.
- [Buzzer]: This feature lets you set the sound generated from Buzzer when your monitor powers on.
- [OSD Lock]: This feature disables the configuration and adjustment of menus.
- All features are disabled except [Brightness], [Contrast] in [Picture Adjust], [Input], [OSD Lock] and
- [Information] in [General].
- [Information]: The following display information will be shown; [Total Power On Time], [Resolution].
- [Reset to Initial Settings]: Returns to the default settings.
Important Information for Preventing Image Retention
Unlike regular LED/LCD monitors, pixels in the OLED monitors emit light on their own, achieving a perfect black and creating clear images without blurring of light. Image retention does not occur in normal use of the product, but can occur if the same screen is watched for a long time. Built-in features are available to protect the screen from possible image retention. If a static image persists on the screen, the screen saver will automatically lower the full screen brightness, and the screen will turn off automatically after a certain period of time. When an image change is detected, the brightness is automatically restored to its original state. This is not a malfunction of the product.
Examples of Images that may Cause Image Retention
- Static images or images containing objects/information that are constantly visible in a fixed position on the screen (e.g., icons on the desktop, fixed windows such as menus, or logos while watching broadcasts, etc.)
- Fixed menu/icon on a game console or set-top box
- Fixed menu on the top corner of the web browser
Recommendations For Preventing Image Retention
- [Screen Move] Moving the screen minutely at regular intervals helps to prevent panel noise caused by images that have been fixed for a long time.
- It is recommended to set > [OLED Care] > [Screen Move] to on.
- [Screen Saver] If there is no movement on the screen for a certain period of time, the screen turns off automatically. It is recommended to set > [OLED Care] > [Screen Saver] to on.
- [Image Cleaning] Corrects screen problems that may occur when the monitor is turned on for a long time. Calibration will take approximately 10 minutes to complete.
- It is automatically executed when entering power saving mode or turning off the power after more than 4 hours of use from the previous [Image Cleaning] completion.
- It can be operated manually in > [OLED Care] > [Image Cleaning].
- [Pixel Cleaning] Corrects pixel problems that may occur when the monitor is turned on for a long time. Calibration will take approximately 1 minute to complete.
- It is automatically executed when entering power saving mode or turning off the power after more than 500 hours of use from the previous [Pixel Cleaning] completion.
- It can be operated manually in > [OLED Care] > [Pixel Cleaning].
TROUBLESHOOTING
Nothing is displayed on the screen
- Is the monitor’s power cord plugged in?
- Check if the power cord is correctly plugged into the power outlet.
- If the monitor is in sleep mode (standby mode), move the mouse, or press any key on the keyboard, to switch the display on.
- Check if the computer is turned on.
- Is the monitor powered on?
- Check if the input setting is correct. ( > [Input])
- Is the [The screen is not currently set to the recommended resolution.] message being displayed?
- This occurs when signals transferred from the PC (graphics card) are out of the recommended horizontal or vertical frequency range of the monitor. Please see the PRODUCT SPECIFICATION section of this manual to set the appropriate frequency.
- Is the [No Signal] message being displayed?
- This is displayed when the signal cable between the PC and the monitor is missing or disconnected. Check the cable and reconnect it.
- Is the [Out of Range] message being displayed?
- This occurs when signals transferred from the PC (graphics card) are out of the horizontal or vertical frequency range of the monitor. Please see the PRODUCT
- SPECIFICATION section of this manual to set the appropriate frequency.
Do you see an “Unrecognized monitor, monitor found” message
- Have you installed the display driver?
- Be sure to install the display driver from our web site: http://www.lg.com.
- Make sure to check if the graphics card supports function.
Screen display is unstable and shaky. / Images displayed on the monitor leave shadow trails.
- Did you select the appropriate resolution?
- If the selected resolution is HDMI 1080i 60/50 Hz (interlaced), the screen may be flickering. Change the resolution to 1080p or the recommended resolution.
- Not setting the graphics card to the recommended (optimal) resolution may result in blurred text, a dimmed screen, a truncated display area or misalignment of the display.
- The setting methods may be different depending on the computer or operating system, and some resolutions may not be available depending on the performance of the graphics card. If this is the case,
- contact the manufacturer of the computer or graphics card for assistance.
- Are there spots on the screen?
- When using the monitor, pixilated spots (red, green, blue, white, or black) may appear on the screen. It is not an error, nor is it related to the monitor’s performance.
Some features are disabled
- Are some functions not available when you press ?
- The OSD is locked. Disable [OSD Lock] in [General].
No sound from the headset port.
- Are images displayed using DisplayPort or HDMI input without sound?
- Make sure that the headset port connections are made properly.
- Use the power button or the (Volume) button on the remote control to increase the volume.
- Set the audio output of the PC to the monitor you are using. (The settings may differ depending on the operating system (OS) you use.)
- Set [Sound Out] to [H/P out].
PRODUCT SPECIFICATION
Specifications are subject to change without notice. The symbol means alternating current, and the symbol means direct current.
Colour Depth:
- 8-bit/ 10-bit/ 12-bit colour is supported.
Resolution
- Max Resolution:
- 2560 x 1440 @ 240 Hz
- Recommended Resolution:
- 2560 x 1440 @ 240 Hz
AC/DC Adapter
- Model: ADS-120QL-19A-3 190110E
- Manufacturer: SHENZHEN HONOR ELECTRONIC CO., LTD.
- Output: 19 V 5.79 A
Environmental Conditions
- Operating Conditions
- Temperature: 0 °C to 40 °C
- Humidity: Less than 80 %
- Storing Conditions
- Temperature: -20 °C to 60 °C
- Humidity: Less than 85 %
Dimensions: Monitor Size (Width x Height x Depth)
- With Stand (mm): 604.4 x 574.4 x 258
- Without Stand (mm): 604.4 x 350.6 x 45.3
Weight (Without Packaging)
- With Stand (kg): 7.35 kg
- Without Stand (kg): 5.05 kg
Power Sources
- Power Rating: 19 V 5.0 A
- Power Consumption
- Operating Mode: 62.5 W (Typical)*
- Sleep Mode (Standby Mode): ≤ 0.5 W**
- The Operating Mode of Power Consumption is measured with LGE test standard. (Colour Bar pattern, Maximum resolution, Outgoing condition)
- The Power Consumption level can be different by operating condition and monitor setting.
- When not in use, the monitor goes to the sleep mode in a couple of minutes. (Max. 5 minutes)
Support Mode
(Preset Mode, HDMI / DisplayPort)
| Resolution | Horizontal Frequency (kHz) | Vertical Frequency (Hz) | Polarity (H/V) | Remarks |
| 640 x 480 | 31.469 | 59.94 | -/- | |
| 800 x 600 | 37.879 | 60.317 | +/+ | |
| 1024 x 768 | 48.363 | 60 | -/- | |
| 1280 x 720 | 45 | 60 | +/+ | |
| 1280 x 1024 | 79.976 | 75.025 | +/+ | |
| 1920 x 1080 | 67.5 | 60 | +/+ | |
| 2560 x 1440 | 88.79 | 59.95 | +/- | |
| 2560 x 1440 | 183.0 | 120.0 | +/- | |
| 2560 x 1440 | 218.29 | 143.99 | +/- | |
| 2560 x 1440 | 388.51 | 239.97 | +/- | Recommended Timing (HDMI/DisplayPort) HDMI2.1(PC) / DisplayPort1.4(DSC*) & DisplayPort1.4 |
HDMI Timing (Video)
| Resolution | Horizontal Frequency (kHz) | Vertical Frequency (Hz) |
| 640 x 480p | 31.5 | 60 |
| 1280 x 720p | 45 | 60 |
| 1920 x 1080p | 67.5 | 60 |
| 3840 x 2160p | 135 | 60 |
The model and serial number of the product are located on the back and on one side of the product. Record them below in case you ever need service.
www.lg.com Copyright 2022 LG Electronics Inc. All Rights Reserved.






























