PHILIPS Ambiance 929002375901 Bloom Table Lamp

INCLUDED PARTS

WARNINGS


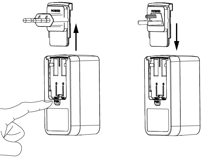
INSTALLATION

Signify
I.B.R.S. / C.C.R.I. Numéro 10461
5600 VB Eindhoven, the Netherlands
00800-74454775
929002375901 Hue Bloom gen4 EU/UK white
929002376001 Hue Bloom gen4 EU/UK black






















