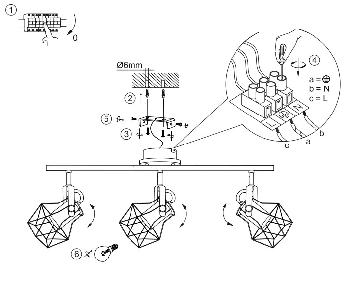
Paul Neuhaus 15673 Ceiling Light

Instructions

LeuchtenDirekt GmbH
Olakenweg 36 59457 Werl
Germany




LeuchtenDirekt GmbH
Olakenweg 36 59457 Werl
Germany
Download manual
Here you can download full pdf version of manual, it may contain additional safety instructions, warranty information, FCC rules, etc.