HAMRON 009028 Battery Powered Fuel Pump
SAFETY INSTRUCTIONS
- Follow the applicable health and safety regulations as well as good workshop practice.
- Wear safety glasses or a safety mask.
- Wear safety gloves to protect your skin against repeated and prolonged exposure to the liquids being handled.
- Check the product regularly and replace damaged and/or worn parts.
- Only use original spare parts. The use of other parts can result in personal injury and/or material damage. It will also invalidate the warranty.
- Keep the product clean and in good condition for best functionality and safety.
- Use the product only for its intended purpose.
- Do not expose the product to knocks and blows, or to careless handling.
- Do not carry the product by the hose.
- Do not use the product if it is defective or damaged, or if parts are missing.
SYMBOLS
![]() | Read the instructions. |
![]() | Approved in accordance with the relevant directives. |
![]() | Recycle discarded product in accordance with local regulations. |
TECHNICAL DATA
| regulations as well as good workshop | Flow | ≤ 5 l/min | |
| practice. | Battery | LR20 | |
| Wear safety glasses or a safety mask. | Length, outlet hose | 600 mm | |
| Wear safety gloves to protect your skin against repeated and prolonged exposure | Length, suction tube Length, total | 375 mm 625 mm | |
DESCRIPTION
Battery-driven pump for filling e.g. water, petrol, diesel, reducer such as AdBlue, as well as radiator and wiper fluid.
- Power switch
- Pump head
- Battery holder
- Outlet hose
- Suction tube

PARTS AFFECTED BY LIQUID
Polypropylene, polyethylene, nitrile rubber, stainless steel, polyvinyl chloride (PVC) and polyoxymethylene.
RECOMMENDED USE
The pump can be used with a variety of liquids such as petrol, diesel, water and reducing agents such as Adblue.
NOTE:
The product must never be used for e.g. acids, acetone or benzene.
HOW TO USE
- Turn the pump head anti-clockwise.

- Insert the batteries (1) as illustrated.

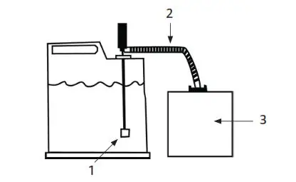
- Immerse the suction pipe’s inlet (1) below the surface of the liquid in the tank from which pumping is to take place, then insert the outlet hose (2) down into the tank (3) that is to be filled.

- Press the power switch. Turn off the pump with the power switch before the tank is overfilled.
WARNING!
The product must not be used for liquids hotter than 60°C.
IMPORTANT:
- Do not allow the product to run dry. Do not start the product until the suction tube’s inlet is below the surface of the liquid.
- Do not use the product for thinner or solvents.
- Do not use the product for hot water.
- Do not use the product for strong solvents or corrosive chemicals, such as acetone, benzene, cresol, ethanol, phenol, 1-methylethyl, concentrated sodium hydroxide, nitric acid, hydrochloric acid, sulphuric acid.
- Do not run the product upside-down after use.
- Remove the batteries when the product is not in use.
- Only use the product in a cool and well ventilated environment.
LOW LIQUID FLOW
A low liquid flow may be due to the batteries being discharged, in which case you should change the batteries, or to the liquid level in the storage tank being too low. Top up if necessary.
MAINTENANCE
- Remove the batteries when the product is not in use.
- Wipe the spout clean of contaminants and debris every week.



























