HAMRON 025376 Automatic Charging Relay

Product Information
- Manufacturer: JULA AB
- Model Number: 025376
- Rated Voltage: 12 VDC
- Connection/Disconnection Voltage: 13.3/12.8 VDC
- Voltage Detection: Single sense
- Max Load: 140 A
Power Consumption (Charging): 250 mA - Power Consumption (Standby): 10 mA
- Size: 6.8 x 6.8 x 5.7 cm
Product Usage Instructions
- Before using the product, carefully read the user instructions provided.
- Save the user instructions for future reference.
- To access the latest version of the operating instructions, visit www.jula.com.
- Ensure that the product is used in accordance with the safety instructions and symbols provided.
- The product is designed to regulate voltage peaks during motor start-up.
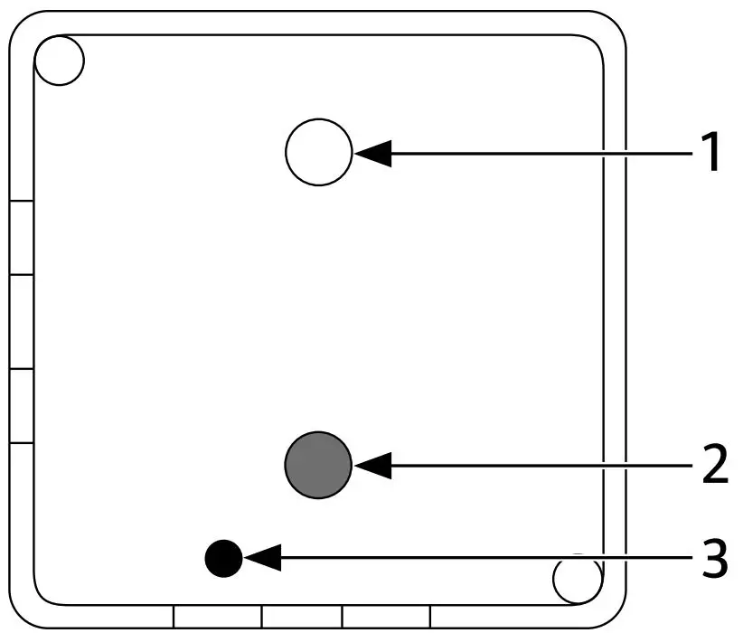
- Connect the positive terminal of the replacement battery to terminal 1.
- Connect the positive terminal of the starter battery to terminal 2.
- Connect the earth to terminal 3.
- Refer to Figure 1 for a visual representation of the parts and connections.
- The product is approved in accordance with relevant directives.
- Discarded products should be recycled in accordance with local regulations. Note: Please refer to the complete user manual for detailed instructions and safety guidelines.
| SAFETY INSTRUCTIONS | |
| SYMBOLS | |
![]() | Read the instructions. |
|
| Approved in accordance with the relevant directives. |
![]() | Recycle discarded product in accordance with local regulations. |
TECHNICAL DATA
- Rated voltage 12 VDC
- Connection/disconnection voltage 13.3/12.8 VDC
- Voltage detection single sense
- Max load 140 A
- Power consumption charging 250 mA
- Power consumption standby 10 mA
- Size 6.8 x 6.8 x 5.7 cm
DESCRIPTION
- Makes it easy to charge both batteries in a 2-battery system at the same time.
- Protects electronics connected to replacement battery from voltage spikes when starting engine.
- Fully automatic.
Voltage sensitive relays (VSR) make it possible to charge both batteries in a 2-battery installation at the same time. When the engine has started and the battery voltage reaches 13.3 V the VSR is activated and lets the starter battery and replacement battery charge at the same time. When the voltage drops below 12.8 V (e.g. when the engine is switch off) VSR disconnects both batteries. This not only eliminates the risk that the wrong battery is discharged, but also prevents voltage spikes from damaging sensitive electronics connected to the replacement battery when the engine starts.
FUNCTIONAL DESCRIPTION VSR
When the battery voltage rises over 13.3 VDC, VSR connects both batteries in parallel and allows them to
be charged at the same time. When the battery voltage drops below 12.8 VDC, VSR disconnects both batteries. An audio prompt is given when the relay quickly connects and disconnects the batteries. Disconnection can take place when idling (low charging from the alternator as a result of low revs), or if the charge level in the replacement battery is low. In which case increase the engine revs to get the alternator to charge more and maintain the voltage.
PARTS
- Positive terminal replacement battery
- Positive terminal starter battery
- Earth
























