1.5L PYRAMID
KETTLE

![]()
Welcome
Thank you for choosing this Goodmans product. We’ve been making electrical products for the British people for 90 years. Each of our projects has been carefully designed to be great at what it does and this one is no exception. We hope you enjoy your new kettle.
Your Kettle
In The Box
Carefully remove your kettle from the box.
- Kettle
- Base
- Instruction Manual
General Safety
- Ensure that you read all of the safety instructions before using this product.
- This product has been designed and manufactured to meet European safety standards, but like any electrical equipment, care must be taken if you are to obtain the best results and safety is to be assured.
- Do read the operating instructions before you attempt to use the product.
- Do ensure that all electrical connections (including the mains plug, extension leads, and interconnections between pieces of equipment) are properly made in accordance with the instructions.
- Switch off and remove the main plug or mains adapter when making or changing any connections.
- Do consult your dealer if you are ever in doubt about the installation, operation, or safety of your product.
- Don’t remove any fixed covers as this may expose you to dangerous voltages.
- Don’t continue to operate the product if you are ever in doubt about it working normally, or if it is damaged in any way. Switch it off, withdraw the plug from the mains and consult your dealer.
- There are no user-serviceable parts in the product. When servicing, refer to qualified service personnel.
- Don’t leave the product switched on when it is unattended for long periods of time unless it is specifically stated that it is designed for unattended operation or has a standby mode.
- Don’t obstruct the ventilation vents on the product, for example with curtains or soft furnishings, as this may cause overheating.
- Do not place the product in closed bookcases or racks without proper ventilation.
- Do not use the product in humid or damp conditions or allow it to be exposed to rain or moisture.
- Store the product in a clean, dry environment.
- The product shall not be exposed to dripping or splashing and no objects filled with liquids, such as vases, shall be placed on it.
- Position the power cable and other connected cables so that they are not likely to be walked on, pinched or where items can be placed on or against them.
- Never allow children to insert foreign objects into holes or slots on the product.
- No naked flame sources, such as lighted candles, should be placed on the product.
- Make sure that other people in your household are conversant with the operation of the product.
Product Safety
- Do not immerse the appliance in any liquids.
- If the supply cord is damaged, it must be replaced by its service agent or a similarly qualified person in order to avoid a hazard.
- Keep the appliance and its cord out of reach of children aged below 8 years.
- The kettle is only to be used with the stand provided.
- If this kettle is filled above the maximum level mark, hot water may be ejected from the spout during boiling.
- Cleaning and user maintenance should not be made by children unless they are older than 8 years and be supervised.
- Before connecting the kettle to the power supply, check that the voltage indicated on the appliance corresponds with the voltage in your home.
- The attached base cannot be used for other than intended use.
- Do not operate the appliance without water to avoid damaging the heating elements.
- Unplug from the outlet when not in use.
- Do not let the cord hang over the edge of the table counter or touch a hot surface.
- Do not place on or near a hot gas or electric burner or in a heated oven.
- Should you accidentally allow the kettle to operate without water, the boil-dry protection will automatically switch it off. If this should occur, allow the kettle to cool before filling with cold water and re-boiling.
- Ensure that kettle is used on a firm and flat surface where children can’t touch, this can prevent from overturning the kettle to damage the person or kettle.
- Always take care to pour boiling water slowly and carefully without tipping the kettle too fast.
- Be careful when opening the lid for refilling when the kettle is hot.
- Close supervision is necessary when any appliance is used by or near children.
- Do not touch the hot surface. Use the handle or the button.
- Extreme caution must be used when moving an appliance containing hot water.
- The appliance is not a toy. Do not let the children play with it.
- The use of attachments that are not recommended by the appliance manufacturer may result in fire, electric shock, or personal injury.
- Beware of steam coming from the spout or lid, especially during refilling.
- Unplug from outlet when not in use and before cleaning; Allow it to cool before putting on or taking off parts and before cleaning the appliance.
- Always ensure the lid is closed and do not lift it while the water is boiling. Scalding may occur if the lid is removed during the brewing cycles.
- Do not use the appliance for other than intended use.
- This appliance can be used by children aged 8 years and above and persons with reduced physical, sensory or mental capabilities or lack of experience and knowledge if they have been given supervision or instruction concerning the use of the appliance in a safe way and understand the hazards involved.
- Always unplug the kettle from the main supply socket and allow it to completely cool down before cleaning or descaling it.
- This appliance is intended to be used in household and similar applications such as:
– staff kitchen areas in shops, offices, and other working environments;
— farmhouses;
– by clients in hotels, motels, and other residential type environments;
– bed and breakfast type environments
Caution: Hot Surface
Description Of Parts

- Spout
- Main body
- Base
- Handle
- Lid
- Water level gauge
- On/Off switch with indicator light
Using your Kettle
- If you are using the kettle for the first time, it is recommended that you clean your kettle before use by boiling a full kettle of water twice and then discarding the water.
- With the kettle switched off, plug the base into a suitable power outlet.
- Open the lid of the kettle and fill the kettle with water. Don’t overfill the kettle.
- Make sure that the lid is closed correctly to ensure safe operation then switch the kettle on by pressing the on/off switch to the down position.
- You may also switch the kettle off at any time by lifting the on/off switch to the up position.
Always use caution when carrying the kettle when it is full of boiling water and when pouring it.
Energy Saving Hints and Tips
Your kettle, if used correctly is a very energy-efficient device. Why not try some of these energy-saving tips:
- Only boil the water you need. Overfilling your kettle with one cup is the equivalent of using an energy-saving light bulb for one hour.
- It is not always necessary to re-boil your kettle. For example, one liter of water will still be at 90℃ after five minutes – the perfect temperature for a cup of coffee.
If the Kettle Boils Dry
If the kettle is operated with insufficient water, a built-in fail-safe device will automatically switch off the kettle.
- Unplug the kettle and allow it to cool. When the kettle has cooled down sufficiently the device will reset itself.
- Once the device has reset, refill the kettle with cold water and use it as normal.
WARNING: DO NOT OVERFILL THE KETTLE.
CAUTION: Wait until the kettle has stopped boiling for a few seconds then carefully pour water into your cup.
Cleaning and Maintenance
Before cleaning, switch off the kettle, unplug from power socket and allow it to cool completely.
Clean the exterior surface of the kettle with a damp cloth and then polish with a soft dry cloth. Do not use steel wool pads or harsh/abrasive cleaners.
Cleaning the Filter
- Open the lid and remove the filter from behind the spout.
- Rinse the filter under a tap whilst brushing it with a soft brush.
- In hard water areas, it may be necessary to descale the filter using a descaling agent.
Descale your kettle regularly to keep it working efficiently.
Use a proprietary descaling product following the manufacturer’s instructions carefully. - Never operate the kettle without the filter fitted.
Removal of mineral deposits
Mineral deposits in tap water may cause the kettle interior to discolor. To remove this build-up, use a liquid descaler, a simple to use non-toxic cleaner.
Alternatively:
- Fill the kettle with 3 cups of White Vinegar and top up with water and leave overnight. Do not boil.
- Empty the solution from the kettle. Any stains remaining inside the spout can be removed by rubbing with a damp cloth, filling the kettle with clean water, bring to boil, and then discarding the water. Repeat and the kettle will then be ready to use.
Electrical information
(Fixed Mains Plug Only)
The mains lead supplied with this product is fitted with a BS1363/A 13 amp plug. If it is not suitable for your supply sockets it must be replaced with an appropriate plug.
If the plug becomes damaged and/or needs to be replaced please follow the wiring instructions on the next page. The plug removed must be disposed of immediately. It must not be plugged into a supply socket as this will be an electrical hazard.
If the fuse needs to be replaced it must be of the same rating and ASTA approved to BS1362.
If the plug is changed, a fuse of the appropriate rating must be fitted in the plug, adapter or at the distribution board. If the fuse in a moulded plug is replaced, the fuse cover must be refitted before the appliance can be used.
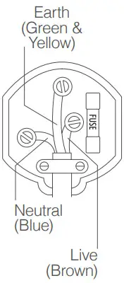
Wiring Instructions
The supply cable will be either 2-core or 3-core. Follow the appropriate wiring instructions shown. In both cases ensure that the outer sheath of the cable is firmly held by the cable clamp.
Electrical Information (Power adapters only)
Never open the power adapter, you risk getting an electric shock.
Only use the power adapter that is supplied with your product.
You must always connect the power adapter to the product before connecting to the main power supply.
The power adapter must be used indoors only, and must not be subjected to damp conditions.
The power adapter does not have any user-serviceable parts.
2-core plug

WARNING: Do not connect either wire to the earth terminal.
This symbol indicates that this 2-core appliance is Class II and does not require an earth connection.
The wire colored blue must be connected to the terminal marked with the letter N or colored black.
The wire colored brown must be connected to the terminal marked with the letter L or colored red.

3-core plug

WARNING: This appliance must be earthed.
The wire colored green and yellow must be connected to the terminal marked with the letter E, or by the earth symbol, or colored green or green and yellow.
The wire colored blue must be connected to the terminal marked with the letter N or colored black. The wire colored brown must be connected to the terminal marked with the letter L or colored red.

Guarantee
This product is guaranteed for twelve months from the date of original purchase.
You will need to have your receipt or purchase to hand.
The guarantee is subject to the following provisions:
- It is only valid within the boundaries of the country of purchase.
- The product must be correctly installed and operated in accordance with the instructions contained in the User Manual.
- The product must be used solely for domestic purposes.
- The guarantee will be rendered invalid if the product is re-sold or has been damaged by inexpert repair.
- The manufacturer disclaims any liability for incidental or consequential damages.
- The guarantee is in addition to and does not diminish, your statutory or legal rights.
Technical Specification
| Model Number | 354912/359432/359433/371131 |
| Power Supply | 220-240V-50-60Hz |
| Power | 2520-3000W |
| Capacity | 1.5 Litres |
This appliance complies with the below listed EU Directives
2014/30/ EU Electromagnetic Compatibility Directive
2014/35/ EU Low Voltage Directive
2011/65/ EU Restriction of Hazardous Substances
1935/2004/EC Materials & Articles in Contact with Food
The complete declaration of conformity is available upon request for relevant inquiries.

Information on Waste Disposal for Consumers of Electrical & Electronic Equipment
This mark on a product and/or accompanying documents indicates that when it is to be disposed of, it must be treated as Waste Electrical & Electronic Equipment (WEEE). Any WEEE marked waste products must not be mixed with general household waste, but kept separate for the treatment, recovery, and recycling of the materials used. For proper treatment, recovery and recycling; please take all WEEE marked waste to your Local Authority Civic waste site, where it will be accepted free of charge. If all consumers dispose of Waste Electrical & Electronic Equipment correctly, they will be helping to save valuable resources and prevent any potential negative effects upon human health and the environment, of any hazardous materials that the waste may contain.

Imported by B&M Retail Limited, Dakota Drive L24 8RJ, UK
Centz Stores 7 Limited, 5 Old Dublin Rd, Dublin A94 K1H5, Ireland


















