Luceco T8 LED ECO Climate with IP65 Anti-Corrosive

Product Code
NOTE – To comply with regulations, installation must be carried out by a suitably qualified competent person and in accordance with the current IEE Wiring Regulations [857671) and Building Regulations. A copy of the instructions must be left for the user/maintenance engineer for future reference. For non-UK, please refer/consult local requirements ENSURE ELECTRICAL SUPPLY IS DISCONNECTED/ ISOLATED BEFORE COMMENCING INSTALLATION
ASSEMBLY AND INSTALLATION
ACCESSORIES:

This luminaire is made from polycarbonate with polycarbonate clips. Ensure the product is suitable for the installation area. This Luminaire is suitable for use in temperatures of -10°C to +40°C. Surface-mounted only. Disconnect the power supply before installation.
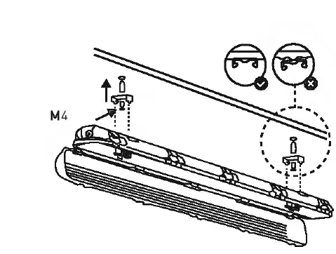
- Fix plastic retainer clips to bottom fitting housing.

- Remove gear tray by rotating holders or releasing fixing clips. Lift to remove.
- Fix lamp holders from the rear of the gear tray [the two wired to the terminal block and the two included in the accessories pack to be installed at opposite ends.)
- Drill the fixing holes at a suitable place for installation [wall/ceiling) fix the body to the fixing clips.

- Fit cable gland and suitable cable through gland entry at end of the base. Ensure the hole is removed of burrs to ensure IP65 seal.

- Connect to a 3way terminal block on the underside of the gear tray, and ensure correct polarity.

- Refit gear tray, and ensure security, refit T8 LED tubes, and rotate.
Note ensure the powered end of the tube, Is inserted into the correct end, with powered lamp holders. - Refit diffuser and secure all clips.

- Re-initiate power and operate as required.
ADDITIONAL INFORMATION COMPONENT REPLACEMENT
- This product is fitted with single-ended Luceco LED T8 tubes. When replacing tubes, ensure they are replaced with Luceco LED T8 tubes.
United Kingdom Warranty
For other territories and for further information, please see www. Lucero.UK for details Products are protected for a period of 2 years warranty from date of purchase against defects in material and workmanship (unless otherwise stated). Should a product fail to perform as described within the warranty period it will be repaired or replaced with the same or equivalent product by Luceco, free of charge provided that you: [1) return the product to us with shipping charge prepaid, (2) provide us with proof of the original date of purchase and (3] quote our return authorization number. Repaired or replaced products will be returned to you with shipping charges prepaid. Replacement products may be refurbished or contain refurbished materials. If in our sole discretion, we are unable to repair or replace a defective product, we will refund the purchase price of the product.
This warranty will not apply if in our judgment, the product fails due to damage in shipment, handling, storage, accident, abuse or misuse, or if it has been used in a manner not conforming to our product instructions, has been modified in any way, or has any serial number removed or defaced. Repair or attempted repair will void this warranty. Our maximum liability under the terms of this warranty is limited to the purchase price of the product covered by the warranty. The warranty is given under English Law. If any part of this warranty is deemed unenforceable including any provision in which we exclude our liability to you) the enforceability of any other parts of the warranty will not be affected. These terms do not reduce your statutory rights. For Non-UK please contact the Local Luceco Office for details. THESE TERMS AND CONDITIONS ARE SUBJECT TO CHANGE WITHOUT PRIOR NOTICE.
Eventually, you may want to replace this fitting:
Environmental Protection W.E.E.E (Wheelie Bin Symbol for EU ONLY This symbol is known as the “crossed-out” Wheelie Bin Symbol”. When this symbol is marked on a product or battery, It means that it should not be disposed of with your general household waste. Some chemicals contained within electrical/electronic products or batteries can be harmful to health and the environment. Only dispose of electrical/electronic/battery items in separate collection schemes, which cater for the recovery and recycling of materials contained within. Your co-operation is vital to ensure the success of these schemes and for the protection of the environment.
Tech Help Line
UK-0330 0249 279 Non-UK-+44 [0]1952 238 100 Supplied by LUCECO Stafford Park 1, Telford, Shropshire, England, TF3 3BD Visit our website at www.luceco.com
Kontakt
UK-0330 0249 279 Non UK-+49 40 89066 878 – 29 [Fax) Geliefert von Luceco GmbH Holstenplatz 20b, 22765 Hamburg DEUTSCHLAND Besuchen Sie uns auf www.luceco.de
Support Technique
UK – 0330 0249 279 Non UK-+33 (0)1 61 10 10 35 Notice fournie par Luceco SAS France & Belux 3 Rue de Courtalin, Magny Le Hongre 77700 FRANCE&BELUX Visitez note site Web www.luceco.fr
Servicio de asistencia telefónica
UK-0330 0249 279 Non UK- +34 93 829 55 74 EU) Luceco SE C/ Bobinadora 1-5 08302 Mataró Barcelona Spain Visite nuestra web en www.luceco.comn
Assistenza tecnica telefonica
UK-0330 0249 279 Non UK-+39 0434 1696795 Fornito da BG Electrical Ltd Nexus Italia, Via Amman 10 33170 Pordenone, Italy Visitate il nostro sito www.luceco.com




Note ensure the powered end of the tube, Is inserted into the correct end, with powered lamp holders.
















