

Operating Instructions
LED TV
Model No.
TH-55JX950Z
TH-65JX950Z(image: TH-65JX950Z)
TH-55JX950Z LED TV
For more detailed instructions, please refer to [eHELP] (Built-in Operating Instructions).
- How to use [eHELP]
(p. 20)
Thank you for purchasing this Panasonic product.
Please read these instructions carefully before operating this product and retain them for future reference.
Please carefully read the “Safety Precautions” of this manual before use.
The images shown in this manual are for illustrative purposes only.




TQB4GA0015
patentlist.hevcadvance.com
The terms HDMI, HDMI High-Definition Multimedia Interface, and the HDMI Logo are trademarks or registered trademarks of HDMI Licensing Administrator, Inc.
Dolby, Dolby Vision, Dolby Vision IQ, Dolby Atmos, Dolby Audio, and the double-D symbol are trademarks of Dolby Laboratories Licensing Corporation.
Manufactured under license from Dolby Laboratories.
Confidential unpublished works.
Copyright © 1992-2020 Dolby Laboratories.
All rights reserved.
WPA3™, WPA2™, WPA™ are trademarks of Wi-Fi Alliance®.
The Bluetooth® word mark and logos are registered trademarks owned by Bluetooth SIG, Inc. and any use of such marks by Panasonic Corporation is under license.
x.v.Colour™ is a trademark.
DiSEqC™ is a trademark of EUTELSA
DVB and the DVB logos are trademarks of the DVB Project.
Google is a trademark of Google LLC.
Amazon, Prime Video and all related logos are trademarks of Amazon.com, Inc. or its affiliates.
This product complies with the UHD Alliance Technical Specification: UHDA Specified Reference Mode, Version
1.0. FILMMAKER MODE™ logo is a trademark of the UHD Alliance, Inc. in the United States and other countries.
© 2020 Advanced Micro Devices, Inc. All rights reserved.
AMD and FreeSync and combinations thereof are trademarks of Advanced Micro Devices, Inc.
- For information about the trademarks, refer to [eHELP] (Search by Purpose > Read first > Before use > Licence).
The illustration for TH-65JX950Z is used in this manual unless otherwise mentioned.
Illustrations shown may be different between models and countries.
Important Notice
Installing environment
This TV has “Space Tune” function which can adjust the sound quality automatically according to TV and viewer’s position. With the left-right speakers and the Upwardfiring speakers using the upward-resonance against the ceiling, the spatial sound space can be achieved. The adjustment of the “Space Tune” function automatically starts when the TV is turned on for the first time after installing this TV and connecting with the external equipment. Follow the on-screen instructions for setting.
(p. 18)
“Space Tune” can be adjusted with [Space Tune Auto] which adjusts automatically by using the voice control microphone on the remote control to measure and analyse a test tone played back, or with [Preset Adjustment] where you enter the TV’s installation environment and the sound quality is adjusted accordingly.
- A loud sound (test tone) is output while setting with [Space Tune Auto].
- This function is effective only for the sound from TV speakers.
- The effect varies depending on the installing environment.
<Example>

A: Upward-firing speakers
B: Left-right speakers
Internet apps, voice control function are provided by their respective service providers, and may be changed, interrupted, or discontinued at any time.
Panasonic assumes no responsibility and makes no warranty for the availability or the continuity of the services.
Panasonic does not guarantee operation and performance of peripheral devices made by other manufacturers; and we disclaim any liability or damage arising from operation and/or performance from usage of such other maker’s peripheral devices.
Damages
Excepting cases where responsibility is recognized by local regulations, Panasonic accepts no responsibility for malfunctions caused by misuse or use of the product, and other problems or damages caused by use of this product.
Handling of customer information
Certain customer information such as IP address of your device (this TV)’s network interface will be collected as soon as you connect your Panasonic-branded smart television (this TV) or other devices to the internet (excerpted from our privacy policy). We do this to protect our customers and the integrity of our Service as well as to protect the rights or property of Panasonic. If you wish to know more about the processing of your information in this context, please refer to the full text of our privacy policy displayed at [eHELP] (Search by Purpose > Network > Network settings > Terms of Service and Settings).
When using Internet connecting function of this TV, after agreeing (in the jurisdictions where customer’s consent is required to collect personal information under applicable privacy laws) to or reviewing Panasonic’s terms of service / privacy policy (hereinafter referred to as terms and conditions etc.), customer information on the use of this unit may be collected and used according to terms and conditions etc.
For details of terms of service / privacy policy, refer to [eHELP] (Search by Purpose > Network > Network settings > Terms of Service and Settings).
Customer’s personal information may be recorded on this TV by broadcasting organization or application provider. Before repairing, transferring or discarding this TV, erase all the information recorded on this TV according to the following procedure.
[eHELP] (Search by Purpose > Functions > Shipping Condition)
Customer information may be collected by provider via application provided by third parties on this TV or website. Please confirm the terms and conditions etc. of provider in advance.
- Panasonic will not be held responsible for collecting or using customer information via application provided by third party on this TV or website.
- When entering your credit card number, name, etc., pay special attention to the trustworthiness of the provider.
- Registered information may be registered in the server etc. of provider. Before repairing, transferring or discarding this TV, be sure to erase the information according to the terms and conditions etc. of provider.
The recording and playback of content on this or any other device may require permission from the owner of the copyright or other such rights in that content. Panasonic has no authority to and does not grant you that permission and explicitly disclaims any right, ability or intention to obtain such permission on your behalf. It is your responsibility to ensure that your use of this or any other device complies with applicable copyright legislation in your country. Please refer to that legislation for more information on the relevant laws and regulations involved or contact the owner of the rights in the content you wish to record or playback.
This product is licensed under the AVC patent portfolio license for the personal use of a consumer or other uses in which it does not receive remuneration to (i) encode video in compliance with the AVC Standard (“AVC Video”) and/or (ii) decode AVC Video that was encoded by a consumer engaged in a personal activity and/or was obtained from a video provider licensed to provide AVC Video. No license is granted or shall be implied for any other use.
Additional information may be obtained from MPEG LA, L.L.C.
See http://www.mpegla.com.
Panasonic and its affiliates make no representations or warranties of any kind with respect to the USB devices and the performance of communication between the USB devices and the USB port of Panasonic products, and expressly disclaims any and all warranties, whether express or implied or otherwise, including without limitation any implied warranty of fitness for a particular purpose, any loss of data, and any implied warranties arising from course of dealing or course of performance of data communication between the USB devices and the USB port of Panasonic products.
Transport only in upright position.
This mark indicates the product operates on AC voltage.
This mark indicates a Class II or double insulated electrical appliance wherein the product does not require a safety connection to electrical earth (ground).
Safety Precautions
To help avoid risk of electrical shock, fire, damage or injury, please follow the warnings and cautions below:
■ Mains plug and lead
Warning
If you detect anything unusual, immediately remove the mains plug.

- This TV is designed to operate on AC
220-240 V, 50 / 60 Hz. - Insert the mains plug fully into the mains socket.
- To turn Off the apparatus completely, you must pull the mains plug out of the mains socket. Consequently, the mains plug should be easily accessible at all times.
- Disconnect the mains plug when cleaning the TV.
- Do not touch the mains plug with wet hands.

- Do not damage the mains lead.
- Do not place a heavy object on the lead.

- Do not place the lead near a high temperature object.
- Do not pull on the lead.
Hold onto the mains plug body when disconnecting the plug. - Do not move the TV with the lead plugged into a mains socket.
- Do not twist the lead, bend it excessively or stretch it.
- Do not use a damaged mains plug or mains socket.
- Ensure the TV does not crush the mains lead.
- Do not place a heavy object on the lead.
■ Take care
Warning
- Do not remove covers and never modify the TV yourself as live parts are accessible and risk of electric shock when they are removed. There are no user serviceable parts inside.

- Do not expose the TV to rain or excessive moisture. This TV must not be exposed to dripping or splashing water and objects filled with liquid, such as vases, must not be placed on top of or above the TV.

- Do not insert foreign objects into the TV through the air vents.
- If the TV is used in an area where insects may easily enter the TV.
It is possible for insects to enter the TV, such as small flies, spiders, ants, etc. which may cause damage to the TV or become trapped in an area visible on the TV, e.g. within the screen. - Do not use an unapproved pedestal / mounting equipment. Be sure to ask your local Panasonic dealer to perform the setup or installation of approved wall-hanging brackets.
- Do not apply any strong force or impact to the display panel.
- Ensure that children do not climb on the TV.
- Do not place the TV on sloping or unstable surfaces, and ensure that the TV does not hang over the edge of the base.

Warning Stability Hazard
A TV may fall, causing serious personal injury or death. Many injuries, particularly to children, can be avoided by taking simple precautions such as:
- ALWAYS use cabinets or stands or mounting methods recommended by the manufacturer of the TV.
- ALWAYS use furniture that can safely support the TV.
- ALWAYS ensure the TV is not overhanging the edge of the supporting furniture.
- ALWAYS educate children about the dangers of climbing on furniture to reach the TV or its controls.
- ALWAYS route cords and cables connected to your TV so they cannot be tripped over, pulled or grabbed.
- NEVER place a TV in an unstable location.
- NEVER place the TV on tall furniture (for example, cupboards or bookcases) without anchoring both the furniture and the TV to a suitable support.
- NEVER place the TV on cloth or other materials that may be located between the TV and supporting furniture.
- NEVER place items that might tempt children to climb, such as toys and remote controls, on the top of the TV or furniture on which the TV is placed.
If the existing TV is going to be retained and relocated, the same considerations as above should be applied.
- This TV is designed for indoor use.
- This TV is designed for table-top use.
- Do not expose the TV to directsunlight and other sources of heat.

To prevent the spread of fire, keep candles or other open flames away from this product at all times
■ Suffocation / Choking Hazard
Warning
● The packaging of this product may cause suffocation, and some of the parts are small and may present a choking hazard to young children. Keep these parts out of reach of young children.
■ Pedestal
Warning
- Do not disassemble or modify the pedestal.
- Caution
- Do not use any pedestal other than the one provided with this TV.
- Do not use the pedestal if it becomes warped or physically damaged. If this occurs, contact your nearest Panasonic dealer immediately.
- During setup, make sure that all screws are securely tightened.
- Ensure that the TV does not suffer any impact during installation of the pedestal.
- Ensure that children do not climb onto the pedestal.
- Install or remove the TV from the pedestal with at least two people.
- Install or remove the TV according to the specified procedure.
■ Built-in wireless LAN
Caution
- Do not use the built-in wireless LAN to connect to any wireless network (SSID*) for which you do not have usage rights. Such networks may be listed as a result of searches. However, using them may be regarded as illegal access.
SSID is a name for identifying a particular wireless network for transmission. - Do not subject the built-in wireless LAN to high temperatures, direct sunlight or moisture.
- Data transmitted and received over radio waves may be intercepted and monitored.
- The built-in wireless LAN uses 2.4 GHz and 5 GHz frequency bands. To avoid malfunctions or slow response caused by radio wave interference when using the built-in wireless LAN, keep the TV away from other devices that use 2.4 GHz and 5 GHz signals such as other wireless LAN devices, microwave ovens, and mobile phones.
- When problems occur due to static electricity, etc., the TV might stop operating to protect itself. In this case, turn the TV off at the Mains power On / Off switch,
then turn it back on.
■ Bluetooth® wireless technology
Caution
- The TV and the remote control use the 2.4 GHz radio frequency ISM band (Bluetooth ®). To avoid malfunctions or slow response caused by radio wave interference, keep the TV and the remote control away from the devices such as other wireless LAN devices, other Bluetooth® devices, microwaves, mobile phones and the devices that use 2.4 GHz signal.
■ Ventilation
Caution
Allow sufficient space (at least 10 cm) around the TV in order to help prevent excessive heat, which could lead to early failure of some electronic components.


- Ventilation should not be impeded by covering the ventilation openings with items such as newspapers, tablecloths and curtains.
- Whether you are using a pedestal or not, always ensure the vents at the bottom of the TV are not blocked and there is sufficient space to enable adequate ventilation.
■ Moving the TV
Caution
Before moving the TV, disconnect all cables.
- At least two people are required to move the TV to prevent injury that may be caused by the tipping or falling of TV.
- Do not hold the screen part as shown below when moving the TV. This may cause malfunction or damage.
How to carry the TV.
(p. 9)

■ When not in use for a long time
Caution
This TV will still consume some power even in the Off mode, as long as the mains plug is still connected to a live mains socket.
- Remove the mains plug from the wall socket when the TV is not in use for a prolonged period of time.

■ Excessive volume
Caution
- Do not expose your ears to excessive volume from the headphones. Irreversible damage can be caused.
- If you hear a drumming noise in your ears, turn down the volume or temporarily stop using the headphones.
■ Battery for the Remote Control
Warning
- Keep the batteries out of reach of children to prevent swallowing.
Adverse physical effects can result if accidentally swallowed. If you suspect a child has swallowed one, seek medical attention immediately.
Caution
- Incorrect installation may cause battery leakage, corrosion and explosion.
- Replace only with the same or equivalent type.
- Do not mix old and new batteries.
- Do not mix different battery types (such as alkaline and manganese batteries).
- Do not use rechargeable batteries (Ni-Cd, etc.).
- Do not burn or break up batteries.
- Do not expose batteries to excessive heat such as sunshine, fire or the like.
- Make sure you dispose of batteries correctly.
- Remove the battery from the unit when not using for a prolonged period of time to prevent battery leakage, corrosion and explosion.
Accessories
Standard accessories
Remote Control
(p. 16)
● N2QBYA000046
Pedestal
(p. 8)
Mains lead
(p. 12)
Batteries (2) (p. 17)
● LR03
Operating Instructions with Warranty statement
Fall-prevention parts
(p. 10)
● Accessories may not be placed all together. Take care not to throw them away unintentionally.
Installing the TV
A. Pedestal

B. Assembly screw (4)

M4 × 15 (mm)
C. Cable cover

Preparations
- Do not hold the screen panel part.
- Make sure not to scratch or break the TV.
Assembling the pedestal
- Insert the pedestal firmly, otherwise it may come off when setting up the TV.
- Do not assemble the pedestal by any method other than those specified below.

Attaching the cable cover
- Be careful not to nip the cables between the TV and the cable cover.
- Do not apply load to the cable cover.

- To remove from the TV:

Adjusting the panel to your desired angle
- Do not place any objects within the full rotation range.

Removing the pedestal
Be sure to remove the pedestal in the following procedures when you use the wall-hanging bracket or repack the TV.
- Remove the cable cover C.
- Remove the assembly screws B from the pedestal.
- Pull out the pedestal from the TV.
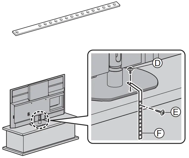
Preventing the TV from falling over
It is recommended to secure the pedestal to a furniture as shown to prevent the TV from falling over.
- This information is designed to reduce the risk of injuries caused by the TV falling over. However, no measure can guarantee protection in all cases.

Attaching the fall-prevention parts
D. Screw (1)

E. Wood screw (1)
F. Band (1)

Installing the wall-hanging bracket
Please contact your local Panasonic dealer to purchase the recommended wall-hanging bracket.
- Holes for wall-hanging bracket installation

Warning
- Using other wall-hanging brackets, or installing a wall-hanging bracket by yourself have the risk of personal injury and product damage. In order to maintain the unit’s performance and safety, be absolutely sure to ask your dealer or a licensed contractor to secure the wall-hanging brackets. Any damage caused by installing without a qualified installer will void your warranty.
- Carefully read the instructions accompanying optional accessories, and be absolutely sure to take steps to prevent the TV from falling off.
- Handle the TV carefully during installation since subjecting it to impact or other forces may cause product damage.
- Take care when fixing wall brackets to the wall. Always ensure that there are no electrical cables or pipes in the wall before hanging bracket.
- To prevent fall and injury, remove the TV from its fixed wall position when it is no longer in use.
Connections
- External equipment and cables shown are not supplied with this TV.
- Please ensure that the unit is disconnected from the mains socket before attaching or disconnecting any cables.
- Check the terminal type and cable plugs are correct for connection.
- Use a fully wired HDMI compliant cable.
- Keep the TV away from electronic equipment (video equipment, etc.) or equipment with an infrared sensor, otherwise distortion of image / sound may occur or operation of other equipment may be affected.
- Please also read the manual of the equipment being connected.
Terminals

- Model name plate
- Headphone / Subwoofer jack (3.5 mm stereo mini plug)
- USB 2 – 3 port
This symbol indicates DC operation. - HDMI 4
- DIGITAL AUDIO OUT
- ETHERNET terminal
● Use Shielded Twist Pair (STP) LAN cable. - AV IN
- HDMI 1 – 3
- USB 1 port
This symbol indicates DC operation. - Satellite terminal
- Aerial terminal
Basic connections
■ AV devices
(DVD Recorder / Blu-ray Recorder, Set top box, etc)
- For details, refer to [eHELP] (Search by Purpose >Watching > Basic > Basic connection).
■ Aerial

TV
- RF cable
- Aerial
- For Digital TV, Analogue TV
- Keep RF (aerial) cable away from the mains lead to avoid and minimise mains interference pickup.
- Do not place the RF cable under the TV.
- An aerial, correct cable (75 Ω coaxial) and correct terminating plug are required to obtain optimum quality picture and sound.
- If a communal aerial system is used, you may require the correct connection cable and plug between the wall aerial socket and the TV.
- Your local Television Service Centre or dealer may be able to assist you in obtaining the correct aerial system for your particular area and the accessories required.
- Any matters regarding aerial installation, upgrading of existing systems or accessories required, and the costs incurred, are the responsibility of you, the customer.
■ Mains lead

■ Satellite dish
- To ensure your satellite dish is correctly installed, please consult your local dealer. Also consult the received satellite broadcasting companies for details.
- For details, refer to [eHELP] (Search by Purpose > Watching > Basic > Basic connection).
■ Network
A broadband network environment is required to be able to use internet services.
- If you do not have any broadband network services, please consult your retailer for assistance.
- Prepare the internet environment for wired connection or wireless connection.
- Setup of the network connection will start when first using the TV.
(p. 18) - For details, refer to [eHELP] (Search by Purpose > Network > Network connections).
Connections for 4K / HDR compatible equipment

- HDMI cable
- 4K / HDR compatible equipment
- Reproduces the image more precisely with the expanded colour gamut and more smoothly with the high frame rate when connecting the 4K compatible equipment. [Mode2] is a mode that supports higher definition signals than [Mode1]. [Mode3] is a mode that supports higher frame rate signals than [Mode2]. Set to [Mode1] when the image or sound in HDMI input is not played properly.
- Connect the 4K compatible equipment to HDMI terminal using a 4K compatible cable and you can watch content in 4K format.
- Supporting HDR does not increase the peak brightness capabilities of the TV panel.
■ [HDMI Auto Setting] ([Setup] menu)
Reproduces the image more precisely with the expanded colour gamut and more smoothly with the high frame rate when connecting the 4K compatible equipment. Select
the mode depending on the equipment.
[Mode1]:
For better compatibility. Set to [Mode1] when the image or sound in HDMI input is not played properly.
[Mode2]:
For the 4K compatible equipment that has the function to output the image precisely with the expanded colour gamut
[Mode3]:
For the 4K compatible equipment that has the function to output the high frame rate image
(This mode is valid in HDMI 1 and 2)
- To change the mode
1. Select the HDMI input mode connected to the equipment.
2. Display the menu bar and select [Main Menu], and then select [Setup].
3. Change the mode in [HDMI Auto Setting]. - For information about the valid format, refer to [eHELP] (Search by Purpose > Watching > 4K resolution > HDMI Auto Setting).
Connection for VRR/AMD FreeSync™ Premium compatible equipment

- HDMI cable
- VRR/AMD FreeSync™ Premium compatible equipment
- VRR (Variable Refresh Rate)/AMD FreeSync™ Premium provides smoother gaming experience with low latency and without image stuttering, tearing.
- To enable VRR/AMD FreeSync™ Premium, set [VRR] (Picture > Option Settings) to [On].
- For details, refer to [eHELP] (Search by Purpose > Watching > For best picture > Option Settings).
Other connections
- DVD Player / Camcorder / Game equipment (VIDEO equipment)

- AV adaptor (Shielded / not supplied)
- Composite video cable (Shielded)
● Use shielded composite cable. - Audio cable (Shielded)
● Use shielded audio cables. - DVD Player / Camcorder / Game equipment
■ Amplifier (listening with external speakers)
- To enjoy multi-channel sound from external equipment (e.g. Dolby Digital 5.1ch), connect the equipment to the amplifier. For information about the connections, read the manuals of the equipment and amplifier.
- For details, refer to [eHELP] (Search by Purpose > Watching > External equipment > External connection).
Headphones / Subwoofer
- To use headphones, set [Headphone Terminal Output] in the Sound menu to [Headphone].
- To use the subwoofer, set [Headphone Terminal Output] in the Sound menu to [Sub Woofer]. (The subwoofer output from the TV is the same for both L and R.)
- For information about the headphone terminal output settings, refer to [eHELP] (Search by Purpose > Settings > Sound).
USB HDD (for recording)
- Use USB 1 port for connecting the USB HDD.
- For details, refer to [eHELP] (Search by Purpose > Recording).
VIERA Link
- Use HDMI 1 – 4 for VIERA Link connection.
- For details, refer to [eHELP] (Search by Purpose > Functions > VIERA Link “HDAVI Control™”).
Cable arrangement
- Fixing the cables using the cable clamp

Bundle the cable

<Example>

- Fix cables as necessary.
- When using the optional accessory, follow the option’s assembly manual to fix cables.
Connecting Bluetooth® devices
Registering Bluetooth® devices
This TV supports Bluetooth® communications.
Bluetooth® devices that have been registered (paired) with this TV can connect to (communicate with) this TV.
- When registering (pairing) a Bluetooth® device with this TV, move the device within 50 cm of the TV.
- It is not possible to register (pair) Bluetooth® devices that are not compatible with this TV.
- If a Bluetooth® enabled device that you have registered (paired) with this TV is then registered and used on another device, it may then be made unavailable for use with this TV. Register the device on this TV again if this occurs.
- You can register Bluetooth® audio devices that support A2DP on this TV. Due to the characteristics of wireless technology, there will be some delay between the playback of video and audio.
- A maximum of 2 audio devices that support A2DP can be used simultaneously. To use 2 devices, set [Dual Audio] (Setup > Bluetooth Setup > Bluetooth Audio Settings) to [On], and then connect the second device.
- For details, refer to [eHELP] (Search by Purpose > Functions > Bluetooth devices).
Registering the remote control (supplied)
- Either Bluetooth® wireless technology or the infrared communication function can be used for the transmissions between the TV and the remote control. Since voice controls (p. 17) use Bluetooth® wireless technology, the remote control needs to be registered (paired) with the TV.
- When using the remote control for the first time after purchase, when you press any button while pointing the remote control at the remote control signal receiver with batteries inserted, the remote control is automatically registered (paired).
- When registering, face the remote control at the remote control signal receiver on the TV, within about 50 cm.
- Registration may not be completed correctly if the batteries in the remote control are running low.

■ If registration fails
If registration (pairing) is not completed properly, try registering again.
- Display the menu bar and select [Main Menu], and then select [Setup]

- Select the remote control setting menu in [System Menu]

- Select [Pairing]

- The registration screen is displayed, so follow the on-screen instructions to register.
- For details, refer to [eHELP] (Search by Purpose > Functions > Voice Control > Settings).
Note
- If the remote control is not registered (paired) with the TV, they communicate via infrared. Face the remote control at the TV’s remote control signal receiver for operation when infrared communication is used. Please note that voice controls will not be available.
- If the remote control is registered (paired) with the TV, they communicate via Bluetooth® . You will not need to face the remote control at the TV’s remote control signal receiver when Bluetooth® communication is used. Please note, however, that you will need to face the remote control at the remote control signal receiver for operation when turning on or off the TV.
Identifying Controls
Remote Control

- [
]: Switches TV On or Off (Standby) - PICTURE
● Changes the Viewing Mode. - NETFLIX
● Accesses NETFLIX service directly. - Prime Video
● Accesses Prime Video service directly. - MY APP
● Assigns a favourite application. After setting, starts the application easily by pressing this button.
● For details, refer to [eHELP] (Search by Purpose > Home > Apps). - Coloured buttons(red-green-yellow-blue)● Used for the selection, navigation and operation of various functions.
- MENU● Displays the menu bar.It is possible to access menus such as Picture, Sound, Network, Timer, Setup and Help by selecting [Main Menu] on the menu bar.
- HOME● Displays [Home].● For details, refer to [eHELP] (Search by Purpose > Read first > Features > Home).
- Information● Displays channel and programme information.
- OK● Confirms selections and choices.● Press after selecting channel positions to quickly change channel.● Displays channel list.
- Option menu● Displays optional settings.
- LIST● Starts operator application or displays channel list.
- Voice control button● Used for the voice control function.
- Sound Mute On / Off
- Volume Up / Down
- Numeric buttons● Changes channel and teletext pages.● When in Standby mode, switches TV on.
- AUDIO LINK● Accesses the Audio Link function.
● For details, refer to [eHELP] (Search by Purpose > Functions > Bluetooth devices). - Microphone● Operates with the voice control microphone.
- Input mode selection● TV – switches to Satellite TV / Digital TV / Analogue TV.
● AV – switches to AV input mode from the input selection list. - YouTube● Accesses YouTube service directly.
- MARKET● Accesses MARKET service directly.
- APPS● Displays [Apps] (applications list).
- TV Guide
- EXIT● Returns to the normal viewing screen.
- Cursor buttons● Makes selections and adjustments.26 BACK
● Returns to the previous menu / page. - SCENERY
● Displays the currently selected scenery.
● For details, refer to [eHELP] (Search by Purpose > Home > My Scenery). - Operations for contents, connected equipment, etc.
- Teletext button
● Switches to teletext mode. - Channel Up / Down
- Subtitles
● Displays [Subtitle Menu]. - Audio Description
● Displays [Audio Description].

Voice controls
The TV recognizes speech when you talk into the voice control microphone, enabling you to perform operations such as changing TV channels, adjusting the volume,
searching for programmes, and doing internet searches.
- If the remote control is not registered (paired) with the TV, register (pair) the remote control.
(p. 15) - The Google Assistant function may be in preparation and the function will be available after the preparation is complete. The Google Assistant function may not be available depending on the country, area or broadcaster.
- The TV needs to be connected to the internet in order to perform searches, etc.
(p. 12) - The effective range for voice controls depends on the viewing environment.
- Operation may not be correct depending on the type of voice the person has and the way they speak, as well as the surrounding environment and conditions.
- When other Bluetooth® devices are connected at the same time, voice controls may not work properly depending on the connected devices.
Selecting the voice service (when it is not selected)
- Press the voice control button

- Selects the voice service for voice control function.
● Only one voice service can be used with the TV.
● The voice service selection screen can also be displayed via [Voice Control] on the menu bar.
Controlling with your voice
- Press the voice control button

- Speak into the voice control microphone

- For information about settings and operations for voice controls, refer to [eHELP] (Search by Purpose > Functions > Voice Control).
- Functions of voice control and voice services are subject to change without notice.
Indicator / Control panel
- When pressing 4, 5, 6 buttons, the control panel guide appears on the right side of the screen for 3 seconds to highlight which button has been pressed.

- Power LED
Red: Standby
Green: On
• Depending on the ambient brightness, adjusts the brightness of LED to easy-toview levels automatically.
Orange: Standby with some functions (recording, etc.) active
● The LED blinks when an infrared signal is received from the remote control. - Ambient sensor
● Senses brightness to adjust picture quality when [Ambient Sensor] in the Picture menu is set to [On]. - Remote control signal receiver (for infrared communication)
● Do not place any objects between the TV remote control signal receiver and remote control. - Input mode selection
● Press repeatedly until you reach the desired mode.
Menu
● Press and hold for about 3 seconds to display the menu bar.
OK (when in the menu system) - Channel Up / Down
● Cursor Up / Down (when in the menu system) - Volume Up / Down
● Cursor Left / Right (when in the menu system) - Mains power On / Off switch
● Use to switch the mains power.
● To turn Off the apparatus completely, you must pull the mains plug out of the mains socket.
● [
]: Standby / On
First time Auto Tuning
When the TV is turned on for the first time, it will automatically search for available TV channels and give options to set up the TV.
- These steps are not necessary if the setup has been completed by your local dealer.
- Please complete connections (p. 11 – 14) and settings (if necessary) of the connected equipment before starting Auto Tuning. For information about the settings for the connected equipment, read the manual of the equipment.
1. Plug the TV into a live mains socket and turn the power on
- Takes a few seconds to be displayed.

2. Select the following items
Set up each item by following the on-screen instructions.
Example:

■ How to use the remote control
Move the cursor
Access the item / store the setting
Return to the previous item (if available)
Select the language
Select [Home]
Select [Home] for use in a home viewing environment.
- [Shop] is for shop display.
- To change the viewing environment later on, the set will need to have all settings initialised by accessing [Shipping Condition].
Set up the network connection
Tick the TV signal mode to tune, and then select
[Start Auto Tuning]
Select your region (Satellite)
Space Tune Adjustment
Auto Tuning is now complete and the TV is ready for viewing.
If tuning has failed check the Satellite cable, RF cable, and the network connection, and then follow the on-screen instructions.
Note
- The TV goes into Standby mode when no signal is received and no operation is performed for 10 minutes if [No signal Power off] in the Timer menu is set to [On] (factory setting)
- To retune all channels
[Auto Tuning] in [Tuning Menu] ([Setup] menu) - If no satellite channel is found, set [LNB Band Frequency] to suit your environment.
[LNB Configuration] in [Satellite TV Tuning Menu] ([Setup] menu) - To add the available TV signal mode later
[Add TV Signal] in [Tuning Menu] ([Setup] menu) - To initialise all settings
[Shipping Condition] in [System Menu] ([Setup] menu)
Watching TV
- Turn power on
(TV)
or
(Remote Control)
● Mains power On / Off switch should be on.
(p. 18) - Select the mode
● Selectable modes vary depending on the stored channels. - Select a channel
● To select a channel position with 2 or more-digit, e.g. 399
How to Use eHELP
[eHELP] is the detailed operating instructions built into the TV, and gives a more detailed explanation for a better understanding of the operation of each feature.
- Display [eHELP]
● If the [eHELP] has been accessed previously since the TV was turned on, the confirmation screen is displayed to select whether to go to the [First page] or to the [Last viewed page]. - Select the menu
● To access [How to use]
(green) - Select the item
Example:
● To return to the previous screen / field 
FAQs
– For details, refer to [eHELP] (Support > FAQs).
– Check the mains lead is plugged into the TV and the mains socket.
– Auto power standby function is activated.
– Are the batteries installed correctly?
(p. 17)
– Has the TV been switched on?
– The batteries may be running low. Replace them with new ones.
– Point the remote control directly at the TV’s remote control signal receiver (within about 7 m and a 30 degree angle of the signal receiver).*
– Situate the TV away from sunshine or other sources of bright light so they do not shine on the TV’s remote control signal receiver.*
– If you are trying to use voice controls, is the remote control registered (paired) with the TV?
(p. 15)
* When infrared communication is used
– Check the TV is turned on.
– Check the mains lead is plugged into the TV and the mains socket.
– Check the correct input mode is selected.
– Is [Backlight], [Contrast], [Brightness] or [Colour] in the Picture menu set to the minimum?
– Check all required cables and connections are firmly in place.
– This TV has a built-in Self Test. Makes a diagnosis of picture or sound problems.
[TV Self Test] ([Help] menu)
– Turn the TV off with Mains power On / Off switch, then turn it on again.
– If the problem persists, initialise all settings.
[Shipping Condition] in [System Menu] ([Setup] menu)
– Set [HDMI Auto Setting] ([Setup] menu) to [Mode1].
(p. 13)
– Set the audio output format of the connected HDMI equipment to PCM.
– If the remote control is not registered (paired) with the TV, register (pair) the remote control.
(p. 15)
– Check the network connections and settings.
– Parts of the TV may become hot. These temperature rises do not pose any problems in terms of performance or quality.
– There is a little gap around the panel to prevent damage to the panel. This is not a malfunction.
– Please contact your local Panasonic dealer for assistance.
– If you make an inquiry from a place where this TV is not present, we cannot answer about contents that require visual confirmation for connection, phenomenon, etc. of this TV itself.
Maintenance
First, remove the mains plug from the mains socket.
Display panel, Cabinet, Pedestal
Regular care:
Gently wipe the surface of the display panel, cabinet, or pedestal by using a soft cloth to remove dirt or fingerprints.
For stubborn dirt:
- First clean the dust from the surface.
- Dampen a soft cloth with clean water or diluted neutral detergent (1 part detergent to 100 parts water).
- Wring out the cloth firmly. (Please note, do not let liquid enter the TV inside as it may lead to product failure.)
- Carefully wipe moisten and wipe away the stubborn dirt.
- Finally, wipe away all the moisture.
Caution
- Do not use a hard cloth or rub the surface too hard, otherwise this may cause scratches on the surface.
- Take care not to subject the surfaces to insect repellent, solvent, thinner or other volatile substances. This may degrade surface quality or cause peeling of the paint.
- The surface of the display panel is specially treated and may be easily damaged. Take care not to tap or scratch the surface with your fingernail or other hard objects.
- Do not allow the cabinet and pedestal to make contact with a rubber or PVC substance for a long time. This may degrade surface quality.
Mains plug
Wipe the mains plug with a dry cloth at regular intervals.
Moisture and dust may cause fire or electrical shock.
Specifications
■ TV
Model No.
55-inch model : TH-55JX950Z
65-inch model : TH-65JX950Z
Dimensions (W × H × D)
55-inch model
1 231 mm × 760 mm × 350 mm (With Pedestal)
1 231 mm × 716 mm × 72 mm (TV only)
65-inch model
1 451 mm × 884 mm × 350 mm (With Pedestal)
1 451 mm × 840 mm × 73 mm (TV only)
Mass
55-inch model
24.0 kg Net (With Pedestal)
19.0 kg Net (TV only)
65-inch model
34.0 kg Net (With Pedestal)
29.0 kg Net (TV only)
Power Rating
55-inch model
AC 220-240 V, 50 / 60 Hz 1.14 A
65-inch model
AC 220-240 V, 50 / 60 Hz 1.27 A
Normal (Home) mode
55-inch model
88 W
65-inch model
96 W
Standby power consumption
0.50 W
Visible screen size (diagonal)
55-inch model
139 cm
65-inch model
164 cm
Display resolution
3 840 (W) × 2 160 (H)
Panel
LED backlight Liquid Crystal Display
Sound
Speaker output
60 W (15 W × 4)
Headphones / Subwoofer
3.5 mm stereo mini jack × 1
Connection terminals
AV IN
VIDEO
1.0 V[p-p] (75 Ω)
AUDIO L – R
0.5 V[rms]
HDMI 1 / 2 / 3 / 4 input
TYPE A Connectors
HDMI 1:
4K120Hz, VRR (Variable Refresh Rate), AMD FreeSync™ Premium, Content Type, Deep Colour, x.v.Colour™
HDMI 2:
4K120Hz, VRR (Variable Refresh Rate), AMD FreeSync™ Premium, Content Type, eARC (Enhanced Audio Return Channel) / ARC (Audio Return Channel), Deep Colour,
x.v.Colour™
HDMI 3 / 4:
4K, Content Type, Deep Colour, x.v.Colour™
● This TV supports “HDAVI Control 5” function.
ETHERNET
10BASE-T / 100BASE-TX
USB 1 / 2 / 3
USB 1:DC
5 V, Max. 900 mA [SuperSpeed USB (USB 3.0)]
USB 2 / 3: DC
5 V, Max. 500 mA [Hi-Speed USB (USB 2.0)]
DIGITAL AUDIO OUT
PCM / Dolby Audio, Fibre optic
Receiving systems / Band name
Satellite
DVB-S / S2
Receiver IF frequency range – 950 MHz to 2150 MHz
Digital
Channel coverage: UHF / VHF / free-to-air
Analogue
PAL B / G
PAL 525 / 60 (VCR)
M.NTSC (VCR)
NTSC (AV input only))
Satellite dish input
Female F-type 75 Ω × 1
Aerial input
VHF / UHF
Operating conditions
Temperature
0 °C – 35 °C
Humidity
20 % – 80 % RH (non-condensing)
Built-in wireless LAN
Standard compliance and Frequency band
IEEE802.11a/n/ac: 5 GHz band
IEEE802.11b/g/n: 2.4 GHz band
Security
WPA3-SAE (AES)
WPA2-PSK (TKIP/AES)
WPA-PSK (TKIP/AES)
WEP (64 bit/128 bit)
Bluetooth® wireless technology*
Standard Compliance and Frequency band
Bluetooth® 5.0: 2.4 GHz band
* Not all the Bluetooth® compatible devices are available with this TV. Up to 5 devices can be used simultaneously.
Note
- Design and Specifications are subject to change without notice. Mass and Dimensions shown are approximate.
- For information about the open source software, refer to [eHELP] (Search by Purpose > Read first > Before use > Licence).
WARRANTY – New Zealand only
WE WARRANT that the Panasonic Television that you have purchased is free from defects in material and workmanship under normal home use and service.
Accordingly, we undertake to repair, or at our option, replace without cost to the owner, either for material or labour, any part which within 12 months from the date of delivery is found to be defective, provided that the appliance has been used for domestic purposes only and in accordance with the instructions given in the Instruction Book and not been subjected to misuse, neglect or installed, dismantled, repaired or serviced by any other than an authorised Panasonic New Zealand Dealer or Panasonic New Zealand Authorised Service Centre.
NOTE
- Before reporting a fault, please ensure that you read the item “Troubleshooting” in the information section of your Panasonic Instruction Book.
- It is important to retain your proof of purchase as this will be required by the serviceman or retailer as proof of purchase date, should service be required.
- In the event of service being required, contact your Panasonic New Zealand retailer or Panasonic New Zealand Authorised Service Centre.
IMPORTANT
Any request for warranty service must be through an Authorised Panasonic New Zealand Service Centre who during the period of the warranty, undertakes to make any necessary adjustment and fit any replacement part supplied by the manufacturer, during normal working hours, or alternatively will arrange for such service to be provided by some other Panasonic New Zealand Authorised Service Centre.
NEW ZEALAND
Distributed in New Zealand by Panasonic New Zealand Limited
18 Sir Woolf Fisher Drive, Highbrook, East Tamaki, Private Bag 14911, Panmure, Auckland
Tel. 09 272 0100
Customer Care Center
Email: [email protected]
www.panasonic.co.nz
Customer’s Record
The model number and serial number are located on the side of the unit or the model name plate on the rear of the unit. You should note this serial number in the space provided below and retain this book, plus your purchase receipt, as a permanent record of your purchase to aid in identification in the event of theft or loss, and for Warranty
Service purposes.
Model Number ………………..
Serial Number ……………….
Panasonic Corporation
Web Site: http://www.panasonic.com
© Panasonic Corporation 2021
Printed in Malaysia







● To select a channel position with 2 or more-digit, e.g. 399
● If the [eHELP] has been accessed previously since the TV was turned on, the confirmation screen is displayed to select whether to go to the [First page] or to the [Last viewed page].
● To access [How to use]
● To return to the previous screen / field 













