CHARCOAL BROILER OVENS HJA HANDBOOK
User Manual
HJA-45 Medium Charcoal Oven
A MAJOR CAUSE OF OVEN-RELATED FIRES IS FAILURE TO MAINTAIN REQUIRED CLEARANCES (AIR SPACES) TO COMBUSTIBLE MATERIALS. IT IS OF UTMOST IMPORTANCE THAT THIS OVEN BE INSTALLED ONLY IN ACCORDANCE WITH THESE INSTRUCTIONS.
The user manual will help you make a better use of the product safely.
- Read all instructions before installing and using the equipment.
- Save these instructions.
- Keep the user manual within reach for future reference.
- The pictures, technical drawings and general information that is in this manual might be have been modified since its edition.
When this oven is not properly installed, a fire may result. To reduce risk of fire, follow the installation instructions.
Please read this entire manual before you install the oven. Failure to follow instructions may result in property damage, bodily injury or death.
At JOSPER we are proud to be a family company with international projection. We claim our origins, our trajectory and all the people who, for more than 45 years, have work to build a brand that goes further than the products we manufacture. We are a family and we welcome you into it.
Soon you will discover that working with JOSPER is different than everything, that broiling with charcoal is nique and that the connection established between the cooks and the products and the JOSPER brand is emotional.
In a time of virtual relationships and technological products, the culinary is a return to the authentic. In JOSPER we are specialists in charcoal cooking because we believe in cooking with flavors and the authenticity of the processes. For these reasons, we are building new tools every day, so the people who love the authentic cuisine can develop all their creativity based on the charcoal cooking.
We merge the craft with technology in our fabrication process to reach excellency levels and quality that guarantees the durability of our products and the best use experience.
At JOSPER we have decided to use all the experience accumulated to engage in new challenges that motivate us and project our future. We have potentiated our I+D+i area with new and stimulating collaborations with investigation centers to go further in the established and create new products that make us all throb.
We are also working to make our social commitment inspire our activity in all different ambits. We consider that eco-efficiency is process of continuous improvement and overcoming that challenges us to create and produce products more liable each time.
We collaborate with the best cooks in the world to learn and grow together. With you we work together to make the experience of working with JOSPER memorable.
We are sure you will enjoy JOSPER. Thank you for trusting us.
BEFORE USING THE OVEN
Use the pieces and methods recommended and explained in this handbook by Josper when using this oven.
WARNING! Do NOT pack required air spaces with insulation or other materials. Leave the clearance spaces free.
CAUTION! When this oven is not properly installed, a fire may result. To reduce risk of fire, follow the installation instructions.
WARNING! Do NOT put any flammable material at less than 30 cm (11,81 in) away fro mthe sides or the top of the oven.
Do NOT use flamable liquids to fire-up the charchoal. Only use charcoal as fuel for the oven.
Respect the frequency and guidelines of maintenance and cleaning recommended by josper in this manual.
Note well the references and names when asking for back-ups, accesories or parts at osper. And make sure to say the correct name and reference.
It is forbidden to perform any modification to the device unless it has been approved by Josper before.
Do NOT use pieces or parts of other ovens or companies.
Josper will not be held responsible of the damages provoked to the people, parts or installations caused by an improper use or maintenance of the oven.
Remember that all accesible surfaces in the oven are at high temperature. Use isulating gloves when handling the grill racks to avoid burns. Do not touch the oven with unprotected hands.
Do NOT pour ashes into flammable or thermo deformable buckets made from materials like plastic, rubber, wood or similar.
CAUTION! The legislation of the country and town, where the oven is being installed, must be checked since their normatives may ask for other complementary security measures than the ones exposed here.
All local regulations, including those referring to national and European standards, must be respected when the equipment is installed.
The oven must always run with the door closed.
The JOSPER oven is exclusively for cooking food, any other use given to the oven can be highly risky for the user.
JOSPER TECHNOLOGY

| FIREBREAK HAT Works as a particulates matter filter. In addition, cools down the outgoing fumes and avoids the extractor’s hood filters from yellowing. | ANTISPARK AND ANTIPARTICULATES DESIGN The fumes exit has been designed to avoid that the sparks and the particulates produced by the fire go out in an uncontrolled way, lowering their velocity and temperature. |
![]() | ![]() |
| UPPER VENT Thanks to its five positions, the upper vent allows to have a controlled fumes evacuation at all times. For more information on its use go to Chapter 6, Usage instructions. | OXYGEN ENTRY REGULATION The lower vent allows for a controlled air alimentation in the combustion chamber. Its design in chute shape allows the vent opening to be adjusted with just one move. It also works as a safety lock. |
![]() | ![]() |
JOSPER OVENS RANGE
3.1 OVENS RANGE
| HJA-20 recommended for ±40 diners | HJA-25 recommended for ±80 diners |
![]() | ![]() |
| HJA-45 recommended for ±120 diners | HJA-50 recommended for ±175 diners |
![]() | ![]() |
| HJA-25-M recommended for ±80 diners | HJA-45-M recommended for ±120 diners |
![]() | ![]() |
| HJA-50-M recommended for ±175 diners | ![]() |
3.2 HJA-20
TECHNICAL INFORMATION
| Recommended for +- | 40 diners |
| Fire up time | 25 min average |
| Charcoal daily consumption | 13.2 to 17.6 lb |
| Performance | 7h |
| Production per hour | 55.1 lb average |
| Broiling temperature | 482 to 662 ºF |
| Grill rack capacity in GN trays | 1xGN1/1 |
| Nominal heat output | 10.06 hp |
| Exhaust rate | 1471 cfm |
| Flue gas mass flow | 0.42 oz/s |
| Smoke temperature | 550.4 ºF |
| Net weight | 381,4 lb |
INSTALLATION
| Recommended installation height | 33 1/2 in from floor level |
| Clearance with non-flammable equipment | 4 in |
| Clearance with flammable equipment | 12 in |
BUNDLES: SIZES AND WEIGHTS
| Sizes bundle | – |
| Gross weight bundle | – |
INCLUDED ACCESORIES
1 Stainless steel grill rack
Josper tongs
Poker
Ash pan
Short firebreak
Firebreak’s hat
Wire brush
Silicone for installation
OPTIONAL ACCESORIES
Cookware (Chapter 9)

The measures in black are millimeters (mm), in gray inches (in).
3.3 HJA-25
TECHNICAL INFORMATION
| Recommended for +- | 80 diners |
| Fire up time | 30 min average |
| Charcoal daily consumption | 22 to 26.5 lb |
| Performance | 9h |
| Production per hour | 132 lb average |
| Broiling temperature | 482 to 662 ºF |
| Grill rack capacity in GN trays | 1xGN1/1 |
| Tempering cavity capacity in GN trays | 2xGN1/3 + 4xGN1/9 |
| Nominal heat output | 11.8 hp |
| Exhaust rate | 1648 cfm |
| Flue gas mass flow | 0.68 oz/s |
| Smoke temperature | 407 ºF |
| Net weight | 793,7 lb |
INSTALLATION
| Clearance with non-flammable equipment | 4 in |
| Clearance with flammable equipment | 12 in |
BUNDLES: SIZES AND WEIGHTS
| Sizes bundle | 33 1/2 x 47 5/8 x 78 3/4 in |
| Gross weight bundle | 945.8 lb |
INCLUDED ACCESORIES
2 Stainless steel grill racks
Josper tongs
Poker
Ash drawer
Firebreak
Firebreak’s hat
Wheels
Wire brush
Stainless steel tube
OPTIONAL ACCESORIES
Cookware (Chapter 9)

3.4 HJA-45
TECHNICAL INFORMATION
| Recommended for +- | 120 diners |
| Fire up time | 35 min average |
| Charcoal daily consumption | 26.5 to 35 lb |
| Performance | 9h |
| Production per hour | 192 lb average |
| Broiling temperature | 482 to 662 ºF |
| Grill rack capacity in GN trays | 2xGN1/1 |
| Tempering cavity capacity in GN trays | 2xGN2/3 + 2xGN1/2 |
| Nominal heat output | 9.92 hp |
| Exhaust rate | 2060 cfm |
| Flue gas mass flow | 0.54 oz/s |
| Smoke temperature | 410 ºF |
| Net weight | 948 lb |
INSTALLATION
| Clearance with non-flammable equipment | 4 in |
| Clearance with flammable equipment | 12 in |
BUNDLES: SIZES AND WEIGHTS
| Sizes bundle | 33 1/2 x 47 5/8 x 78 3/4 in |
| Gross weight bundle | 1113.3 lb |
INCLUDED ACCESORIES
2 Stainless steel grill racks
Josper tongs
Poker
Ash drawer
Firebreak
Firebreak’s hat
Wheels
Wire brush
Stainless steel tube
OPTIONAL ACCESORIES
Cookware (Chapter 9)

3.5 HJA-50
TECHNICAL INFORMATION
| Recommended for +- | 175 diners |
| Fire up time | 40 min average |
| Charcoal daily consumption | 35 to 44 lb |
| Performance | 9h |
| Production per hour | 242.5 lb average |
| Broiling temperature | 482 to 662 ºF |
| Grill rack capacity in GN trays | 2xGN1/1 |
| Tempering cavity capacity in GN trays | 2xGN1/1 + 2xGN1/2 |
| Nominal heat output | 12.9 hp |
| Exhaust rate | 2237 cfm |
| Flue gas mass flow | 0.83 oz/s |
| Smoke temperature | 407 ºF |
| Net weight | 1159.6 lb |
INSTALLATION
| Clearance with non-flammable equipment | 4 in |
| Clearance with flammable equipment | 12 in |
BUNDLES: SIZES AND WEIGHTS
| Sizes bundle | 44 7/8 x 45 1/4 x 81 1/8 in |
| Gross weight bundle | 1325 lb |
INCLUDED ACCESORIES
2 Stainless steel grill racks
Josper tongs
Poker
Ash drawer
Firebreak
Firebreak’s hat
Wheels
Wire brush
Stainless steel tube
OPTIONAL ACCESORIES
Cookware (Chapter 9)

3.6 HJA-25-M
TECHNICAL INFORMATION
| Recommended for +- | 80 diners |
| Fire up time | 30 min average |
| Charcoal daily consumption | 22 to 26.5 lb |
| Performance | 9h |
| Production per hour | 132 lb average |
| Broiling temperature | 482 to 662 ºF |
| Grill rack capacity in GN trays | 1xGN1/1 |
| Tempering cavity capacity in GN trays | 2xGN1/3 |
| Nominal heat output | 11.8 hp |
| Exhaust rate | 1648 cfm |
| Flue gas mass flow | 0.68 oz/s |
| Smoke temperature | 407 ºF |
| Net weight | 628.3 lb |
INSTALLATION
| Recommended installation height | 21 5/8 in from floor level |
| Clearance with non-flammable equipment | 4 in |
| Clearance with flammable equipment | 12 in |
BUNDLES: SIZES AND WEIGHTS
| Sizes bundle | – |
| Gross weight bundle | – |
INCLUDED ACCESORIES
2 Stainless steel grill racks
Josper tongs
Poker
Ash drawer
Firebreak
Firebreak’s hat
Wire brush
OPTIONAL ACCESORIES
Cookware (Chapter 9)

3.7 HJA-45-M
TECHNICAL INFORMATION
| Recommended for +- | 120 diners |
| Fire up time | 35 min average |
| Charcoal daily consumption | 26.5 to 35 lb |
| Performance | 9h |
| Production per hour | 192 lb average |
| Broiling temperature | 482 to 662 ºF |
| Grill rack capacity in GN trays | 2xGN1/1 |
| Tempering cavity capacity in GN trays | 2xGN2/3 |
| Nominal heat output | 9.92 hp |
| Exhaust rate | 2060 cfm |
| Flue gas mass flow | 0.54 oz/s |
| Smoke temperature | 410 ºF |
| Net weight | 771.6 lb |
INSTALLATION
| Recommended installation height | 21 5/8 in from floor level |
| Clearance with non-flammable equipment | 4 in |
| Clearance with flammable equipment | 12 in |
BUNDLES: SIZES AND WEIGHTS
| Sizes bundle | – |
| Gross weight bundle | – |
INCLUDED ACCESORIES
2 Stainless steel grill racks
Josper tongs
Poker
Ash drawer
Firebreak
Firebreak’s hat
Wire brush
OPTIONAL ACCESORIES
Cookware (Chapter 9)

3.8 HJA-50-M
TECHNICAL INFORMATION
| Recommended for +- | 175 diners |
| Fire up time | 40 min average |
| Charcoal daily consumption | 35 to 44 lb |
| Performance | 9h |
| Production per hour | 242.5 lb average |
| Broiling temperature | 482 to 662 ºF |
| Grill rack capacity in GN trays | 2xGN1/1 |
| Tempering cavity capacity in GN trays | 2xGN1/12 |
| Nominal heat output | 12.9 hp |
| Exhaust rate | 2237 cfm |
| Flue gas mass flow | 0.83 oz/s |
| Smoke temperature | 407 ºF |
| Net weight | 937 lb |
INSTALLATION
| Recommended installation height | 21 5/8 in from floor level |
| Clearance with non-flammable equipment | 4 in |
| Clearance with flammable equipment | 12 in |
BUNDLES: SIZES AND WEIGHTS
| Sizes bundle | – |
| Gross weight bundle | – |
INCLUDED ACCESORIES
2 Stainless steel grill racks
Josper tongs
Poker
Ash drawer
Firebreak
Firebreak’s hat
Wire brush
OPTIONAL ACCESORIES
Cookware (Chapter 9)

EQUIPMENT AND EXPLODED
4.1 COMPONENTS

4.2 EXTERNAL COMPONENTS
| NAME | MODEL | REFERENCE | |
![]() | Door cover INOX without screws | HJA-20 HJA-25 HJA-45/50 | 0515 0500 0501 |
| Door cover BURGUNDY without screws | HJA-20 HJA-25 HJA-45/50 | 4150/2 4149/2 4151/2 | |
| Door cover BLACK without screws | HJA-20 HJA-25 HJA-45/50 | 4150/3 4149/3 4151/3 | |
| Door cover BROWN without screws | HJA-20 HJA-25 HJA-45/50 | 4150 4149 4151 | |
| Door cover WHITE without screws | HJA-20 HJA-25 HJA-45/50 | 4150/5 4149/5 4151/5 | |
| Door cover BLUE without screws | HJA-20 HJA-25 HJA-45/50 | 4150/6 4149/6 4151/6 | |
| Door cover GREEN without screws | HJA-20 HJA-25 HJA-45/50 | 4150/4 4149/8 4151/8 | |
![]() | Door frame, complete | HJA-20 HJA-25 HJA-45/50 | 4385 0453 0463 |
![]() | Firebreak hat | HJA-20/25/45/50 | 4033 |
![]() | Full set of oven wheels in black | HJA-25/45/50 | 0499NV |
![]() | Smoke outlet vent for HJA | HJA-20 HJA-25/45/50 | 250031 4388 |
![]() | Upper vent handle | HJA-20/25/45/50 | 250100 |
![]() | Smoke’s register spring with bumper guard | HJA-20/25/45/50 | 409 |
![]() | Grease tray and decorative cover | HJA-25 HJA-45/50 | 4101 4102 |
| Decorative cover grease tray | HJA-20 | 4387 | |
![]() | Set of guides for tray shelf | HJA-25/45 HJA-50 | 250029 250030 |
![]() | Stainless steel tube Ø 6 x 9 7/8 in | HJA-25/45/50 | 4210 |
![]() | Poker 18 7/8 in | HJA-20 | 0494INOX |
| Poker 26 in | HJA-25/45 | 0401INOX | |
| Poker 35 1/2 | HJA-50 | 0427INOX | |
![]() | Round door handle | HJA-20/25 HJA-45/50 | 0516/4 0517/4 |
![]() | Medium firebreak stainless steel 8 5/8 in | HJA-20/25/45/50 | 240005 |
![]() | Thermometer | HJA-20/25/45/50 | 434 |
![]() | Thermometer embellisher | HJA-20/25/45/50 | 4371 |
![]() | Upper tray shelf | HJA-25 HJA-45 HJA-50 | 4390 4392 4394 |
![]() | Tempered cabinet Josper | HJA-25 HJA-45 HJA-50 | 210000 210001 210002 |
![]() | Ashes’ drawer | HJA-20 HJA-25 HJA-45 HJA-50 | 4381 4382 4383 4384 |
![]() | Ashes’ gate plate | HJA-25/45/50 | 448 |
![]() | Lower vent handle 10 1/2 in | HJA-25/45 | 250090 |
| Lower vent handle 14 7/8 in | HJA-50 / HJA-25/45-M | 250091 | |
| Lower vent handle 19 3/4 in | HJA-50-M | 250092 | |
| Lower vent handle’s knob | HJA-20/25/45/50 | 250089 | |
![]() | Cast iron fire grates (20 7/8 x 4 in) | HJA-20/25/45 | 0426AC |
| Cast iron fire grates (6 3/4 x 13 3/4 cm) | HJA-50 | 0432AC | |
![]() | Central support for fire grates | HJA-25 HJA-45 HJA-50 | 4215 4216 4217 |
![]() | Charcoal separator | HJA-45/50 | 4071 |
![]() | Complete ashes’ gate | HJA-25/45/50 | 407 |
![]() | 10 7/8 in door chain, spring,cam and eyebolt, no grease | HJA-25 HJA-45/50 | 250035 250036 |
![]() | 19 3/4 in door chain, spring and eyebolt | HJA-20 HJA-45/50 | 250037 250038 |
![]() | Stainless steel grill rack | HJA-20 HJA-25 HJA-45 HJA-50 | 4069/2 0415 0419 0422 |
![]() | Interior door backplate with heat-resistant steel | HJA-20 HJA-25 HJA-45/50 | 0455/2 0450/2 0451/2 |
![]() | Combustion shield | HJA-50 | 0406INOX |
![]() | Lateral arm bumper guard with Glover washer DIN 912 M10X10 | HJA-20/25/45/50 | 457 |
| Steel screw for hinge’s door, 1/2 in | HJA-20/25/45/50 | 446 | |
![]() | Lateral arm from oven’s door | HJA-25 | 4375 |
| Lateral right arm from oven’s door | HJA-20 HJA-45/50 | 4373 4376 | |
| Lateral left arm from oven’s door | HJA-20 HJA-45/50 | 4374 4377 | |
![]() | Support with guide of the damping system | HJA-25/45/50 | 250039 |
![]() | Shock absorver | HJA-25 HJA-45/50 | 250040 250041 |
![]() | Short screw backplate stainless steel/steel (DIN 965 M6X20) | HJA-20/25/45/50 | 476 |
| Long screw backplate stainless steel/steel (DIN 965 M6X40) | HJA-20/25/45/50 | 477 | |
![]() | Biconic springs (no grease) | HJA-20/25/45/50 | 250080 |
![]() | 1/2 in diameter pulley with bearing and elastic rings | HJA-20/25/45/50 | 4386 |
![]() | 1/1 GN tray for ashes | HJA-50 | 250101 |
4.4 DOOR’S COLOUR

Colour code for vitrified door cover
| Door | Handle | Code |
| STAINLESS STEEL | stainless steel | IN |
| BURGUNDY | stainless steel | VC |
| BROWN | stainless steel | MR |
| BLACK | stainless steel | NC |
| WHITE | stainless steel | BL |
| BLUE | stainless steel | ZU |
| GREEN | stainless steel | VR |
EQUIPMENT AND EXPLODED
INSTALLATION INSTRUCTIONS
5.1 WARNINGS
![]() | The diameter of the extraction tube must be at least of 300 mm, or 12 in, for all the models. |
| All the extractor hood’s measurements in this chapter 5, Installataion instrucctions, are the minimum recommended. | |
| The equipment must not be connected directly to shared fireplace systems. | |
![]() | In all the installation options, it is important to keep the components of the hood and conducts clean ( read chapter 7, Cleaning and maintenance). |
| Do NOT use flamable liquids to fire-up the charchoal. Only use charcoal as fuel for the oven. | |
| Before fire-up the oven for the first time, remember to remove all the plastics that are covering the exterior of the oven. | |
| CAUTION! You must to do an initial fire-up before starting the broiling. | |
![]() | Before using the grill racks for the first time, clean it with water and dry it with a cloth. |
5.2 OVEN ASSEMBLY
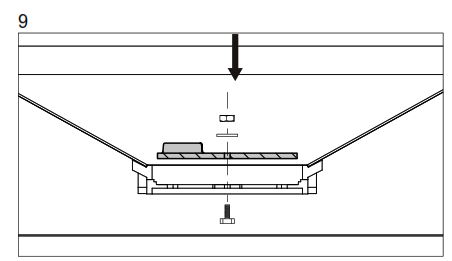
Make sure that the bolt and the hole on the panel door are centered.
DO NOT screw the nuts if the bolt is not well centered, it may cause the door panel to break.

- This steps are not necessary when assembling a HJA-20 oven or the M models.

This steps are not necessary when assembling a HJA-20 oven or the M models.
5.3 INSTALLATION
OVEN ISNTALLED UNDER EXTRACTOR HOOD

In case that the chimney caught fire, turn off the switch from the smoke extraction motor, turn the oven off quickly, closing the low and upper vents. Use a fire extinguisher to suffocate the fire outside of the oven.
Installation of the exhaust hood in accordance with the Standard for Ventilation Control and Fire Protection of Commercial Cooking Operations, NFPA 96. The maintenance, cleaning and inspection of the extractor hood must be done according to the exhaust hood manufacturer’s recommendations or instructions manual.
HJA-20
RECOMMENDED SUCTION RATE: 1471 CFM

The parts of the oven which are in contact with the furniture must be sealed with silicone.
MINIMUM DISTANCE TO FLAMMABLE ELEMENTS: 300 mm [12 in]
RECOMMENDED DISTANCE TO ANOTHER ELEMENTS: 100 mm [4 in]
- RECOMMENDED HOOD’S MINIMUM DIMENSIONS
- RECOMMENDED CHEF’S WORKING SPACE
- THIS DISTANCE MAY BE MODIFIED BY THE SMOKE OUTLET SET CONFIGURATION
- RECOMMENDED INSTALLATION HEIGHT
The measures in black are millimeters (mm), in gray inches (in).
HJA-25
RECOMMENDED SUCTION RATE: 1648 CFM

MINIMUM DISTANCE TO FLAMMABLE ELEMENTS: 300 mm [12 in]
RECOMMENDED DISTANCE TO ANOTHER ELEMENTS: 100 mm [4 in]
- RECOMMENDED HOOD’S MINIMUM DIMENSIONS
- RECOMMENDED CHEF’S WORKING SPACE
- THIS DISTANCE MAY BE MODIFIED BY THE SMOKE OUTLET SET CONFIGURATION
The measures in black are millimeters (mm), in gray inches (in).
HJA-45
RECOMMENDED SUCTION RATE: 2060 CFM

MINIMUM DISTANCE TO FLAMMABLE ELEMENTS: 300 mm [12 in]
RECOMMENDED DISTANCE TO ANOTHER ELEMENTS: 100 mm [4 in]
- RECOMMENDED HOOD’S MINIMUM DIMENSIONS
- RECOMMENDED CHEF’S WORKING SPACE
- THIS DISTANCE MAY BE MODIFIED BY THE SMOKE OUTLET SET CONFIGURATION
The measures in black are millimeters (mm), in gray inches (in).
HJA-50
RECOMMENDED SUCTION RATE: 2237 CFM

MINIMUM DISTANCE TO FLAMMABLE ELEMENTS: 300 mm [12 in]
RECOMMENDED DISTANCE TO ANOTHER ELEMENTS: 100 mm [4 in]
- RECOMMENDED HOOD’S MINIMUM DIMENSIONS
- RECOMMENDED CHEF’S WORKING SPACE
- THIS DISTANCE MAY BE MODIFIED BY THE SMOKE OUTLET SET CONFIGURATION
The measures in black are millimeters (mm), in gray inches (in).
HJA-25-M
RECOMMENDED SUCTION RATE: 1648 CFM

The parts of the oven which are in contact with the lower furniture must be sealed with silicone.
MINIMUM DISTANCE TO FLAMMABLE ELEMENTS: 300 mm [12 in]
RECOMMENDED DISTANCE TO ANOTHER ELEMENTS: 100 mm [4 in]
- RECOMMENDED HOOD’S MINIMUM DIMENSIONS
- RECOMMENDED CHEF’S WORKING SPACE
- THIS DISTANCE MAY BE MODIFIED BY THE SMOKE OUTLET SET CONFIGURATION
- RECOMMENDED INSTALLATION HEIGHT
HJA-45-M
RECOMMENDED SUCTION RATE: 2060 CFM

MINIMUM DISTANCE TO FLAMMABLE ELEMENTS: 300 mm [12 in]
RECOMMENDED DISTANCE TO ANOTHER ELEMENTS: 100 mm [4 in]
- RECOMMENDED HOOD’S MINIMUM DIMENSIONS
- RECOMMENDED CHEF’S WORKING SPACE
- THIS DISTANCE MAY BE MODIFIED BY THE SMOKE OUTLET SET CONFIGURATION
- RECOMMENDED INSTALLATION HEIGHT
HJA-50-M
RECOMMENDED SUCTION RATE: 2237 CFM

The parts of the oven which are in contact with the lower furniture must be sealed with silicone.
MINIMUM DISTANCE TO FLAMMABLE ELEMENTS: 300 mm [12 in]
RECOMMENDED DISTANCE TO ANOTHER ELEMENTS: 100 mm [4 in]
- RECOMMENDED HOOD’S MINIMUM DIMENSIONS
- RECOMMENDED CHEF’S WORKING SPACE
- THIS DISTANCE MAY BE MODIFIED BY THE SMOKE OUTLET SET CONFIGURATION
- RECOMMENDED INSTALLATION HEIGHT
The measures in black are millimeters (mm), in gray inches (in).
USAGE INSTRUCTIONS
6.1 WARNINGS
| WARNING! Operate the oven only with doors fully opened or fully closed. When doors are left partly open, gas and flame may be drawn outof the oven, creating risk of fire | |
| CAUTION! Use Charcoal fuel only. | |
| It is recommended not to use the equipment in adverse shooting conditions or in unfavorable weather conditions (particularly when there is a potential risk of frost), if a malfunction is observed. | |
| Remember that all accesible surfaces in the oven are at high temperature. Use isulating gloves or tongs when handling the grill racks to avoid burns. Do not touch the oven with unprotected hands. | |
| WARNING! Do NOT cover the air refrigeration entry and exit. |

- The temperature reached in the different parts of the oven will depend on the ambient conditions, the time use of the oven and the quantity and quality of the charcoal.
6.2 CHARCOAL LOADING
Open the front door, get the grill racks out and load the charcoal forming a pyramidal shape.

6.2 CHARCOAL LOADING
The amount of charchoal depends on the oven model:

SIZES IN BOXES OF 22 lb
6.3 OVEN FIRE-UP
CAUTION! All the firing-up process must be done without the cooking grills o any other tool or cookware inside the oven.
Fully open the upper and lower vents.
In the HJA-20 model the lower air entry is actuated by opening the ash drawer.

Place the firelighters in three different spots, and close the door.
Wait for 25-40 min., depending on the oven. Then, close the lower vent, and wait 10 minutes leaving the upper vent open.
Make sure that the charchoal is burning well, that there is no black charchoal, and flatten and distribuite the charcoal evenly. Leave about 15 cm (6 in) of space at the back without charcoal.
6.4 READY TO COOK
Put the grill rack, o grill racks since we can use two at the same time, inside the oven sliding them trough the guides.
While using the oven the upper vent must be open at 3 or 4 points. And the lower vent must be closed at all times.
If there is a lot of smoke coming out of the oven (for example, when cooking a lot of food) the upper vent should be open until the point where the smoke disapears.
6.4 READY TO COOK
The height of the grill rack depends on the type of food we are about to cook. The correct ubication is:

| TEMP (ºC) | FUNCTION | TYPE OF BROILING | RESULT |
| 1112 ºF | Fire up, flame phase | Singed/roasted | Scents |
| 662 ºF | High temperature | Bleached Sauté Stir-fry Marked | Juiciness |
| 482 ºF / 617 ºF | Service | Classic grill Baking Braise Golden finish | Flavour |
| 275 ºF | Long cooking times | Tough cuts | Texture |
If you close temporarily the upper register when the oven is working at a service temperature, the food will obtain a higher smoke scent.
6.5 RELOAD OF THE EQUIPMENT
Open the door and remove the grill racks.

Open the upper and lower vents.
In the HJA-20 model the lower air entry is actuated by opening the ash drawer.

Stir the existing coal with the firepoker to revive it.
Add the amount of charcoal necessary so there is enough to cook. This depends on the amount of charcoal used before.
CAUTION! If the charcoal’s packaging is flammable, beware of the hot coal in the oven.

Close the door and follow steps 6.2 and 6.3 to get the oven ready to cook.

6.6 AFTER COOKING
At the end of the service close the upper vent of the oven and make sure that the lower vent is still closed.

Do not put out the oven with water or liquids.
Charcoal will be consumed itself.
If there is charcoal left in the oven it can be used in the next service.
CLEANING AND MAINTENANCE
| Perform the operations when the oven is cold to avoid burns. | |
| Do NOT use chemical products to clean the oven. | |
| Do NOT pour ashes into flammable or thermo deformable recipients made from materials like plastic, rubber, wood or similar. |
Cleaning symbols:
| Clean with grease remover and a brush. | |
| Clean with grease remover and wet cloth. | |
| Clean with wirebrush. | |
| Do NOT use water nor put in dishwasher. | |
| Put in dishwasher. |
7.2 DAILY CLEANING
COUNTER DOOR AND DOOR FRAME
Clean well the door frame,especially where grease from cooking accumulates more.
This has to be done at the beginnig of every shift.

GREASE TRAY
Slide to the side to remove.

Disassemble the cover of the grease tray to clean it better.
GRILL RACKS
Take the grill racks out of the oven carefully and clean them with a wire brush. This must be done before cooking to clean the grease accumulated from the previous use.
ASH DRAWER
Disposal of ashes– Ashes should be placed in a metal container with a tight-fitting lid. The closed container of ashes should be placed on a non-combustile floor or on the ground, well away from all combustile materials, pending final disposal. When the ashes are disposed by burial in soil or otherwise locally dispersed, they should be retained in the closed container until all cinders have thoroughly cooled.

CAVITY SUPPORT TRAYS
Remove the firebreak hat, firebreak, fume’s exit and two tray rack. Clean the tray support area with sopa and a wet cloth.

FIREBREAK AND SMOKE OUTLET VENT
Empty the firebreah by shaking and hitting it with a wooden spatula. This will avoid the soot from compacting and clogging the smoke’s path.

Do NOT use water or other liquids to clean the inside of the firebreak.

OVEN’S INTERIOR CONE
2 – 3 times a week
Disposal of ashes- Ashes should be placed in a metal container with a tight-fitting lid. The closed container of ashes should be placed on a non-combustile floor or on the ground, well away from all combustile materials, pending final disposal. When the ashes are disposed by burial in soil or otherwise locally dispersed, they should be retained in the closed container until all cinders have thoroughly cooled.

7.3 WEEKLY CLEANING
FIREBREAK HAT
Remove the hat and clean it with grease remover and wet cloth.
7.4 FORTNIGHTLY CLEANING
FIRE GRATES
Remove the cold ashes using a broom brush to push them down, and send them to the ash drawer.

Change the position of the fire grates everytime you clean them, putting the ones on the middle to the sides, and the ones on the sides in the middle. This makes the racks deteriorate slowlier.
7.5 YEARLY MAINTENANCE
GREASING THE CHAIN
Grease the chain with special temperature grease.

Grease the chain with special temperature grease.
Engrasar la cadena con grasa especial de temperatura.
CLEANING AND MAINTENANCE
MAINTENANCE INSTRUCTIONS

8.1 WARNINGS
CAUTION! Make sure that the oven is cold.
Use the pieces and methods recommended and explained in this handbook by Josper when using this oven.
WARNING! Do NOT put any flammable material at less than 30 cm (11,81 in) away from the sides or the top of the oven.
Note well the references and names when asking for back-ups, accesories or parts at Josper. And make sure to say the correct name and reference.
It is forbidden to perform any modification to the device unless it has been approved by Josper before.
Do NOT use pieces or parts of other ovens or companies.
Josper will not be held responsible of the damages provoked to the people, parts or installations caused by an improper use or maintenance of the oven.
8.2 THERMOMETER REPLACEMENT

CAUTION! Make sure that the oven is cold.
Unscrew the bolt with an Allen key, twisting it with an anticlockwise direction, and remove the thermometer.
Put the new thermometer in place and make sure that it is set straight. Screw the bolt back in place using an Allen key.
8.3 HANDLE REPLACEMENT![]()

Unscrew the four nuts and remove the washers from the oven’s door.
Make sure that the bolt and the hole on the panel door are centered.
DO NOT screw the nuts if the bolt is not well centered, it may cause the door panel to break.
8.4 10 7/8 IN CHAIN, SPRING AND CAM REPLACEMENT

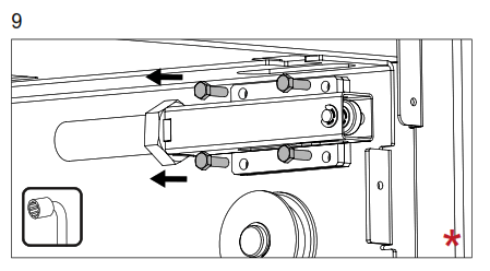
Disassemble the lower register’s handle using a pliers.
Dismount the grease tray pulling from your right side and remove the ash drawer, the tray and the ventilation grid.
Unscrew the bolts using an allen key and remove the frontal panel.
Unscrew the bolt and extract the panel.
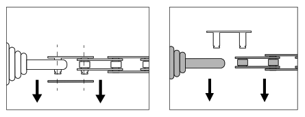
Loosen the nut on the eyebolt. Then turn the eyebolt by hand until it is possible the extraction of the spring.
Unhook the spring and the chain. First, remove the fastening clip by using pliers, to do it place the extremes where the arrows of the image indicate.
Extract the bonding link, and then remove the spring and the chain.
To remove the cam first, unscrew the fixing bolt, and then remove the pin.
Extract the cam and chain that is attached to it by the top of the damping system.
Insert the new assembly. Pass the chain and cam through the damping system.
Link the cam and the door’s cam.
Insert the chain and the spring through the bonding link’s axes, then place the link’s plate and the fixing clip. 
To fix the clip, place the extrems of the pliers where the arrows of the image indicate and press.
Insert the other extrem of the spring into the eyebolt and tighten it by hand until the door has the required damping. Then tighten the eyebolt nut.
Finally, make sure the system works properly and replace the components of the oven that we had to extract to reach the damping system.
Disassemble the lower register’s handle using a pliers.
Dismount the grease tray pulling from your right side and remove the ash drawer, the tray and the ventilation grid.
Unscrew the bolts using an allen key and remove the frontal panel.
Unscrew the bolt and extract the panel and the insulation.
Loosen the nut on the eyebolt. Then turn the eyebolt by hand until it is possible the extraction of the spring.
8.5 19 3/4 IN CHAIN AND SPRING REPLACEMENT
Unhook the spring and the chain. First, remove the fastening clip by using pliers, to do it place the extremes where the arrows of the image indicate.
Extract the bonding link, and then remove the spring and the chain.
The other end of the chain is also fixed by a bonding link to the door arm. To remove the clip, place the extrems of the pliers where the arrows of the image indicate. 
Place the new chain. First, connect the chain to the door arm using a bonding link and a fastening clip.
Insert the chain and the spring through the bonding link’s axes, then place the link’s plate and the fixing clip.
To fix the clip, place the extrems of the pliers where the arrows of the image indicate and press.
Insert the other extrem of the spring into the eyebolt and tighten it by hand until the door has the required damping. Then tighten the eyebolt nut.
Finally, make sure the system works properly and replace the components of the oven that we had to extract to reach the damping system.

Disassemble the lower register’s handle using a pliers.
Dismount the grease tray pulling from your right side and remove the ash drawer, the tray and the ventilation grid.
Unscrew the bolts using an allen key and remove the frontal panel.
Unscrew the bolt and extract the panel and the vermiculite.
Loosen the nut on the eyebolt. Then turn the eyebolt by hand until it is possible the extraction of the spring.
This steps are not necessary if you only want to change the shock absorber.
8.6 DAMPING SYSTEM REPLACEMENT
Unhook the spring and the chain. First, remove the fastening clip by using pliers, to do it place the extremes where the arrows of the image indicate.
Extract the bonding link, and then remove the spring and the chain.
To remove the cam first, unscrew the fixing bolt, and then remove the pin.
Extract the cam and chain that is attached to it by the top of the damping system.
Unscrew the plate that fix the damper system guide to the oven’s structure, using a fixed pipe wrench.
To remove the shock absorber, first of all loose up the nut and take off it.
This steps are not necessary if you only want to change the shock absorber.
Remove the old shock absorber carefully.
Put the new shock absorber in. Loosen or tig hten the shock absorber according to your needs. Place the nut, leave it loosely to be able to regulate the force of the piston once the assembly is assembled. Then screw the nut back in. If the support with guide of thedamping system need to be changed as well, do so in this step.
Put the new damping system in its place.
Finally, make sure the system works properly, tighten the piston locking nut and replace the components of the oven that we had to extract to reach the damping system.
Unscrew the two marked screws.
For more detailed information on steps 3 and 5 go to chapters 8.1 and 8.2.
Remove the old door and insulating material and replace them with the new ones.
Place the new cover, and then the handle and the thermometrer.
Screw the two screws, that had previously been remo- ved, back again.
8.8 ASHES’ GATE REPLACEMENT![]()

Remove the grill racks and the fire grates.
Clean the inside of the oven from ashes thoroughly.
Disassemble the lower register’s handle using a pliers.
Dismount the grease tray pulling from your right side and remove the ash drawer, the tray and the ventilation grid.
Unscrew the bolts using an allen key and remove the frontal panel.
Unscrew the bolt to remove the gate handle.
Cut the screws on the oven that hold the gate.
Prepare and put the new gate, then screw in the nuts and bolts.
Replace the gate handle
8.9 ASHES’ GATE PLATE REPLACEMENT
Remove the grill racks and the fire grates.
Clean the inside of the oven from ashes thoroughly.
Disassemble the lower register’s handle using a pliers.
Dismount the grease tray pulling from your right side and remove the ash drawer, the tray and the ventilation grid.
Unscrew the bolts using an allen key and remove the frontal panel.
Unscrew the bolt to remove the gate handle.
Break or cut the screw that joins the gate and the mobile part.
8.9 ASHES’ GATE PLATE REPLACEMENT
Clean the inside of the gate plate and the center hole.
Prepare and screw the new parts in.
Replace the gate handle
JOSPER COOKWARE
9.1 WARNINGS
| The JOSPER cookware products can be restricted to some countries by specific local laws. JOSPER complies with the european regulation for this type of products, any other local regulation must be considered and assumed by the client. | |
| Use only cooking tools and cookware made specifically for these uses and make sure that they were made with materials that are suitable to high temperatures. The use of unadequate tools can lead to sanitary and safety risks. | |
| JOSPER recommends the use of cooking tools by the JOSPER brand because of their efficiency and safety. | |
| It is forbidden to use cooking tools that contain polymers in their composition unless the maker explicitly specifies otherwise. | |
| Do not put inside the oven Josper cookware when the oven is in the proccess of fire-up. You can use Josper cookware inside when the temperature has stabilized. |
9.2 CASSEROLES AND LIDS
CASSEROLES![]() | 4218 | Josper casserole Ø 6 3/8 in (1 in height) |
| 4219 | Josper casserole Ø 7 7/8 in (1 5/8 in height) | |
| 4220 | Josper casserole Ø 9 1/2 in (1 3/4 in height) | |
| 4221 | Josper casserole Ø 11 in (3 in height) | |
| MINICAZ10 | Mini casserole Ø 4 in (1 3/4 in height) | |
LID FOR CASSEROLES![]() | 4225 | Josper casserole lid Ø 6 3/8 in |
| 4226 | Josper casserole lid Ø 7 7/8 in | |
| 4227 | Josper casserole lid Ø 9 1/2 in | |
| 4228 | Josper casserole lid Ø 11 in | |
| TAPCAZ10 | Mini casserole lid Ø 4 in |
9.3 GASTRONORM PANS
PANS ![]() | 4224 | Josper Gastronorm Pan GN 1/2 (2 5/8 in height) |
| 4223 | Josper Gastronorm Pan GN 1/1 (2 5/8 in height) | |
| 4242 | Josper Gastronorm Pan GN 1/6 (7/8 in height) | |
| 4222 | Josper Gastronorm Pan GN 1/3 (7/8 in height) | |
| 4238 | Josper Gastronorm Pan GN 1/1 (7/8 in height) |
9.4 BASALT DISHES
BASALT DISHES SLATE![]() | 4248 | Basalt Dish (Slate) 11 7/8 x 7 7/8 x 1/2 in |
| 4251 | Basalt Dish (Slate) 7 7/8 x 7 7/8 x 1/2 in | |
| 4260 | Basalt Dish (Slate) 18 1/8 x 11 7/8 x 1/2 in | |
| 4259 | Basalt Dish (Slate) 18 1/8 x 5 7/8 x 1/2 in | |
IROKO WOOD SUPPORTS![]() | 4249 | Iroko wood support 14 5/8 x 10 5/8 in (for Basalt dish 11 7/8 x 7 7/8 in) |
| 4263 | Iroko wood support 10 5/8 x 10 5/8 in (for Basalt dish 7 7/8 x 7 7/8 in) | |
| 4264 | Iroko wood support 20 7/8 x 14 5/8 in (for Basalt dish 18 1/8 x 11 7/8 in) | |
| 4265 | Iroko wood support 20 7/8 x 8 5/8 in (for Basalt dish 18 1/8 x 5 7/8 in) |
9.5 TONGS AND BRUSHES
TONGS![]() ![]() | 423 | Stainless steel tongs 13 3/4 in |
| 4231 | Peg for trays | |
BRUSHES![]() | 8224 | Special aluminium wire brush 14 1/4 in |
| 8224R | Spare part piece for special brush 14 1/4 in |
9.6 BASKETS AND SKEWERS
BASKETS![]() | 402 | Stainless steel Holder 19 1/4 x 7 1/2 x 4 in |
| 4243 | Josper double basket 8 1/4 x 8 1/4 x 2 3/8 in | |
SKEWERS![]() | 4027/2 | Standard support 25 1/2 in |
| 4028 | Separate meat skewer, standard model 21 5/8 in | |
![]() | 4065/2 | Special support 22 7/8 in |
| 4066 | Separate meat skewer, special model 16 1/8 in |
JOSPER CHARCOAL
JOSPER charcoal is long-lasting and provides a high calorific value. Its higher performace not only reduces cooking times and the consumption of charcoal.
The box design is more comfortable and cleaner than other formats. The boxes have a tear line for quick opening and handles on the sides, which help to deposit charcoal.
| QBE | CE | CAE | COCO | BTL | |
| WOOD TYPE | White Qebracho | Mix of tropical hard woods | Holm oak | Coconut shell | White Qebracho compacted |
| CALORIFIC VALUE* | 12103-1300 Btu/Ib | 12600-13410 Btu/Ib | 12346-13201 Btu/Ib | 8960-9664 Btu/Ib | 5897-6536 Btu/Ib |
| AROMATIC | Very aromatic | Very aromatic | Special aroma | No aroma | Aromatic |
| SPARK | Very little spark | No spark | A bit of spark | No spark | No spark |
| ORIGIN | Ecologically controlled pruning | Ecologically controlled pruning | Ecologically controlled pruning | Ecologically controlled pruning | Ecologically controlled pruning |
| GRANULOMETRY | 3 1/8 – 6 1/4 in | > 2 in | 3/4 – 4 in | 2 – 2 3/8 in Briquettes | 2 – 2 3/8 in Briquettes |
| %CARBON* (FIXED CARBON) | 78,20% | 81,20% | 81,6% | 60% | 42,1% |
| %ASHES* | < 3,24% | 5,27% | 3,87% | 26,13% | 39,35% |
| %HUMIDITY* | 4,11% | 4,09% | 4,18% | 4,66% | 5,95% |
| DENSITY* | 17,5 Ib/ft³ | 18,6 Ib/ft³ | 19,4 Ib/ft³ | 34,6 Ib/ft³ | 37,3 Ib/ft³ |
* Data resulting from the tests performed by Applus Norcontrol S.L.U.
WARRANTY
JOSPER guarantees a 1 year warranty from the purchase date of this product, against any defect in the materials and the components used in its fabrication. Our warranty includes repairs, replacement, or change of product and/or parts without any charge for the client, including manpower, as other transport charges from the fulfillment of this certificate.
THIS WARRANTY WILL NOT BE VALID UNDER THE FOLLOWING CIRCUMSTANCES:
- When this warranty shows clear signs of manipulation of the original data in it.
- When the use and care of the product has not been the one following the instrucctions on the user manual.
- When the product has been used outside of its capacity, mistreated, beaten or exposed to any liquid or corrosive substance, as for any other fault attributable to the client.
- When the product has been disarmed, modified or repaired by personnel that has not been authorized by Josper.
- When the fault is originated by the normal weathering of the parts due to its use.
- When the damage is caused by the use of liquids, chemicals or products that should not be poured inside the oven.
No other warranty, verbal or written, different that the one expressed here will be recognised by Josper.
IF YOU HAVE ANY PROBLEM MAKE SURE YOU HAVE:
– The model and serial number of the product.
– Proof of purchase.
– Clear and concrete details of the problem.
NOTE:
If the problem to be repaired is caused by an incorrect use or installation a charge will be applied, even if the product is in the warranty period.
Under no circumstance will parts that are not authorized by Josper be used as replacements,
CONTACT DETAILS
CHARCOAL EQUIPMENT
www.josper.es
![]() | ![]() |
| https://www.facebook.com/josper.charcoal.ovens/ | https://twitter.com/jospergrill?lang=ca |
![]() | ![]() |
| https://es.pinterest.com/jospergrill/ | https://plus.google.com/+josper |
Gutenberg 11 • 08397 Pineda de Mar – Barcelona – SPAIN
Tel +34 93 767 15 16 Fax +34 93 767 11 91
e-mail: [email protected]
MADE IN SPAIN
Edited by:
JOSPER S.A.U
Version 05
03.28.2019
http://m.certipedia.com/?id=9108638554![]()



















































































