BURLEY 766981 Solo 2008 Child Trailer
Congratulations!
Your Burley® trailer is the leading choice of refined bicycle trailer owners worldwide. Every effort has been made to ensure your purchase is of top quality and proven design, ready to provide you with many years and miles of happy, safe trailering. Please go to www.burley.com or contact us at [email protected] to register your warranty information.
IMPORTANT:
IT IS VERY IMPORTANT FOR YOU TO FAMILIARIZE YOURSELF WITH YOUR BURLEY BY READING THIS ENTIRE MANUAL BEFORE USE IF YOU HAVE ANY QQUESTIONS PLEASEW CONTACT YOUR AUTHORIZED BURLEY DEALER.
Introduction
Once you’ve done the initial assembly and read the safety guidelines, you’re ready to go! Before trailering, be sure you have the safety harness, seat belt, tow bar, trailer wheels and hitch securely attached.
Note: Any reference to left or right is made in direction of travel, as if you were sitting inside the trailer, looking forward.
Safety Guidelines
WARNING
BYCYCLING WITH A TRAILER AND BYCYCLING IN GENERAL CAN BE HAZARDOUS FAILURE TO NOBSERVE ANY OF THE SAFTEY GUIDLINES IN THIS MANUAL COULD RESULT IN ACCIDNET AND SERIOUS INJURY OR DEATH
- Inspect and maintain your bicycle and trailer regularly. See “Safety Checklists”.
- Because of the trailer’s additional weight, a bicycle pulling a trailer is heavier and less responsive. Avoid sudden swerving, rocks and curbs. Experiment with the loaded trailer in an uncongested area until you become familiar with it.
- The minimum age for the cyclist is 16 years.
- The maximum trailer load limit for children and/or cargo is 75 lbs (34 kg in Europe ) for single trailers and 100 lbs (40 kg in Europe) for double trailers. Secure children and/or cargo in the center, forward of the axle and as low as possible.
- The trailer seat is intended for 1 or 2 children who are old enough to wear helmets, sit upright and alone, and with adequate neck strength to hold their heads upright while trailering. A physician should evaluate anyone who is of questionable developmental age for trailering.
- The maximum age for passengers is 6 years. Never carry a child whose sitting height (with helmet) is above the roll bar.
- Fasten the seat belt and shoulder harnesses so that each child is held securely. Seat a single child in the center. Periodically check the placement of the shoulder straps, especially on sleeping children.
- Make sure children cannot put a finger into the wheel spokes.
- Instruct children not to bounce or lean, as a weight shift could cause the trailer to tip over.
- To protect children from flying debris, always use your cover. Open or close the window cover to keep your children comfortable. Never leave children unattended. Check children frequently, especially during hot or cold weather.
- Observe recommended speeds: a maximum of 15 mph (24 km/h) on smooth, straight roads and 5 mph (8 km/h) or less when turning or on uneven roads.
- Set your parking brake before removing your children or cargo.
- Never pull your trailer with a motorized vehicle.
- Cyclist and passengers must wear helmets.
- Only use factory-supplied wheels, with the tires inflated to the pressure recommended on the tire side wall. Check pressure before each use. Do not use higher-pressure or knobby tires.
- Clamp the hitch securely to the bicycle frame, and check for a tight attachment before each ride.
- Use the safety flag.
- Do not make alterations to the trailer. Contact your Authorized Burley Dealer for replacement of any damaged, worn-out or missing parts.
- Do not use your trailer on icy roads or when inclement weather makes cycling hazardous.
- The use of a mirror on your bicycle is recommended. For emergencies, breakdowns or flat tires, pull completely off the road and move your children to a safe area before doing repairs.
WARNING
TRAILERS CAN TIP OVER CAUSING DAMAGE TO TRAILER AND SERIOUS INJURY TO PASSENGERS AVOID CAUSE OF TIP OVER,ESPECIALLY
CHIOLDREN LEANING OR BOUNCING
- HITTING ,POTHOLES,CURBS,OTHER ROAD OBSTRUCTIONS
- TAKING TURN TOO FAST
- SUDDEN SWERVING
- IMPROPER WHEEL INSTALLATION OR TIRE INFLATION
Tool Required for Assembly:
Phillips screwdriver
Opening and Closing Your Trailer
Rotate front tube upward and rear tube back until they meet on plastic saddles. Figure 1 Rotate frame locks and snap onto rear tube. Figure 2 To close, unclip seat buckles on back of seat and reverse opening process.
Note:
To allow folding, side battens in d’lite and Tiger d’lite are not attached to sides.
Frame locks snapped into closed position onto rear tube
WARNING
CHECK THAT THE FRAME LOCKS ARE PROPERLY ENGAGED BEFORE USING THE TRAILER FAIOLURE TO DO SO CAN RESULT IN SERIOUS INJURY
Attaching the Seat
d’lite,™ Solo,™ and Tiger d’lite: Fasten male and female buckle parts together on straps behind seat. Adjust as needed. To fold, these buckles will need to be unclipped. Photo 1
Encore™: Fasten buckle parts on strap, and attach hooks on seat sides to D-rings by windows. To fold, unclip buckles. Photo 2
- Back of seat down

IMPORTANT:
ALWAYS KEEP SEAT ATTACHMENTS FGATENED WHILR TRAILERING
Mounting Reflectors
Mount clear reflectors on trailer front and red reflectors on trailer rear. From inside of trailer, insert screws through grommets and into reflector backs. Tighten snugly. Photo 3
IMPORTANT:
MAKE SURE REFLECTORS ARE MOUNTED HORIZONTALLY. INCORRECTLY INSTALLED REFLECTORS CAN REDUCE VISIBILITY AND CAUSE AN ACCIDENT OR SERIOUS INJURY
Installing Wheel Guards
Match holes in wheel guards with holes on outside of lower side frames. From inside of frame, install guards using the hex key wrench (included) to secure the (2) M6 x 35mm screws. Tighten.
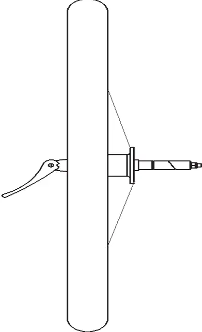
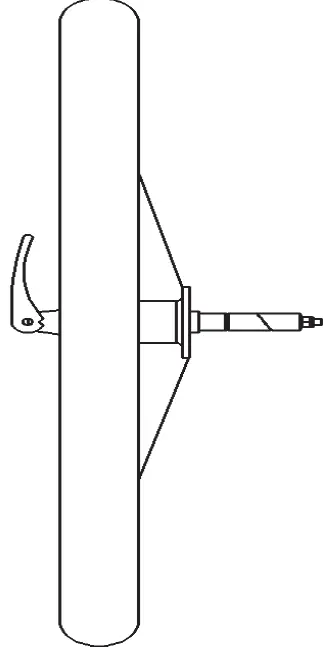
Attaching Wheels
Insert wheel axle assembly completely into trailer axle. Close quick release lever, with lever aimed at trailer rear. A properly adjusted quick release lever should leave an imprint on your palm when the lever is rotated to the closed position. Figures 4 & 5 Verify that tires are inflated to pressure marked on tire side wall.
- Quick-release lever in unlocked “Open” position

- Quick-release lever in locked “Closed” position
WARNING
MAKE SURE WHEELS ARE HELD SECURELY, WITH WHEEL SHAFT FULLY INSERTED INTO HOLLOW AXLE. YOU SHOULD NOT BE ABLE TO ROCK OR SHIFT WHEELS. IMPROPERLY INSTALLED WHEELS CAN FALL OFF, CAUSING AN ACCIDENT OR SERIOUS INJURY.
Using Parking Brake
Engage parking brake by pushing handle, at bottom rear of trailer, to the right. Photo 4 Disengage by moving parking brake to the left.
Installing and Operating Tow Bar
- Slide tow bar through both tow bar mounts on the LEFT side.
- Line up BACK tow bar hole with rear tow bar mount hole.
- Insert retaining pin through rear holes, and close spring clip securely.

WARNING
NEVER OPERATE TRAILER WITHOUT RETAINING PIN LOCKED IN PLACE. AN UNLOCKED TOW BAR CAN LOOSEN OR DETACH, CAUSING ACCIDENT RESULTING IN SERIOUS INJURY.
Installing Cover
Slip D-rings over hooked corners of front tow bar mounts and attach buckle sections below side windows. To stow front window, unzip, roll up and insert loop fastener ends on elastic straps into hook fastener holders. Adjust sunshade as needed.
Attaching Handle
Slide handle into lower handle bar receivers and tighten knobs. To change height position, flip handle over.
Installing Safety Flag
Tiger d’lite:
Slip lower end of pole through opening in Tiger d’lite tail seam and out through the tail bottom.
All:
Insert flag pole into hole in top of LEFT handle bar receiver.
IMPORTANT:
DO NOT USE TRAILER WITHOUT SAFETY FLAG.
Using Adjustable Seat (Encore):
Loosen tension on upper seat strap.
Using Seat Recliner (d’lite, Solo and Tiger d’lite):
For added comfort when children are sleeping, make the following adjustments to recline seat:
- Loosen tension on lower strap on seat back.
- Loosen tension on helmet pocket straps on seat back (four on d’lite and Tiger d’lite, two on Solo). Photo 7
- Tighten upper and lower seat strap and fasten buckles.
- Reverse these steps to return seat to upright position.
IMPORTANT:
UPPER SEAT STRAP SHOULD ALWAYS BE SECURED AND TIGHTENED WHEN TRAILERING.
- Recliner seat straps (d’lite seat back shown)
Installing Padded Seat and Shoulder Harness Pad
Padded Seat: Match, hook and loop fastening strips together (which are sewn in on back side of seat pad and seat). Figure 8
Shoulder Harness Pad (d’lite, Solo and Tiger d’lite):
Insert shoulder straps through web loops on shoulder harness pad, with straps oriented so that FLAT parts of male buckles face each other. Figure 7
- Flat face of buckles facing each other
Using Seat Harness
Solo:
- Position the child in seat center.
- Snap shoulder straps into Y-buckle, with buckle positioned at child’s sternum. Adjust straps so that child cannot move too far forward in seat.
- Fasten and adjust lap belt snugly. Figure 8

- Hook and loop fastening strips
d’lite, Encore, Tiger d’lite: One passenger:
- Place child in seat center.
- Snap shoulder straps into Y-buckle, with buckle positioned at child’s sternum. Adjust straps so that child cannot move too far forward in seat.
- Fasten and adjust lap belt snugly.
IMPORTANT:
SINGLE PASSENGER MUST BE SEATED IN CENTER POSITION.
Two passengers:
For two children, use both shoulder harnesses and two outer crotch straps.
- Seat first child on one side of seat.
- Snap shoulder straps into Y-buckle, with buckle positioned at child’s sternum. Adjust straps so that child cannot move too far forward in seat.
- Repeat for second child.
- Fasten and adjust lap belt snugly.

- To remove children from seat, release lap belt and harness buckles.
WARNING
ALWAYS SECURE CHILDREN WITH HARNESS AND LAP BELT USING USE . ONLU USE THIS SEAT IF YOUR CHILD IS CAPABLE OF SITTING UPRIGHT ALONE . FAILURE TO DO SO COULD RESULT IN ACCIDNET AND SERIOUS INJURY OR DEATH .
Hitching Trailer to Your Bicycle
- Remove rear quick release lever assembly from bike.
- Match hole on flat side of hitch upper arm to left (non-chain ring side) rear dropout hole.
- Loosely reassemble quick release assembly through hitch, dropout and wheel.
- Slide flex connector between hitch side arms, and match holes. Racks, bags, or fittings should not interfere with hitch.
- Open retaining pin and insert through hitch and flex connector holes. Rotate and close spring clip.
- Tighten and close quick release lever, with lever pointing to rear of bike. A properly adjusted quick release lever should leave an imprint on your palm when the lever is rotated to the closed position.
- Wrap safety strap twice around chain stay and then over hitch body. Fasten hook to D-ring on underside of tow bar end.
- To remove trailer from bicycle, unfasten clip from D-ring and remove retaining pin.

- Hitch Upper Arm
- Saftey strap wrapped twice around chain stay
- Hitch Side Arms
- Retaining Pin
- Quick release lever in closed position
- Flex Connector
- Hook fastened to O-ring under tow bar
WARNING
OUICK RELEASE LEVE MUST BE IN CLOSED POSITION AND HITCH SAFTEY STRAP PROPERLY INSTALLED. HITCH MUST NOT INTERFERE WITH RACKS ,BAGS OR FITTINGS.INSPECT AND HITCH AND TOW BAR FREQUENTLY FOR DAMAGE OR LOOSE FASTENERS . DAMAGE,IMPROPELY INTALLED OR
INTERFERING PATS CAN CAUSE ACCIDENTS RESULTING IN SERIOUS INJURY
Safety Checklists
Check Before Each Ride:
- Wheels tightly attached
- Tires inflated to recommended pressure on tire side wall
- Hitch properly secured with safety strap in place
- Locked retaining pin for tow bar
- Maximum load 100 lbs (40 kg in Europe) for double trailers, 75 lbs (34 kg in Europe) for single passenger trailer
- Bicycle safety check, especially brakes and tires
- Helmets for passengers and cyclist
- Safety flag in place
- All seat straps properly attached
- Children properly secured with harnesses and lap belt
Monthly Checklist - Inspect tow bar, hitch, frame tubing, flex connector and hardware for damage
- Inspect tires for wear and cracks
- Inspect wheels for trueness and cracks
- Inspect wheel bearings for wear
- Inspect fabric parts for rips, abrasion, or missing or damaged hardware
- Contact your Authorized Burley Dealer for replacement of any damaged or worn-out parts
Maintenance and Storage
Hitch and Tow Bar Maintenance
Store trailer indoors if possible. Do not use or store trailer at temperatures below 32˚F (0° C), as hitch flex connector can become brittle and possibly break, causing accident resulting in serious injury.
Fabric Care
Hand wash fabric parts with mild soap or detergent and warm water. For heavy soiling, use a nylon bristle brush. Do not use bleach. Line-dry trailer cover. Polyester fabric will eventually fade, especially when exposed to direct sunlight. Wipe dry (to help avoid mildew) and store out of direct sunlight in a dry, well-ventilated area, or use a Burley Trailer Storage Cover to protect your trailer. Cover window may crack if trailer is stored below 32°F (0°C). Replace any damaged parts.
2008 Solo Replacement Parts and Diagram
| Diagram # | Part # | Description | Warranty |
| 1 | 960000 | Standard Hitch | lifetime |
| 2 | 960009 | Safety Flag | 1 year |
| 3 | 950003 | Handle Bar Clamp Kit | 5 years |
| 4 | 250042 | Handle Assembly w/Tether | lifetime |
| 5 | 150014 | Seat and Harness Pad | 1 year |
| 6 | 950004 | Shoulder Safety Strap (Set of 2) | 1 year |
| 250152 | Seat (NOT SHOWN) | 1 year | |
| 250155 | Bag/Side Panels (NOT SHOWN) | 1 year | |
| 7 | 960030 | Sunscreen | 1 year |
| 8 | 250004 | 2-in-1 Cover | 1 year |
| 9 | 950005 | Tow Bar Receiver Kit (front tow bar receiver, rear tow bar receiver, tow bar glides, bolts, nuts) | lifetime |
10 | 250044 | Tow Bar Assembly (tow bar, safety strap, flex connector) | lifetime- tow bar 5 years- flex connector /safety strap |
| 11 | 950006 | Frame Assembly, Front (tube, frame locks, hinge) | lifetime |
| 12 | 950011 | Frame Assembly, Rear (tube, saddles, hinges) | lifetime |
| 13 | 950013 | Lower Frame Set (Main frame L & R), Cross Frame (Front & Rear), Bag Holder | lifetime |
| 14 | 160021 | Wheels (with quick release, axle, tire, reflectors) (SOLD INDIVIDUALLY) | 5 years |
| 15 | 250037 | Brake Assembly | lifetime |
| 16 | 250046 | External Roll Bar (available ONLY in Europe) | lifetime |
| 17 | 250179 | Suspension Assembly | 5 years |
| 18 | 950038 | Flex Connector for Square Tow Bar | 5 years |
Please go to www.burleygear.com for updated product parts list and diagrams
2008 d’lite, Tiger d’lite and Encore Replacement Parts and Diagram
Diagram # | d’lite/ Tiger d’lite Part # | Encore Part # | Description | Warranty |
| 1 | 960000 | 960000 | Standard Hitch | lifetime |
| 2 | 960009 | 960009 | Safety Flag | 1 year |
| 3 | 950003 | 950003 | Handle Bar Clamp Kit | 5 years |
| 4 | 250033 | 250033 | Handle Assembly w/Tether | lifetime |
| 5 | 150015 | 150015 | Seat and Harness Pads | 1 year |
| 6 | 950004 | 950004 | Shoulder Safety Strap (Set of 2) | 1 year |
| 250151 | 250156 | Seat (NOT SHOWN) | 1 year | |
| 250154 | 250157 | Bag/Side Panels (NOT SHOWN) | 1 year | |
| 7 | 960031 | 960031 | Sunscreen | 1 year |
| 8 | 250001 | 250002 | 2-in-1 Cover | 1 year |
| 250165 | n/a | 2-in-1 Cover and Tail for Tiger D’lite (NOT SHOWN) | 1 year | |
| 9 | 950005 | 950005 | Tow Bar Receiver Kit (front tow bar receiver, rear tow bar receiver, tow bar glides, bolts, nuts) | lifetime |
| 10 | 250027 | 250027 | Tow Bar Assembly (tow bar, safety strap, flex connector) | lifetime- tow bar 5 years- flex connector / safety strap |
| 11 | 950007 | 950008 | Frame Assembly, Front (tube, frame locks, hinge) | lifetime |
| 12 | 950009 | n/a | Upper Batten (pair) | lifetime |
| 13 | 950010 | n/a | Lower Batten (pair) | lifetime |
| 14 | 950012 | 950012 | Frame Assembly, Rear (tube, saddles, hinges) | lifetime |
| 15 | 950014 | 950015 | Lower Frame Set (Main frame L & R), Cross Frame (Front & Rear), Bag Holder | lifetime |
| 16 | 160020 | 160020 | Wheels (with quick release, axle, tires, reflectors) (SOLD INDIVIDUALLY) | 5 years |
| 17 | 250153 | 250026 | Brake Assembly | lifetime |
| 18 | 250032 | 250032 | External Roll Bar (available ONLY in Europe) | lifetime |
| 19 | 250178 | n/a | Suspension Assembly | 5 years |
| n/a | 950016 | Axle Assembly (Encore Only) (NOT SHOWN) | lifetime | |
| 20 | 950038 | 950038 | Flex Connector for Square Tow Bar | 5 years |
Please go to www.burleygear.com for updated product parts list and diagrams
Burley Trailer Limited Warranty
Burley trailers are warranted from date of purchase against defects in materials and workmanship under normal use and service. Burley will repair or replace parts it determines to be defective as follows: fabric parts for one year, plastic parts for five years and durable frame parts for the lifetime of the trailer. The Burley trailer owner must present the trailer for repair at place of purchase, with an original sales receipt or similar proof of purchase. This warranty applies only to the original owner and is nontransferable. Burley can not be responsible for failure due to improper assembly, modification of parts or instructions, neglect, abuse, accident, and/or normal wear. The warranty does not cover any trailer used for rental, competition, or commercial use. Burley neither assumes nor authorizes any person to assume any other liability in connection with this Burley product, and there are no oral agreements or warranties collateral to or affecting this agreement. This warranty gives you specific rights. You may also have other rights which vary by state or country.
























