
Y63IV443
User Manual Hob
electrolux.com/register
Y63IV443 600 Bridge 60 cm Induction Hob
WE’RE THINKING OF YOU
Thank you for purchasing an Electrolux appliance. You’ve chosen a product that brings with it decades of professional experience and innovation. Ingenious and stylish, it has been designed with you in mind. So whenever you use it, you can be safe in the knowledge that you’ll get great results every time. Welcome to Electrolux. Visit our website to:
Get usage advice, brochures, trouble shooter, service and repair information: www.electrolux.com/support
Register your product for better service: www.registerelectrolux.com
Buy Accessories, Consumables and Original spare parts for your appliance: www.electrolux.com/shop
CUSTOMER CARE AND SERVICE
Always use original spare parts.
When contacting our Authorised Service Centre, ensure that you have the following data available: Model, PNC, Serial Number.
The information can be found on the rating plate.
Warning / Caution-Safety information
General information and tips
Environmental information
SAFETY INFORMATION
Before the installation and use of the appliance, carefully read the supplied instructions. The manufacturer is not responsible for any injuries or damage that are the result of incorrect installation or usage. Always keep the instructions in a safe and accessible location for future reference.
Children and vulnerable people safety
This appliance can be used by children aged from 8 years and above and persons with reduced physical, sensory or mental capabilities or lack of experience and knowledge if they have been given supervision or instruction concerning the use of the appliance in a safe way and understand the hazards involved. Children of less than 8 years of age and persons with very extensive and complex disabilities shall be kept away from the appliance unless continuously supervised.
- Children should be supervised to ensure that they do not play with the appliance.
- Keep all packaging away from children and dispose of it appropriately.
- WARNING: The appliance and its accessible parts become hot during use. Keep children and pets away from the appliance when in use and when cooling down.
- If the appliance has a child safety device, it should be activated.
- Children shall not carry out cleaning and user maintenance of the appliance without supervision.
General Safety
- This appliance is for cooking purposes only.
- This appliance is designed for single household domestic use in an indoor environment.
- This appliance may be used in, offices, hotel guest rooms, bed & breakfast guest rooms, farm guest houses and other similar accommodation where such use does not exceed (average) domestic usage levels.
- WARNING: The appliance and its accessible parts become hot during use. Care should be taken to avoid touching heating elements.
- WARNING: Unattended cooking on a hob with fat or oil can be dangerous and may result in fire.
- Never use water to extinguish the cooking fire. Switch off the appliance and cover flames with e.g. a fire blanket or lid.
- WARNING: The appliance must not be supplied through an external switching device, such as a timer, or connected to a circuit that is regularly switched on and off by a utility.
- CAUTION: The cooking process has to be supervised. A short term cooking process has to be supervised continuously.
- WARNING: Danger of fire: Do not store items on the cooking surfaces.
- Metallic objects such as knives, forks, spoons and lids should not be placed on the hob surface since they can get hot.
- Do not use the appliance before installing it in the built-in structure.
- Do not use a steam cleaner to clean the appliance.
- After use, switch off the hob element by its control and do not rely on the pan detector.
- If the glass ceramic surface / glass surface is cracked, switch off the appliance and unplug it from the mains. In case the appliance is connected to the mains directly using junction box, remove the fuse to disconnect the appliance from power supply. In either case contact the Authorised Service Centre.
- If the supply cord is damaged, it must be replaced by the manufacturer, an authorized Service or similarly qualified persons in order to avoid a hazard.
- WARNING: Use only hob guards designed by the manufacturer of the cooking appliance or indicated by the manufacturer of the appliance in the instructions for use as suitable or hob guards incorporated in the appliance. The use of inappropriate guards can cause accidents.
Installation
WARNING!
Only a qualified person must install this appliance.
WARNING!
Risk of injury or damage to the appliance.
- Remove all the packaging.
- Do not install or use a damaged appliance.
- Follow the installation instructions supplied with the appliance.
- Keep the minimum distance from other appliances and units.
- Always take care when moving the appliance as it is heavy. Always use safety gloves and enclosed footwear.
- Seal the cut surfaces of the cabinet with a sealant to prevent moisture from causing swelling.
- Protect the bottom of the appliance from steam and moisture.
- Do not install the appliance next to a door or under a window. This prevents hot cookware from falling from the appliance when the door or the window is opened.
- Each appliance has cooling fans on the bottom.
- If the appliance is installed above a drawer:
- Do not store any small pieces or sheets of paper that could be pulled in, as they can damage the cooling fans or impair the cooling system.
- Keep a distance of minimum 2 cm between the bottom of the appliance and parts stored in the drawer.
- Remove any separator panels installed in the cabinet below the appliance.
Electrical Connection
WARNING!
Risk of fire and electric shock.
- All electrical connections should be made by a qualified electrician.
- The appliance must be earthed.
- Before carrying out any operation make sure that the appliance is disconnected from the power supply.
- Make sure that the parameters on the rating plate are compatible with the electrical ratings of the mains power supply.
- Make sure the appliance is installed correctly. Loose and incorrect electricity mains cable or plug (if applicable) can make the terminal become too hot.
- Use the correct electricity mains cable.
- Do not let the electricity mains cable tangle.
- Make sure that a shock protection is installed.
- Use the strain relief clamp on the cable.
- Make sure the mains cable or plug (if applicable) does not touch the hot appliance or hot cookware, when you connect the appliance to a socket.
- Do not use multi-plug adapters and extension cables.
- Make sure not to cause damage to the mains plug (if applicable) or to the mains cable. Contact our Authorised Service Centre or an electrician to change a damaged mains cable.
- The shock protection of live and insulated parts must be fastened in such a way that it cannot be removed without tools.
- Connect the mains plug to the mains socket only at the end of the installation. Make sure that there is access to the mains plug after the installation.
- If the mains socket is loose, do not connect the mains plug.
- Do not pull the mains cable to disconnect the appliance. Always pull the mains plug.
- Use only correct isolation devices: line protecting cut-outs, fuses (screw type fuses removed from the holder), earth leakage trips and contactors.
- The electrical installation must have an isolation device which lets you disconnect the appliance from the mains at all poles. The isolation device must have a contact opening width of minimum 3 mm.
Use
WARNING!
Risk of injury, burns and electric shock.
- Do not change the specification of this appliance.
- Remove all the packaging, labelling and protective film (if applicable) before first use.
- Make sure that the ventilation openings are not blocked.
- Do not let the appliance stay unattended during operation.
- Set the cooking zone to “off” after each use.
- Do not put cutlery or saucepan lids on the cooking zones. They can become hot.
- Do not operate the appliance with wet hands or when it has contact with water.
- Do not use the appliance as a work surface or as a storage surface.
- If the surface of the appliance is cracked, disconnect immediately the appliance from the power supply. This to prevent an electrical shock.
- Users with a pacemaker must keep a distance of minimum 30 cm from the induction cooking zones when the appliance is in operation.
- When you place food into hot oil, it may splash.
WARNING!
Risk of fire and explosion
- Fats and oil when heated can release flammable vapours. Keep flames or heated objects away from fats and oils when you cook with them.
- The vapours that very hot oil releases can cause spontaneous combustion.
- Used oil, that can contain food remnants, can cause fire at a lower temperature than oil used for the first time.
- Do not put flammable products or items that are wet with flammable products in, near or on the appliance.
WARNING!
Risk of damage to the appliance.
- Do not keep hot cookware on the control panel.
- Do not put a hot pan cover on the glass surface of the hob.
- Do not let cookware boil dry.
- Be careful not to let objects or cookware fall on the appliance. The surface can be damaged.
- Do not activate the cooking zones with empty cookware or without cookware.
- Do not put aluminium foil on the appliance.
- Cookware made of cast iron or with a damaged bottom can cause scratches on the glass / glass ceramic. Always lift these objects up when you have to move them on the cooking surface.
Care and cleaning
- Clean the appliance regularly to prevent the deterioration of the surface material.
- Switch off the appliance and let it cool down before cleaning.
- Do not use water spray and steam to clean the appliance.
- Clean the appliance with a moist soft cloth. Use only neutral detergents. Do not use abrasive products, abrasive cleaning pads, solvents or metal objects.
Service
- To repair the appliance contact the Authorised Service Centre. Use original spare parts only.
- Concerning the lamp(s) inside this product and spare part lamps sold separately: These lamps are intended to withstand extreme physical conditions in household appliances, such as temperature, vibration, humidity, or are intended to signal information about the operational status of the appliance. They are not intended to be used in other applications and are not suitable for household room illumination.
Disposal
WARNING!
Risk of injury or suffocation.
- Contact your local authority for information on how to dispose of the appliance.
- Disconnect the appliance from the mains supply.
- Cut off the mains electrical cable close to the appliance and dispose of it.
INSTALLATION
WARNING!
Refer to Safety chapters.
Before the installation
Before you install the hob, write down the information below from the rating plate. The rating plate is on the bottom of the hob.
Serial number ………………………
Built-in hobs
Only use the built-in hobs after you assemble the hob into correct built-in units and work surfaces that align to the standards.
Connection cable
- The hob is supplied with a connection cable.
- To replace the damaged mains cable, use the cable type: H05V2V2-F which withstands a temperature of 90 °C or higher. The single wire must have a diameter of minimum 1,5 mm². Speak to your local Service Centre. The connection cable may only be replaced by a qualified electrician.
WARNING!
All electrical connections must be made by a qualified electrician.
CAUTION!
Connections via contact plugs are forbidden.
CAUTION!
Do not drill or solder the wire ends. It is forbidden.
CAUTION!
Do not connect the cable without cable end sleeve.
One-phase connection
- Remove the cable end sleeve from black and brown wires.
- Remove an insulation of the brown and black cable ends.
- Merge the black and brown cable ends.
- Apply a new wire end sleeve on the common cable end (special tool required).
Cable cross section 2 x 1,5 mm²

| One-phase connection: 220 – 240 V~ | Two-phase connection: 400 V 2 ~ N | ||
| Green – yellow | Green – yellow | ||
| N | Blue and blue | N | Blue and blue |
| L | Black and brown | L1 | Black |
| L2 | Brown | ||
Assembly
If you install the hob under a hood, please see the installation instructions of the hood for the minimum distance between the appliances.

If the appliance is installed above a drawer, the hob ventilation can warm up the items stored in the drawer during the cooking process.

Find the video tutorial “How to install your Electrolux Induction Hob – Worktop installation” by typing out the full name indicated in the graphic below.
www.youtube.com/electrolux
www.youtube.com/aeg
How to install your Electrolux Induction Hob – Worktop installation![]()
PRODUCT DESCRIPTION
Cooking surface layout

1 Induction cooking zone
2 Control panel
Control panel layout

Use the sensor fields to operate the appliance. The displays, indicators and sounds tell which functions operate.
| Sensor field | Function | Comment | |
| 1 | On / Off | To activate and deactivate the hob. | |
| 2 | Lock / Child Safety Device | To lock / unlock the control panel. | |
| 3 | Pause | To activate and deactivate the function. | |
| 4 | Bridge | To activate and deactivate the function. | |
| 5 | – | Heat setting display | To show the heat setting. |
| 6 | – | Timer indicators of cooking zones | To show for which zone you set the time. |
| 7 | – | Timer display | To show the time in minutes. |
| 8 | Hob²Hood | To activate and deactivate the manual mode of the function. | |
| 9 | – | To select the cooking zone. | |
| 10 | – | To increase or decrease the time. | |
| 11 | PowerBoost | To activate the function. | |
| 12 | – | Control bar | To set a heat setting. |
Heat setting displays
| Display | Description |
| The cooking zone is deactivated. | |
| The cooking zone operates. | |
| Pause operates. | |
| Automatic Heat Up operates. | |
| PowerBoost operates. | |
| There is a malfunction. | |
| OptiHeat Control (3 step Residual heat indicator): continue cooking / keep warm / resid‐ ual heat. | |
| Lock / Child Safety Device operates. | |
| Incorrect or too small cookware or no cookware on the cooking zone. | |
| Automatic Switch Off operates. |
BEFORE FIRST USE
WARNING!
Refer to Safety chapters.
Power limitation
Power limitation defines how much power is used by the hob in total, within the limits of the house installation fuses.
The hob is set to its highest possible power level by default.
To decrease or increase the power level:
- Deactivate the hob.
- Press and hold
for 3 seconds. The display comes on and goes off. - Press and hold
for 3 seconds.
or
appears. - Press
. P72 appears. - Press
of the timer to set the power level.
Power levels
Refer to “Technical data” chapter.
CAUTION!
Make sure that the selected power fits the house installation fuses.
- P72 — 7200 W
- P15 — 1500 W
- P20 — 2000 W
- P25 — 2500 W
- P30 — 3000 W
- P35 — 3500 W
- P40 — 4000 W
- P45 — 4500 W
- P50 — 5000 W
- P60 — 6000 W
DAILY USE
WARNING!
Refer to Safety chapters.
Activating and deactivating
Touch
for 1 second to activate or deactivate the hob.
Automatic Switch Off
The function deactivates the hob automatically if:
- all cooking zones are deactivated,
- you do not set the heat setting after you activate the hob,
- you spill something or put something on the control panel for more than 10 seconds (a pan, a cloth, etc.). An acoustic signal sounds and the hob deactivates. Remove the object or clean the control panel.
- the hob gets too hot (e.g. when a saucepan boils dry). Let the cooking zone cool down before you use the hob again.
- you use incorrect cookware. The symbol
comes on and the cooking zone deactivates automatically after 2 minutes. - you do not deactivate a cooking zone or change the heat setting. After some time
comes on and the hob deactivates.
The relation between the heat setting and the time after which the hob deactivates:
| Heat setting | The hob deactivates after |
| 6 hours | |
| 4 – 7 | 5 hours |
| 8 – 9 | 4 hours |
| 10 – 14 | 1.5 hour |
The heat setting
To set or change the heat setting:
Touch the control bar at the correct heat setting or move your finger along the control bar until you reach the correct heat setting.

OptiHeat Control (3 step Residual heat indicator)
WARNING!
As long as the indicator is on, there is a risk of burns from residual heat.
The induction cooking zones produce the heat necessary for the cooking process directly in the bottom of the cookware. The glass ceramic is heated by the heat of the cookware.
The indicators appear when a cooking zone is hot. They show the level of the residual heat for the cooking zones you are currently using:
– continue cooking,
– keep warm,
– residual heat.
The indicator may also appear:
- for the neighbouring cooking zones even if you are not using them,
- when hot cookware is placed on cold cooking zone,
- when the hob is deactivated but the cooking zone is still hot. The indicator disappears when the cooking zone has cooled down.
Using the cooking zones
Place the cookware in the centre of the selected zone. Induction cooking zones adapt to the dimension of the bottom of the cookware automatically.
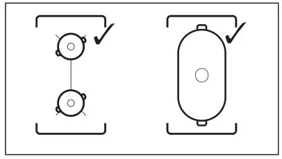
You can cook with large cookware placed on two cooking zones at the same time. The cookware must cover the centres of both zones but not go beyond the area marking. If the cookware is located between the two centres, Bridge function will not be activated.


Bridge
The function operates when the pot covers the centres of the two zones. For more information on the correct placement of cookware refer to “Using the cooking zones”.
This function connects two left side cooking zones and they operate as one.
First set the heat setting for one of the left side cooking zones. .
To activate the function: touch.
To set or change the heat setting touch one of the control sensors.
To deactivate the function: touch
. The cooking zones operate independently.
Automatic Heat Up
Use the function to get a desired heat setting in a shorter time. When the function is on, the cooking zone operates at the highest heat setting in the beginning and then continues to operate at the desired heat setting.
To activate the function the cooking zone must be cold.
To activate the function for a cooking
zone: touch
(
comes on). Immediately touch a desired heat setting. After 3 seconds
comes on.
To deactivate the function: change the heat setting.
Power Boost
This function makes more power available to the induction cooking zones. The function can be activated for the induction cooking zone only for a limited period of time. After this time the induction cooking zone automatically sets back to the highest heat setting.
Refer to “Technical data” chapter.
To activate the function for a cooking
zone: touch
.
comes on.
To deactivate the function: change the heat setting.
Timer
• Count Down Timer
You can use this function to set the length of a single cooking session.
First set the heat setting for the cooking zone, then set the function.
To set the cooking zone: touch
repeatedly until the indicator of a cooking zone appears.
To activate the function: touch
of the timer to set the time (00 – 99 minutes). When the indicator of the cooking zone starts to flash, the time counts down.
To see the remaining time: touch
to set the cooking zone. The indicator of the cooking zone starts to flash. The display shows the remaining time.
To change the time: touch to set the cooking zone. Touch
or
.
To deactivate the function: touch
to set the cooking zone and then touch
. The remaining time counts down to 00. The indicator of the cooking zone disappears.
When the countdown ends, an acoustic signal sounds and 00 flashes. The cooking zone deactivates.
To stop the sound: touch
.
• CountUp Timer
You can use this function to monitor how long the cooking zone operates.
To set the cooking zone: touch
repeatedly until the indicator of a cooking zone appears.
To activate the function: touch
of the timer.
appears. When the indicator of the cooking zone starts to flash, the time counts up. The display switches between
and the counted time (in minutes).
To see how long the cooking zone
operates: touch
to set the cooking zone. The indicator of the cooking zone starts to flash. The display shows how long the zone operates.
To deactivate the function: touch
and then touch
or
. The indicator of the cooking zone disappears.
• Minute Minder You can use this function when the hob is activated and the cooking zones do not operate. The heat setting display shows .
To activate the function: touch
and then touch
or
of the timer to set the time. When the time finishes, an acoustic signal sounds and 00 flashes.
To stop the sound: touch
.
The function has no effect on the operation of the cooking zones.
Pause
This function sets all cooking zones that operate to the lowest heat setting.
When the function operates, all other symbols on the control panels are locked.
The function does not stop the timer functions.
- To activate the function: press
.
comes on. The heat setting is lowered to 1. - To deactivate the function: press
.
The previous heat setting comes on.
Lock
You can lock the control panel while cooking zones operate. It prevents an accidental change of the heat setting.
Set the heat setting first.
To activate the function: touch
.
comes on for 4 seconds. The Timer stays on.
To deactivate the function: touch
. The previous heat setting comes on.
When you deactivate the hob, you also deactivate this function.
Child Safety Device
This function prevents an accidental operation of the hob.
To activate the function: activate the hob with
. Do not set any heat setting.
Touch
for 4 seconds.
comes on. Deactivate the hob with![]()
To deactivate the function: activate the hob with
. Do not set any heat setting.
Touch
for 4 seconds.
comes on. Deactivate the hob with
.
To override the function for only one
cooking time: activate the hob with
.
comes on.
Touch
for 4 seconds. Set the heat setting in 10 seconds. You can operate the hob. When you deactivate the hob with
the function operates again.
Off Sound Control (Deactivating and activating the sounds)
Deactivate the hob. Touch
for 3 seconds.
The display comes on and goes out. Touch
for 3 seconds.
or
comes on. Touch of the timer to choose one of the following:
– the sounds are off
– the sounds are on
To confirm your selection wait until the hob deactivates automatically.
When the function is set to
you can hear the sounds only when:
- you touch

- Minute Minder comes down
- Count Down Timer comes down
- you put something on the control panel.
Power management
If multiple zones are active and the consumed power exceeds the limitation of the power supply, this function divides the available power between all cooking zones (connected to the same phase). The hob controls heat settings to protect the fuses of the house installation.
- Cooking zones are grouped according to the location and number of the phases in the hob. Each phase has a maximum electricity loading (3700 W). If the hob reaches the limit of maximum available power within one phase, the power of the cooking zones will be automatically
reduced. - The heat setting of the cooking zone selected last is always prioritised. The remaining power will be divided between the previously activated cooking zones in reverse order of selection.
- The heat setting display of the reduced zones changes between the initially selected heat setting and the reduced heat setting.
- Wait until the display stops flashing or reduce the heat setting of the cooking zone selected last. The cooking zones will continue operating with the reduced heat setting. Change the heat settings of the cooking zones manually, if necessary. Refer to the illustration for possible combinations in which power can be distributed among the cooking zones.

Hob²Hood
It is an advanced automatic function which connects the hob to a special hood. Both the hob and the hood have an infrared signal communicator. Speed of the fan is defined automatically on basis of mode setting and temperature of the hottest cookware on the hob. You can also operate the fan from the hob manually.
For most of the hoods the remote system is originally deactivated. Activate it before you use the function. For more information refer to hood user manual.
Operating the function automatically
To operate the function automatically set the automatic mode to H1 – H6. The hob is originally set to H5. The hood reacts whenever you operate the hob. The hob recognizes temperature of the cookware automatically and adjusts the speed of the fan.
Automatic modes
| Automatic light | Boiling1) | Frying2) | |
| Mode H0 | Off | Off | Off |
| Mode H1 | On | Off | Off |
| Mode H2 3) | On | Fan speed 1 | Fan speed 1 |
| Mode H3 | On | Off | Fan speed 1 |
| Mode H4 | On | Fan speed 1 | Fan speed 1 |
| Mode H5 | On | Fan speed 1 | Fan speed 1 |
| Mode H6 | On | Fan speed 1 | Fan speed 1 |
- The hob detects the boiling process and activates fan speed in accordance with automatic mode.
- The hob detects the frying process and activates fan speed in accordance with automatic mode.
- This mode activates the fan and the light and does not rely on the temperature.
Changing the automatic mode
- Deactivate the hob.
- Press
for 3 seconds. The display comes on and goes off. - Press
for 3 seconds. - Press
a few times until
comes on. - Press
of the timer to select an automatic mode.
To operate the hood directly on the hood panel deactivate the automatic mode of the function.
When you finish cooking and deactivate the hob, the hood fan may still operate for a certain period of time. After that time the system deactivates the fan automatically and prevents you from accidental activation of the fan for the next 30 seconds.
Operating the fan speed manually
You can also operate the function manually.
To do that press
when the hob is active. This deactivates automatic operation of the function and allows you to change the fan speed manually. When you press
you raise the fan speed by one. When you reach an intensive level and press
again you will set fan speed to 0 which deactivates the hood fan. To start the fan again with fan speed 1 press
.
To activate automatic operation of the function, deactivate the hob and activate it again.
Activating the light
You can set the hob to activate the light automatically whenever you activate the hob.
To do so set the automatic mode to H1 – H6.
The light on the hood deactivates 2 minutes after deactivating the hob.
HINTS AND TIPS
WARNING!
Refer to Safety chapters.
Cookware
For induction cooking zones a strong electro-magnetic field creates the heat in the cookware very quickly.
Use the induction cooking zones with suitable cookware.
- The bottom of the cookware must be as thick and flat as possible.
- Ensure pan bases are clean and dry before placing on the hob surface.
- In order to avoid scratches, do not slide or rub the pot across the ceramic glass.
Cookware material
- correct: cast iron, steel, enamelled steel, stainless steel, multi-layer bottom (with a correct marking from a manufacturer).
- not correct: aluminium, copper, brass, glass, ceramic, porcelain.
Cookware is suitable for an induction hob if:
- water boils very quickly on a zone set to the highest heat setting.
- a magnet pulls on to the bottom of the cookware.
Cookware dimensions
- Induction cooking zones adapt to the dimension of the bottom of the cookware automatically.
- The cooking zone efficiency is related to the diameter of the cookware. The cookware with a diameter smaller than the minimum receives only a part of the power generated by the cooking zone.
- For both safety reasons and optimal cooking results, do not use cookware larger than indicated in “Cooking zones specification”. Avoid keeping cookware close to the control panel during the cooking session. This might impact the functioning of the control panel or accidentally activate hob functions.
Refer to “Technical data”.
The noises during operation
If you can hear:
- crack noise: cookware is made of different materials (a sandwich construction).
- whistle sound: you use a cooking zone with a high power level and the cookware is made of different materials (a sandwich construction).
- humming: you use a high power level.
- clicking: electric switching occurs.
- hissing, buzzing: the fan operates.
The noises are normal and do not indicate any malfunction.
Öko Timer (Eco Timer)
To save energy, the heater of the cooking zone deactivates before the count down timer sounds. The difference in the operation time depends on the heat setting level and the length of the cooking operation.
Examples of cooking applications
The correlation between the heat setting of a zone and its consumption of power is not linear. When you increase the heat setting, it is not proportional to the increase of the consumption of power. It means that a cooking zone with the medium heat setting uses less than a half of its power.
The data in the table is for guidance only.
| Heat setting | Use to: | Time (min) | Hints |
| Keep cooked food warm. | as necessary | Put a lid on the cookware. | |
| 1 – 3 | Hollandaise sauce, melt: butter, chocolate, gelatine. | 5 – 25 | Mix from time to time. |
| 2 – 3 | Solidify: fluffy omelettes, baked eggs. | 10 – 40 | Cook with a lid on. |
| 3 – 5 | Simmer rice and milkbased dishes, heat up ready-cooked meals. | 25 – 50 | Add at least twice as much liquid as rice, mix milk dishes halfway through the procedure. |
| 5 – 7 | Stew vegetables, fish, meat. | 20 – 45 | Add a few tablespoons of water. Check the water amount during the process. |
| 7 – 9 | Steam potatoes and other vegetables. | 20 – 60 | Cover the bottom of the pot with 1-2 cm of water. Check the water level during the process. Keep the lid on the pot. |
| 7 – 9 | Cook larger quantities of food, stews and soups. | 60 – 150 | Up to 3 I of liquid plus ingredients. |
| 9 – 12 | Gentle fry: escalope, veal cordon bleu, cutlets, rissoles, sausages, liver, roux, eggs, pancakes, doughnuts. | as necessary | Turn over when needed. |
| 12 – 13 | Heavy fry, hash browns, loin steaks, steaks. | 5 – 15 | Turn over when needed. |
| 14 | Boil water, cook pasta, sear meat (goulash, pot roast), deep-fry chips. | ||
| Boil large quantities of water. PowerBoost is activated. | |||
Hints and Tips for Hob²Hood
When you operate the hob with the function:
- Protect the hood panel from direct sunlight.
- Do not spot halogen light on the hood panel.
- Do not cover the hob control panel.
- Do not interrupt the signal between the hob and the hood (e.g. with the hand, a cookware handle or a tall pot). See the picture.
The hood pictured below is for illustration purpose only.

Other remotely controlled appliances may block the signal. Do not use any such appliances near to the hob while Hob²Hood is on.
Cooker hoods with the Hob²Hood function
To find the full range of cooker hoods which work with this function refer to our consumer website. The Electrolux cooker hoods that work with this function must have the symbol
.
CARE AND CLEANING
WARNING!
Refer to Safety chapters.
General information
- Clean the hob after each use.
- Always use cookware with a clean base.
- Scratches or dark stains on the surface have no effect on how the hob operates.
- Use a special cleaner suitable for the surface of the hob.
- Use a special scraper for the glass.
Cleaning the hob
- Remove immediately: melted plastic, plastic foil, salt, sugar and food with sugar, otherwise, the dirt can cause damage to the hob. Take care to avoid burns. Use a special hob scraper on the glass surface at an acute angle and move the blade on the surface.
- Remove when the hob is sufficiently cool: limescale rings, water rings, fat stains, shiny metallic discoloration. Clean the hob with a moist cloth and a nonabrasive detergent. After cleaning, wipe the hob dry with a soft cloth.
- Remove shiny metallic discoloration: use a solution of water with vinegar and clean the glass surface with a cloth.
TROUBLESHOOTING
WARNING!
Refer to Safety chapters.
What to do if…
| Problem | Possible cause | Remedy |
| You cannot activate or operate the hob. | The hob is not connected to an electrical supply or it is connected incorrectly. | Check if the hob is correctly connected to the electrical supply. |
| The fuse is blown. | Make sure that the fuse is the cause of the malfunction. If the fuse is blown again and again, contact a qualified electrician. | |
| You did not set the heat setting for 10 seconds. | Activate the hob again and set the heat setting in less than 10 seconds. | |
| You touched 2 or more sensor fields at the same time. | Touch only one sensor field. | |
| Pause operates. | Refer to “Pause”. | |
| There is water or fat stains on the control panel. | Clean the control panel. | |
| You can hear a constant beep noise. | The electrical connection is incorrect. | Disconnect the hob from the electrical supply. Ask a qualified electrician to check the installation. |
| An acoustic signal sounds and the hob deactivates. An acoustic signal sounds when the hob is deactivated. | You put something on one or more sensor fields | Remove the object from the sensor fields. |
| The hob deactivates. | You put something on the sensor field ®. | Remove the object from the sensor field. |
| Residual heat indicator does not come on. | The zone is not hot because it operated only for a short time or the sensor is damaged. | If the zone operated sufficiently long to be hot, speak to an Authorised Service Centre. |
| You use a very tall pot which blocks the signal. | Use a smaller pot, change the cooking zone or operate the hood manually. | |
| Automatic Heat Up does not operate. | The highest heat setting is set. | The highest heat setting has the same power as the function. |
| The zone is hot. | Let the zone become sufficiently cool. | |
| The heat setting changes be- tween two levels. | Power management operates. | Refer to “Daily use”. |
| The control panel becomes hot to the touch. | The cookware is too large or you put it too close to the control panel. | Put large cookware on the rear zones, if possible. |
| There is no sound when you touch the panel sensor fields. | The sounds are deactivated. | Activate the sounds. Refer to “Daily use”. |
| Child Safety Device or Lock operates. | Refer to “Daily use”. | |
| There is no cookware on the zone. | Put cookware on the zone. | |
| The cookware is unsuitable. | Use cookware suitable for induction hobs. Refer to “Hints and Ups”. | |
| The diameter of the bottom of the cookware is too small for the zone. | Use cookware with correct dimensions. Refer to “Technical data”. | |
| There is an error in the hob. | Deactivate the hob and activate it again after 30 seconds. If continues, speak to an Authorised Service Centre. |
If you cannot find a solution…
If you cannot find a solution to the problem yourself, contact your dealer or an Authorised Service Centre. Give the data from the rating plate. Give also three digit letter code for the glass ceramic (it is in the corner of the glass surface) and an error message that comes on. Make sure, you operated the hob correctly. If not the servicing by a service technician or dealer will not be free of charge, also during the warranty period. The information about guarantee period and Authorised Service Centres are in the guarantee booklet.
TECHNICAL DATA
Rating plate
| Model Y63IV443 | PNC 949 599 256 00 |
| Typ 61 B4A 01 AA | 220 – 240 V / 400 V 2N, 50 / 60 Hz |
| Induction 7.2 kW | Made in: Germany |
| Ser.Nr. …………….. | 7.2 kW |
| ELECTROLUX |
Cooking zones specification
| Cooking zone | Nominal power (maximum heat setting) [W] | Power Boost [W] | Power Boost maximum duration [min] | Cookware diameter [mm] |
| Left front | 2300 | 3200 | 10 | 125 – 210 |
| Left rear | 2300 | 3200 | 10 | 125 – 210 |
| Right front | 1400 | 2500 | 4 | 125 – 145 |
| Right rear | 1800 | 2800 | 10 | 145 – 180 |
The power of the cooking zones can be different in some small range from the data in the table. It changes with the material and dimensions of the cookware.
For optimal cooking results use cookware no larger than the diameter in the table.
ENERGY EFFICIENCY
Product Information
| Model identification | Y63IV443 | |
| Type of hob | Built-In Hob | |
| Number of cooking zones | 4 | |
| Heating technology | Induction | |
| Diameter of circular cooking zones (0) | Left front Left rear Right front Right rear | 21.0 cm 21.0 cm 14.5 cm 18.0 cm |
| Energy consumption per cooking zone (EC electric cooking) | Left front Left rear Right front Right rear | 178.4 Wh/kg 178.4 Wh/kg 183.2 Wh/kg 184.9 Wh/kg |
| Energy consumption of the hob (EC electric hob) | 181.2 Wh/kg |
IEC / EN 60350-2 – Household electric cooking appliances – Part 2: Hobs – Methods for measuring performance.
The energy measurements referring to the cooking area are identified by the markings of the respective cooking zones.
Energy saving
You can save energy during everyday cooking if you follow the hints below.
- When you heat up water, use only the amount you need.
- If it is possible, always put the lids on the cookware.
- Put the cookware directly in the centre of the cooking zone.
- Use the residual heat to keep the food warm or to melt it.
ENVIRONMENTAL CONCERNS
Recycle materials with the symbol
. Put the packaging in relevant containers to recycle it. Help protect the environment and human health by recycling waste of electrical and electronic appliances. Do not dispose of appliances marked with the symbol
with the household waste. Return the product to your local recycling facility or contact your municipal office.

electrolux.com
867378364-B-392022



















