NordCap UHD 200-P BLACK Refrigerated Freezer Island User Manual

Important safety instructions
- To obtain full use of the cabinet, we recommend reading this instruction manual.
- It is the user’s responsibility to operate the appliance in accordance with the instructions given.
- Contact your dealer immediately in case of any malfunctions.
- Place the cabinet in a dry and ventilated place.
- Keep the cabinet away from strongly heat-emitting sources and do not expose it to direct sunlight.
- Always keep in mind that all electrical devices are sources of potential danger.
- Do not store inflammable material such as thinner, gasoline etc. in the cabinet.
- We declare that no asbestos nor any CFC are used in the construction.
- The oil in the compressor does not contain PCB.
Unpacking and installation
Remove the wooden pallet and the packing. Make sure that the cabinet is not damaged.
Any damage occurred during transport must be reported to the shipping agent immediately.
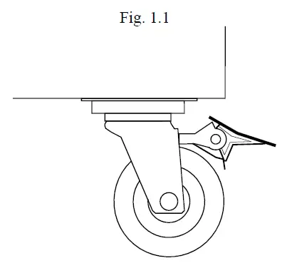
To ensure correct function it is important that the cabinet is levelled. Lock the wheels. See fig. 1.1.
Fig. 1.1
Electrical connecting
The cabinet operates on 230 V/50 Hz.
The wall socket should be easily accessible.
All earthing requirements stipulated by the local electricity authorities must be observed. The cabinet plug and wall socket should then give correct earthing. If in doubt, contact your local supplier or authorized electrician.
The flexible cord fitted to this appliance has three cores for use with a 3-pin 13-Amp or 3-pin 15-Amp plug. If a B.S. 1363 (13-Amp) fused plug is used, it should be fitted with a 13-Amp fuse.
The wires in this mains lead are coloured in accordance with the following code:
Green/Yellow: Earth, Blue: Neutral, Brown: Live.
The main electrical connections must be done by skilled electricians.
Start-up of the cabinet
Before use, we recommend that the cabinet is cleaned, see the section on maintenance and cleaning.
Thermostat
The thermostat is placed in the control panel, see fig. 2.0.
Fig. 2.0
The thermostat has been pre-set as a cooler and a freezer, and are equipped with a switch for easy change of function.
When turning on the cabinet the display will show the current temperature in the cabinet.
Indications LED’s:
- Flashing, indicates that a delay is in progress. Switched on, indicates that the compressor is activated.
- Switched on, indicates that defrosting is activated.
- Switched on, indicates that the evaporator fan is activated.
- Switched on, indicates that alarm is activated.
Display set temperature:
- Press this key and the display will show ‘Set’, press the key again and the display will show the set temperature. The display will return to normal reading after 15 sec.
Set new temperature:
- Press this key and the display will show ‘Set’, press the key again and the display will show the set temperature.
- Press this key to increase the value.
- Press this key to lower the value.
- Press this key to save the new settings. The display will flash with the new value and will then return to normal reading.
Changing of parameters:
- Press this key continuously for 5 seconds to access the list of parameters. The display will show the number of the parameter, press this key again to get access to the parameter-list.
- Press this key to scroll up through the parameter-list.
- Press this key to scroll down through the parameter-list.
- Press this key to select the parameter to change, the display will show the actual value, use the up/down keys to change the value and confirm with ’Set’:
The display will return to normal reading after 15 sec.
See table of parameters from page 44.
Alarm codes:
AH1 Flashing in the display: indicates that the cabinet temperature is too high.
AL1 Flashing in the display: indicates that the cabinet temperature is too low.
Defrosting
The cabinet defrosts automatically with pre-set intervals.
If it may become necessary to defrost the cabinet manually, this can be started by pressing the ‘Up’-key continuosly for more than 5 seconds.
Defrosted water runs to a container placed in the compressor compartment and evaporates.
Maintenance and cleaning
Switch the cooler off at the socket.
The cabinet must be periodically cleaned. Clean the external and internal surfaces of the cabinet with a light soap solution and subsequently wipe dry.
Do NOT use cleansers containing chlorine or other harsh cleansers, as these can damage the stainless steel surfaces and the internal cooling system.
Clean the condenser and the compressor compartment using a vacuum cleaner and a stiff brush.
Do NOT hose the compressor compartment with water as this can cause short circuits and damage on the electrical parts.
Service
The cooling system is a hermetically sealed system and does not require supervision, only cleaning.
If the cabinet fails to cool, check if the reason is a power cut.
If you cannot locate the reason to the failure of the cabinet, please contact your supplier. Please inform model and serial number of the cabinet. You can find this information on the rating label which is placed at the control panel.
Disposal
Disposal of the cabinet must take place in an environmentally correct way. Please note existing regulation on disposal. There may be special requirements and conditions which must be observed.
Finanzen / Service
28307 Bremen
Thalenhorststraße 15
Tel.+49 421 48557-0
Fax+49 421 488650
[email protected]



















