

SMART CEILING FAN INSTALLATION GUIDE
Please read and follow all the instructions carefully before using this product
The product image shown here is indicative that only the
Actual product you receive may differ.
READ INSTRUCTIONS CAREFULLY FOR SAFE INSTALLATION AND FAN OPERATION. IF UNCERTAIN, CONSULT A QUALIFIED ELECTRICIAN. THANK YOU FOR YOUR PURCHASE
Thank you for purchasing our product. To ensure correct function and safety, please read and follow all the instructions before using the product.
SAFETY GUIDELINES:
- To avoid possible electric shock, turn off the electricity at the main fuse box or circuit panel before you begin the fan installation, servicing the fan, or installing any accessories.
- Read all instructions and safety guidelines carefully before installing your fan and follow all the instructions.
- Make sure all electrical connections comply with the local codes or ordinances and the National Electrical Code. If you are unfamiliar with electric wiring, please consult a qualified and licensed electrician.
- Make sure you have a location selected for your fan that allows clear space for the blades to rotate, and at least seven (7) feet of clearance between the floor and the fan blade tips. The fan should be mounted at least thirty (30) inches from walls and/or other upright structures.
WARNING: The outlet box and ceiling support joist used must be securely mounted, and capable of supporting at least 100 pounds. To reduce the risk of fire, electric shock, or personal injury, mount to the outlet box marked acceptable for fan support and use mounting screws provided with the outlet box. The box must be supported directly by the building structure.
WARNING: To reduce the risk of fire, electric shock, or personal injury, mount to outlet box marked “acceptable for fan support” and use mounting screws provided with the outlet bo,c. Most outlet bo,ces commonly used for the support of lighting fixtures are not acceptable for fan support and may need to be replaced. Consult a qualified electrician if in doubt.- Switches must be ETL. general use switches. Refer to the instruction packaged with the switches for proper assembly.
- B.After installation is complete, check that all connections are firmly secured.
- After making electrical connections, spliced conductors should be turned upward and pushed up carefully into the outlet box. The wires should be placed apart with the grounded conductor and the equipment-grounding conductor on the opposite sides of the outlet box.
WARNING: To reduce the risk of electrical shock and fire, do not use this fan with any solid-state fan speed control device, or rheostat.- Do not separate the reverse switch until the fan has come to a complete stop.
- Do not insert anything into the fan blades while they are rotating.
WARNING: To reduce the risk of personal injury, do not bend the blade brackets (also referred to as “flanges”) during assembly or after installation. Do not insert objects in the path of the blades.- To avoid personal injury or damage to the fan and other items, be cautious when working around or cleaning the fan.
- Do not use water or detergent when cleaning the fan or fan blades. A dry dust cloth or lightly dampened cloth will be suitable for most cleaning.
NOTE: The important safety precautions and instructions in the manual are not meant to cover all possible conditions and situations that may occur. It is understood that common sense and caution are necessary factors during the installation and operation of the fan.
NOTE: This product is not intended for use by persons (including children) with reduced physical, sensory or mental capabilities that are different or impaired, or lack experience and/or knowledge unless such persons are supervised and/or trained to operate the appliance by a person responsible for their safety.
NOTE: Children should be supervised to ensure that they do not use appliances as a toy.
NOTE: You must install a switch or circuit breaker that disconnects all power poles of at least 3 mm between each pole.
BEFORE INSTALLATION
Unpack your fan and check the contents. You should have the following.

| A. Ceiling Can ×1 B. Mounting Bracket & fixings,× 1 C. Shaft×1 D. Shaft pin× 1 E. Fan blades ×6 | F. Blade bracket × 6 G. Glass shade,× 1 H. Fan body× 1 I. Blade bracket bolt x 18 J. Blade bracket Nut × 1 B |
INSTALLATING THE FAN:
FITTING THE BLADES
- Line the blade brackets up with the holes on the fan blade.
- Push the 3 blade bolls through the bracket & blade, then secure using the 3 blade nuts provided.
- Remove the 2 motor screws that are pre-fitted to the fan body.
- Line up the blade bracket with the holes on the fan body & secure the blade to the fan using the motor screws.

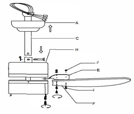
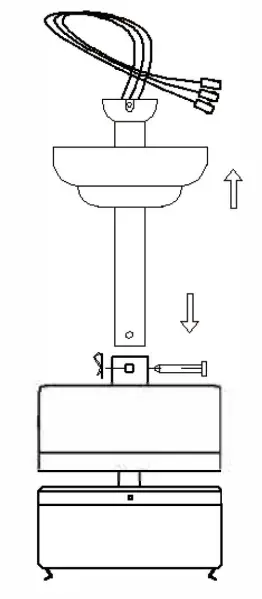
ASSEMBLING THE SHAFT
- Place the ceiling can over the shaft and slide up to the top.
- Pass the wires through the shaft and feed up to the top.

SECURING THE SHAFT TO THE FAN BODY
- Place the shaft down into the fan body, ensuring the holes are lined up.
- Insert the shaft pin through the shaft & fan body, then secure it in place with the push clip.
- Tighten the 2 screws in the fan body to lock the shaft in place, ensuring the shaft is central.

FITTING THE SHADE & BULB
- Screw in the bulb, ensuring you do not exceed the maximum wattage and bulb type stated on the lamp holder.
- Push the glass shade up onto the metal spring clips to secure the shade in place.

FITTING THE CEILING BRACKET
For normal plasterboard ceilings, ensure the bracket is secured to a ceiling joist or brace.
For concrete ceilings drill pilot holes, and secure the bracket with the anchoring screws provided.
- Use the bracket as a template to mark 2 holes on the ceiling.
- Using the appropriate fixings, secure the bracket to the ceiling.
- Connect the main supply wires to the connector block, and fixed the ceiling bracket. Then connect the supply wires from the fan to the corresponding terminals on the connector block. (The Red Fan Live & Brown Light Live wires will go into the same terminal.) DIA.1
- Lift the ceiling fan up to the ceiling bracket & slot the top hat of the shaft onto the bracket. Twist the shaft until you feel it drop & lock in place.
- Lift the ceiling can up to the bracket and place over the screws, then tum to lock in place as shown in DIA.2. Using the pull cords, tum on the fan motor and light to test the operation.

WALL CONTROL INSTALLATION::
Carefully tuck the wire connections from the wall control inside the wall outlet box. Secure the wall control with two wall control screws provided. Attach the wall control cover over the wall control and secure it with two wall control cover screws provided. Then snap in the wallplate.

USING YOUR CEILING FAN:
WALL CONTROL
Turn on the power and check the operation of the fan
1 – Lamp Switch
2 – Speed Control
3 – Fan Shutdown
Reverse function
Slide the forward/reverse switch on the switch box to get desired airflow direction.

AFTER INSTRUCTION:
WOBBLE”
The fan blades have been adjusted in the factory to minimize any wobble
NOTE: CEI LING FANS TEND TO MOVE DURING OPERATION DUE TO THE FACT THAT THEY ARE MOUNTED ON A RUBBER GROMMET. IF THE FAN WAS MOUNTED RIGIDLY TO THE CEILING, IT WOULD CAUSE EXCESS VIBRATION. THE MOVEMENT OF A FEW CENTIMETERS IS QUITE ACCEPTABLE AND DOES NOT SUGGEST ANY PROBLEM TO REDUCE THE FAN WOBBLE: PLEASE CHECK THAT ALL SCREWS WHICH SECURED THE
THE MOUNTING BRACKET AND DOWNROD ARE SECURE.
BALANCING A WOBBLING CEILING FAN:
For your convenience, a Balancing Kit is included; please follow this procedure when balancing the fan:
- Check that all blade and blade arm screws are secure.
- Most fan wobbling problems are caused when blade levels are unequal. Check this level by selecting a point on the ceiling above the tip of one of the blades. Measure this distance. Rotate the fan until the next blade is positioned for measurement. Repeat for each blade. The distance deviation should be equal within 1/B”(0.32cm).
- Use the enclosed Blade Balancing Kit if the blade wobble is still noticeable.
- If the blade wobble is still noticeable, interchanging two adjacent (side by side) blades can redistribute the weight and possibly result in a smoother operation.
WARNING: TO REDUCE THE RISK OF PERSONAL INJURY, DO NOT BEND THE BLADE ARM WHILE INSTALLING, BALANCING THE BLADES, OR CLEANING THE FAN. DO NOT INSERT FOREIGN OBJECTS BETWEEN ROTATING FAN BLADES.

NOISE
When it is quiet(especially at night) you may hear occasional small noises. Slight power fluctuations and frequency signals superimposed in the electricity for off-peak hot water control may cause a change in fan motor noise. This is normal. Please allow a 24-hour “breaking-in” period, most noises associated with a new fan disappear during that time.
CARE AND CLEANING
- Periodic cleaning of your ceiling fan is the only maintenance required. Use a soft brush or lint-free cloth to avoid scratching the paint finish. Please make sure to turn off electrical power before you clean your fan.
- Do not use water when cleaning your ceiling fan. It could damage the motor or the blades and create the possibility of an electrical shock.
- Motor has permanently lubricated ball bearing. No need for oil.
NOTE: MAKE SURE THE POWER IS OFF AT THE ELECTRICAL PANEL BOX BEFORE YOU ATTEMPT ANY CLEANING OR REPAIRS.
APP Control Connection:
- Bluetooth connect (WIFI & Btuetooth on)
a. Press the “+” button into the device list, then a window will pop up to show you some devices that can be connected.
b. Click “Go to add” (If you click “Do not add’ in mistake, please see ‘Do not add” steps).
c. Choose the device.
d. Connect to your home WIFI, then back to the app and wait for connecting.
“Do not add” steps:
a. Select “Electrical”(smart switch) or “Air Circulation”(smart ceiling fan) on the sidebar menu then select “Ceiling Fan Switch” or “Ceiling Fan” and tap next.
b. Connect to your home WIFI and tap ‘Next” to wait for connecting. - Auto Scan (WIFI & Bluetooth on)
a. Press the “+” button into the device list.
b. Tap ‘Auto Scan· on the top.
c. Wait for the device comes out and tap “Next”.
d. Press the “+” button to add a device.
e. Connect to your home WIFI.
f. Wait for connecting. - WIFI connecl-EZ Mode (WIFI on & Bluetoolh off)
a. Press the”+” button to select “Electrical”(smart switch) or “Air Circulation'(smart ceiling tan) on the sidebar menu then select “Ceiling Fan Switch” or “Ceiling Fan· and tap next.
b. Connect to your home WIFI (Only for 2.4Ghz).
c. EZ Mode is set as default, just tap “Next” button to wait for the connection to complete. - WIFI conn eel-AP Mode (WIFI on & Bluetooth off)
a. Smart ceiling fan: Press and hold the WIFI button on the remote for 5 seconds till hearing a beep into AP Mode. Smart swilch: Press and hold the “OFF” button for 10 seconds till the indicator light blinks slowly to into AP Mode.
b. Press the “+” button to select “Electrical”(smart switch) or “Air Circulation”(smart ceiling fan) on the sidebar menu then select “Ceiling Fan Switch” or “Ceiling Fan· and tap next.
Care and cleaning:
- Check the support connections, brackets, and airfoil attachments twice a year. Make sure they are secure. Because of the fan’s natural movement, some connections may become loose over time. It is not necessary to remove the fan from the ceiling.
- Clean your fan periodically. Use only a soft brush or lint-free cloth to avoid scratching the finish. The plating is sealed with a lacquer to minimize discoloration or tarnishing.
- (Optional) Apply a light coat of furniture polish to the wood blades.
- (Optional) Cover small scratches with a light application of shoe polish.
Do not:
- Use water when cleaning. Water could damage the motor, or the wood, or possibly cause an electrical shock.
- Apply oil to your fan or motor. The motor has permanently lubricated sealed ball bearings.
Note: Power off the fan before product maintenance or cleaning the fan.
FCC Statement:
NOTE: This equipment has been tested and found to comply with the limits for a Class B digital device, pursuant to part 15 of the FCC Rules, These Ii mils are designed to provide reasonable protection against harmful interference in a residential installation. This equipment generates, uses, and can radiate radio frequency energy and, if not installed and used in accordance with the instructions, may cause harmful interference to radio communications. However, there is no guarantee that interference will not occur in a particular installation. If this equipment does cause harmful interference to radio or television reception, which can be determined by turning the equipment off and on, the user is encouraged to try to correct the interference by one or more of the following measures:
- Reorient or relocate the receiving antenna.
- Increase the separation between the equipment and receiver.
- Connect the equipment into an outlet on a circuit different from that to which the receiver is connected.
- Consult the dealer or an experienced radio/TV technician for help.
WARNING: Changes or modifications to this unit not expressly approved by the party responsible for compliance could void the user’s authority to operate the equipment.
Troubleshooting:
Your fan may occasionally jerk forward and backward upon startup. This is normal and does not affect fan operation.
Try these troubleshooting steps before contacting Customer Service.
| SYMPTOM | POSSIBLE SOLUTION |
| Fan not spinning | 1. Make sure the fan is getting power. 2. Check your circuit breaker or fuse panel and wall switch for functionality. 3. Fan wires are connecting with the house wires correctly. 4. Make sure the fan blades spin freely. 5. Check the power to the breaker from your control and try working your ceiling fan manually. (Normal switch only for the fan power on/off) |
| Fanlight not working | 1. Make sure the LED light kit! The light bulbs are connected well. |
| Thefan is noisy and wobbling | 1. Check if the blade screws are NOT rubbing against the round plastic part of the motor. 2. Check the pin wire is NOT connected against the moving part. 3. Check the coupling cover is NOT hitting the motor. 4. Check the down rod is NOT slanted. 5. Tighten any loose screws on the light kit, fan blades, motor coupling, down rod, brackets, and mounting hardware. 6. Confirm the hanger ball Is firmly seated in the mounting bracket. 7. The ceiling beam must meet the minimum tensile test strength of 30KG for installation. 8. Make sure the airfoils and brackets are NOT bent or deformed. 9. Verify the wire connections are not rattling against each other. 10. Verify the fan blades are not cracked. If the fan blades are cracked, replace the damaged blades with a new blade set from the same brand as your ceiling fan to ensure compatibility. 11. Change the fan blades position 12. The light kit is NOT slanting and hitting the motor. 13. Check and make sure all blades are screwed firmly into blade holders |
| Unable to pair switch and app | 1. Check if the wires are connected in the right position or not. 2. The WiFi must be 2.4Ghz, incompatible with 5Ghz WiFi, or combined with 5Ghz. 3. Connect with the correct app ‘Cerro Home’. 4. Make sure your smart switch operates well with the fan. |
| Fan or light turning on or off by themselves | 1. Confirm the circuit breakers not malfunctioning. 2. Verify that the wire connections are not frayed. 3. Check the app is not set the timer or schedule 4. Cut the fan power for 10 minutes then power on again. |















