GLOBAL INDUSTRIAL 989007 Self-Leveling Airbag Pallet Carousel Instruction Manual
WARNING
- READ THIS MANUAL COMPLETELY BEFORE USING AND THOROUGHLY UNDERSTAND AND FOLLOW ALL SAFETY INSTRUCTIONS.
- The Self-Leveling Airbag Pallet Carousel is designed for use with stable, uniformly distributed loads on a solid level floor. DO NOT concentrate the load at one point on the pallet or platform. ALWAYS uniformly distribute each layer of load over the supporting surface. DO NOT use the Self-Leveling Airbag Pallet Carousel for any purpose other than its intended use.
- SHEARING HAZARD. ALWAYS keep hands and feet clear of the scissor mechanism and all moving components. DO NOT put hands under the platform when in use. SEVERE PERSONAL INJURY could result.
- CRUSHING HAZARD. ALWAYS keep hands and feet clear of all moving components. DO NOT put feet on the base frame when in use. SEVERE PERSONAL INJURY could result.
- PINCH POINT HAZARD. ALWAYS keep hands and fingers clear of the underside of the rotator ring. SEVERE PERSONAL INJURY could result.
- NEVER sit, stand or ride on the platform or rotating surface. Moving components could cause loss of balance. SEVERE PERSONAL INJURY could result.
- NEVER go under the platform until the load is removed and the scissor mechanism is blocked. SEVERE PERSONAL INJURY could result.
- NEVER place any load on the Self-Leveling Airbag Pallet Carousel with the scissor mechanism blocked. SEVERE PERSONAL INJURY and PROPERTY DAMAGE could result.
- DO NOT overpressurize or overload the Self-Leveling Airbag Pallet Carousel. ALWAYS stay within the designated pressure and capacity ratings. SEVERE PERSONAL INJURY and PROPERTY DAMAGE could result.
- When removing a loaded pallet, ALWAYS raise the load until the bottom of the pallet clears the top of the SelfLeveling Airbag Pallet Carousel before backing up. ALWAYS stay well clear of the load while it is being removed from the Self-Leveling Airbag Pallet Carousel. SEVERE PERSONAL INJURY and PROPERTY DAMAGE could result.
- ALWAYS ensure all safety warning labels are in place and legible. If not, remove the Self-Leveling Airbag Pallet Carousel from service and replace the required labels.
- Before servicing any component in the Self-Leveling Airbag Pallet Carousel’s pneumatic system, ALWAYS open the purge valve and discharge all air pressure. SEVERE PERSONAL INJURY could result.
- DO NOT inflate the air spring when removed from the Self-Leveling Airbag Pallet Carousel. Pressurizing the unrestricted air spring may cause assembly to burst. SEVERE PERSONAL INJURY and PROPERTY DAMAGE could result.
GENERAL INFORMATION
SPECIFICATIONS
Table 1: Specifications Table
| LENGTH INCHES | 48 |
| WIDTH INCHES | 43-3/4 |
| COLOR FINISH | Blue & Yellow |
| ASSEMBLY | Assembled |
| CAROUSEL OUTSIDE DIAMETER INCHES | 43-3/4 |
| CONSTRUCTION | Steel |
| LIMITED WARRANTY | 1 Year |
| LOWERED HEIGHT INCHES | 10-13/16 |
| MANUFACTURERS PART NUMBER | 989007 |
| MAXIMUM CAPACITY LBS. | 4500 |
| MINIMUM CAPACITY LBS. | 220 |
| OPERATION | Pneumatic Air Bag Support |
| RAISED HEIGHT INCHES | 28 |
| TYPE | Self-Leveling Pallet Carousel Positioner |
| WEIGHT LBS | 500 |
GENERALSAFETYINFORMATION
- Only allow properly trained personnel to operate the Self-Leveling Airbag Pallet Carousel.
- Periodically inspect the unit for any damaged or worn parts. If any components are malfunctioning, remove unit from service and repair.
- DO NOT OVERLOAD THE CAROUSEL. Make sure the payload is within the rated capacity of the unit.
NOTE: The capacity of the unit is dependent on the initial air bag pressure. See Table 2 for capacities. - Do not use damaged or broken pallets or skids.
- Do not operate the unit if the load is unevenly distributed across the carousel.
- Do not sit or stand on the carousel.
- Exercise caution when rotating the carousel.
- When loading the carousel with a forklift, make sure the pallet or skid is fully supported by the unit prior to removing the forklift.
- When removing a load from the carousel with a forklift, make sure the pallet or skid is fully clear of the carousel before reversing the forklift.
- DO NOT MOVE THE PALLET CAROUSEL WHEN LOADED, EVER.
- Do not overinflate the Pallet Carousel, overinflation can cause damage to air bag and pneumatics.
Maximum pressure at the fully raised unloaded position should not exceed 95 PSI. - It is recommended to fill the air bag with dry filtered air.
INSTALLATION
UNPACKING THE UNIT
- Read and understand all warnings thoroughly.
- Check the packaging and pallet for any damages that may have affected the unit. If any damages are found, notify the shipper immediately and record the damages on the shipping papers.
- Place the pallet on smooth, level ground free of dirt and debris.
- Remove the metal banding securing the unit to the pallet. NOTE: It is recommended to wear safety attire when handling the metal banding that attaches the unit to the skid, specifically gloves and eye protection; The metal bands have sharp edges and are under high tension. Remove all remaining packing material from the unit and transfer the unit off the pallet to the floor while supporting its base.
- Make sure the base frame of the unit is stable on level floor. Check to see that the base frame itself is level and unbent. If any part of the base frame is misaligned by 1/2″ or more, move the unit to a new surface which is level.
SET-UP
STOP
DO NOT SET AIR PRESSURE TO OVER 95 PSI WITH AN UNLOADED PALLET CAROUSEL
The Pallet Carousel is designed to handle a wide range of load capacities using different air pressures.
The following recommendations are a general guide for initial operation.
Working pressure should be adjusted depending on load and operator preferences.
Table 2: Set-Up Recommendations
| Total Pallet Weight (lbs) | 400-600 | 600-1000 | 1000-2000 | 1500-3000 | 2300-4500 |
| Initial Pressure (PSI) (Unloaded unit) | 20 | 30 | 45 | 65 | 95 |
Note: Filtered and Dry air supply is recommended but not required.
- Set unloaded Pallet Carousel to a maximum of 95PSI.
- Place load on carousel.
- Adjust air pressure until desired working height is achieved.
- Adjust air pressure as needed during work to maintain/change working height.
OPERATION
MANUAL LOADING AND UNLOADING
To Load:
Before placing the payload, place the unloaded pallet or skid on the Carousel. Load the pallet evenly so that the weight is stable. The unit will automatically adjust the working height as it is loaded.
To Unload:
Remove the load from the pallet evenly so that the weight is stable. The carousel will automatically rise.
NOTE: Always evenly load and unload the unit! Overloading one side can cause tipping, potentially harming the operator and damaging the unit.
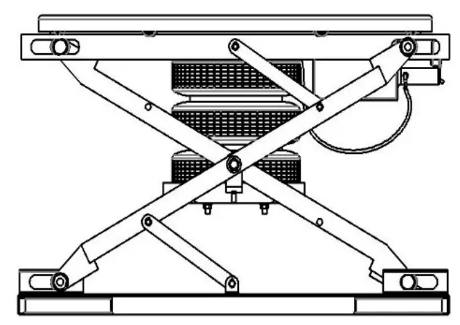
Figure 1 Unloaded Unit
Figure 2 Loaded Unit
FORKLIFT LOADING AND UNLOADING
To Load:
Using a forklift, lower the loaded pallet or skid onto the carousel. Make sure the Pallet Carousel is fully supporting the weight of the pallet. When you are sure the unit is fully supporting the payload itself, reverse the forklift.
Note:
Make sure the weight of the payload is evenly distributed across the unit before reversing the fork truck.
Note:
Load the unit slowly and with caution.
DO NOT DROP THE LOAD ONTO THE CAROUSEL.
Failure to slowly load the unit can leave the payload unstable and cause damage to the unit or harm the operator.
To Unload:
Using a forklift, lift the pallet or skid until the air bag is fully extended and the pallet is completely clear of the carousel, then reverse the fork truck.
Note: Make sure the pallet is fully supported by the forklift and not the unit before reversing.
TRANSPORTING UNIT
- NEVER MOVE THE PALLET CAROUSEL WHEN LOADED
- Set forks of the fork lift into the fork pockets on the frame of the unit.
- Transport and then lower unit on to smooth, level surface.
CHANGE IN PERFORMANCE DUE TO CHANGE IN INITIAL PRESSURE
Figure 3 Height vs Load Diagram
For most applications, the Pallet Carousel should be completely collapsed at approximately 75 percent of the total load (load + pallet weight). The remaining load (usually the last layer) is added to the Pallet Carousel while it is in the collapsed position. To set up the Pallet Carousel for use, complete steps 1 through 6 below.
- The unit must be properly installed before using. Refer to installation instructions on page 5.
- Set the air regulator to 60 psi (4.1 bar). Turn the Adjust knob to the Light Weight Position and completely pressurize the Pallet Carousel. Check the pressure gauge on the Pallet Carousel to ensure the system pressure is the same as the regulator setting. Disengage the air chuck from the tank valve and store the air line in a convenient location. Ensure the purge valve is closed finger tight and disengage the maintenance bars, if required.
- Place the pallet and 75 percent of a lighter than average load on the Pallet Carousel. Check the platform height.
If the Pallet Carousel is not completely collapsed, open the purge valve slowly and release air until the minimum height is obtained. Close the purge valve. - Using a forklift, remove the loaded pallet or skid and allow the carousel to return to its raised position. If a dedicated air line is being used, set the air regulator to the initial pressure on the gauge. Otherwise, record the setting for future use.
- With the carousel in the fully raised position, turn the Adjust knob to the Medium Weight Position. This provides for one lighter than average weight setting; as well as, one heavier than average weight setting.
- The unit is now ready for use. Should the load capacity vary, adjustments in the load height or collapsed capacity can easily be made by turning the Adjust knob.
TROUBLE SHOOTING
| No | Problem | Causes | Solutions |
| 1 | Lowers too much | – Underpressurized | – Add air |
| 2 | Does not lower enough | – Overpressurized | – Release air |
| 3 | Carousel rotates away from you | – The base frame of the unit may not be level | – Level the unit |
| 4 | Carousel does not smoothly rotate | – Worn carousel support bearings | – Replace bearings under table |
PARTS INFORMATION
AIR TANK ASSEMBLY PART DIAGRAM

AIR TANK ASSEMBLY PARTS LIST
| Item | Item Description | Qty. |
| 1 | Air Line Kit | 1 |
| 2 | Air Tank | 1 |
| 3 | Pop-Safety Valve with Air Fill (Schrader) Valve | 1 |
| 4 | Air Pressure Gauge | 1 |
FRAME ASSEMBLY PART DIAGRAM

FRAME ASSEMBLY PARTS LIST
| Item | Item Description | Qty. |
| 1 | Air bag | 1 |
| 2 | Bearing | 8 |
| 3 | Shoulder Bolt | 8 |
| 4 | Axle | 2 |
MAINTENANCE
Every month of service or as use warrants, perform maintenance check:
- Inspect the snap rings at all rollers and linkage assemblies. If not in place and/or secure, replace or repair immediately.
- Inspect all rollers for signs of wear. Replace if necessary.
- Inspect the air spring retaining screws for tightness. Tighten if necessary.
- Inspect the rotator ring bearings for ease of operation. Replace if necessary.
- Should removal of the air lines be required, mark the initial position before removing the fitting nut.
When reinstalling, first tighten the nut by hand, then using a wrench rotate the nut to the original position. Tighten the nut an additional 1/8 turn. Do not over tighten as air leakage may occur. - Inspect the Adjust knob and valve body for proper operation. If disassembly of the valve is required, always engage the maintenance bars and open the purge valve to completely discharge all air pressure before disassembling the valve.
- Make sure that operating surface of unit is firm, level and clean of debris.
Figure 4 Pneumatic Schematic



















