Sony CDP-CE375 Compact Disc Player

WARNING
To prevent fire or shock hazards, do not expose the unit to rain or moisture. To avoid electrical shock, do not open the cabinet. Refer servicing to qualified personnel only.

This symbol is intended to alert the user to the presence of uninsulated “dangerous voltage” within the product’s enclosure that may be of sufficient magnitude to constitute a risk of electric shock to persons.
This symbol is intended to alert the user to the presence of important operating and maintenance (servicing) instructions in the literature accompanying the appliance.
INFORMATION
This equipment has been tested and found to comply with the limits for a Class B digital device, pursuant to Part 15 of the FCC Rules. These limits are designed to provide reasonable protection against harmful interference in a residential installation. This equipment generates, uses, and can radiate radio frequency energy and, if not installed and used in accordance with the instructions, may cause harmful interference to radio communications. However, there is no guarantee that interference will not occur in a particular installation. If this equipment does cause harmful interference to radio or television reception, which can be determined by turning the equipment off and on, the user is encouraged to try to correct the interference by one or more of the following measures:
- Reorient or relocate the receiving antenna.
- Increase the separation between the equipment and the receiver.
- Connect the equipment to an outlet on a circuit different from that to which the receiver is connected.
- Consult the dealer or an experienced radio/TV technician for help.
CAUTION
You are cautioned that any changes or modifications not expressly approved in this manual could void your authority to operate this equipment.
Owner’s Record
The model and serial numbers are located at the rear of the unit. Record the serial number in the space provided below. Refer to them whenever you call your Sony dealer regarding this product.
- Model No.
- Serial No.
- The AC power cord must be changed only at the qualified service shop.
- Do not install the appliance in a confined space, such as a bookcase or built-in cabinet.
- To prevent fire, do not cover the ventilation of the apparatus with newspapers, tablecloths, curtains, etc. And don’t place lighted candles on the apparatus.
- To prevent fire or shock hazards, do not place vases on the apparatus.
About this manual
The instructions in this manual are for CDP-CE375 and CDP-CE275. CDP-CE375 is the model used for illustration purposes only. Any difference in operation is clearly indicated in the text, for example, “CDP-CE375 only.”
Tip
Instructions in this manual describe the controls on the player. You can also use the controls on the remote if they have the same or similar names as those on the player (CDP-CE375 only).
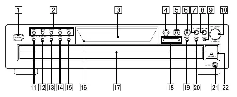
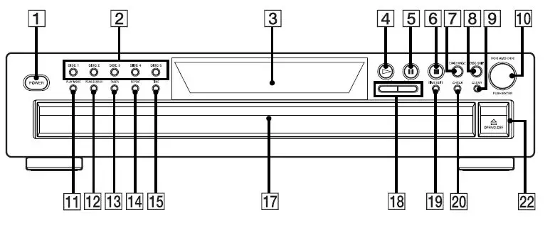
Parts Identification
Front Panel
The items are arranged in alphabetical order. Refer to the pages indicated in parentheses ( ) for details.
CDP-CE375

CDP-CE275

BUTTON DESCRIPTIONS

Rear Panel

- ANALOG OUT L/R jacks 2 (6)
- DIGITAL OUT OPTICAL jack 1 (7)
- Mains lead 3 (6)
Remote Control (CDP-CE375 only)

- ANLALOG OUT LEVEL +/– 18 (6, 7)
- CHECK 12 (11, 12)
- CLEAR 13 (11, 12)
- CONTINUE 2 (8)
- DISC 1–5 7 (8, 9, 11)
- DISC SKIP 15 (7, 10, 12)
- FADER 14 (12)
- Number buttons 5 (9, 11)
- PROGRAM 11 (8)
- REPEAT 3 (8)
- SHUFFLE 1 (8)
- TIME 4 (9, 10)
BUTTON DESCRIPTIONS

Getting Started
Inserting Batteries Into the Remote Control (CDP-CE375 only)

You can control the player using the supplied remote. Insert two R6 (size AA) batteries by matching the + and – on the batteries to the diagram inside the battery compartment. Insert the negative (–) end first, then push in and down until the positive (+) end clicks into position. When using the remote, point it at the remote sensor
on the player.
Tip
When the remote no longer operates the system, replace both batteries with new ones.
Note
- Do not leave the remote near an extremely hot or humid place.
- Do not drop any foreign object into the remote casing, particularly when replacing the batteries.
- Do not expose the remote sensor to direct sunlight or lighting apparatuses. Doing so may cause a malfunction.
- If you don’t use the remote for an extended period of time, remove the batteries to avoid possible damage from battery leakage and corrosion.
Hooking Up the System
Hookups
This section describes how to hook up the CD player to an amplifier. Be sure to turn off the power of each component before making the connections.

Tip (CDP-CE375 only)
You can adjust the analog output level to the amplifier using the remote that comes with this player. Press ANALOG OUT LEVEL +/– on the remote. You can reduce the output level up to –20 dB. When you reduce the analog output level, “FADE” appears in the display. When you turn off the player, the analog output level automatically returns to the maximum level.
Making digital hookups
If you have a digital component such as a digital amplifier, D/A converter, DAT, or MD, connect the component via the DIGITAL OUT (OPTICAL) connector using the optical cable (not supplied). Take off the cap and plug in the optical cable.
Note that you cannot use the following functions when making this connection:
- Fading In or Out (see page 12)
- Adjusting the output level using the ANALOG OUT LEVEL +/– buttons on the remote

Note
When you connect via the DIGITAL OUT (OPTICAL) connector, noise may occur when you play CD software other than music, such as a CD-ROM.
Transporting the player
Before transporting the player, follow the procedure below to return the internal mechanisms back to their original position.
- Remove all the discs from the disc tray.
- Press
OPEN/CLOSE to close the disc tray. “no dISC” appears in the display. - Wait for 10 seconds, then press POWER to turn off the player.
Playing CDs
Loading a CD
- Turn on the amplifier and select the CD player position so that you can listen to the sound from this player.
- Press POWER to turn on the player.
- Press
OPEN/CLOSE. The disc compartment slides out. - Place a disc on the disc tray with the label side up.
When you play a CD single, place it on the inner circle of the tray. - To place other discs, press DISC SKIP and place the discs in the order you want to play. Each time you press the button, the disc tray turns and you can place the discs in the empty disc compartments. The player plays the disc in front of you first.
- Press
OPEN/CLOSE to close the disc compartment.
Normal Play/Shuffle Play/Repeat Play
This unit lets you play the CD in different play modes.
Press PLAY MODE repeatedly until the mode you want appears.
Select: To play
- ALL DISCS (Continuous Play): All discs in the player are consecutively in the order of disc number.
- 1 DISC (Continuous Play): Only the disc you’ve selected.
- ALL DISCS SHUFFLE: All tracks on all discs are in random order.
- 1 DISC SHUFFLE: All tracks on the specific disc are in random order.
- PROGRAM: The tracks on the CD are in the order you want them to be played (see “Programming the CD tracks” on page 11).
Press ![]()
Tips
- You can select the disc you want to start playing first by pressing one of the DISC 1 – 5 buttons.
- You can specify discs during ALL DISCS Shuffle Play mode, and the tracks on the specified discs are played in random order. Press DISC 1 – 5 to specify the discs after Step 1. Semi-circles appear around the specified disc numbers in the display. To cancel the selected discs, press DISC 1 – 5 again. The semi-circles disappear. To return to ALL DISCS Shuffle Play, press PLAY MODE until “ALL DISCS SHUFFLE” appears in the display.
- You can select the playing mode by pressing CONTINUE, SHUFFLE, or PROGRAM on the remote (CDP-CE375 ONLY).
Repeat Play Operations
You can play the CD tracks repeatedly in any play mode. To activate the Repeat Play function, press REPEAT until “REPEAT’ appears in the display.
To: Press REPEAT
- Repeat only one track Until “REPEAT 1” appears while playing the track you want to repeat.
- Cancel Repeat Play Until “REPEAT” or “REPEAT 1” disappears.
When you are in the Repeat Play function, the player repeats the tracks as follows:
When the disc is played in: The player repeats
- Continuous Play (ALL DISCS) All the tracks on all discs
- Continuous Play (1 DISC) All the tracks on the current disc
- Shuffle Play (ALL DISCS) All the tracks on all discs in random order
- Shuffle Play (1 DISC) All the tracks on the current disc in random order
- Program Play (page 11) The same program
Other Operations
To: Do this
- Stop playback Press
. - Pause Press
. Press
again or
to resume play. - Select a track During play or pause, turn
AMS
clockwise (to go forward) or counterclockwise (to go backward) (or press
( to go forward) or
(to go backward) on the remote (CDP-CE375 only)). - Select a track directly Press the number button on the remote (CDP-CE375 only).*
- Go to the next disc Press DISC SKIP.
- Select a disc directly Press DISC 1 – 5.
- Find a point in a track Press and hold
OR
during playback, and release at the desired point. - Play tracks in random order Press PLAY MODE until “SHUFFLE” appears in the display.
- Remove the CD Press
OPEN/CLOSE. - Adjust the volume Press ANLOG OUT LEVEL +/– on the remote (CDP-CE375 only).
When you directly locate a track numbered over 10, press >10 first, then the corresponding number buttons. To enter “0,” use button 10. Example: To play track number 30 Press >10 first, then 3 and 10.
Tips
- You can adjust the analog output level with the ANALOG OUT LEVEL +/– on the remote (page 6) (CDP-CE375 only).
- You can adjust the headphone volume on the remote. To adjust the volume, connect the headphones to the PHONES jack and adjust the volume with the ANALOG OUT LEVEL +/– on the remote (CDP-CE375 only).
- If there is no CD in the player, “no dISC” appears in the display.
Notes
- If “
” appears in the display, the disc has reached the end while you were pressing
. Press
or turn
AMS
counterclockwise to go back. - If you press ANALOG OUT LEVEL +/– on the remote while recording, the recording level will change even when it is preset on the tape deck, etc (CDP-CE375 only).
Using the CD display
You can check information about the disc using the display.
In the stop mode
Press TIME

The display shows the current disc number, the total number of tracks, the total playing time, and the music calendar. The information also appears when you press
OPEN/CLOSE to close the disc tray. The tracks numbered over 20 cannot be displayed in the music calendar.
Notes on the disc number indications
- The red circle around a disc number indicates the disc is ready to be played.
- When all the tracks on a disc have been played, the semi-circle around the disc number disappears.
- When a disc compartment is recognized as empty, the semi-circled disc number disappears.
During normal playback
While playing a disc, the display shows the current disc number, track number, playing time of the track and the music calendar. The track numbers in the music calendar disappear after they are played.
To check the remaining time
Press TIME during playback. Each time you press this button while playing a disc, the display changes as shown in the chart below. Playing time and number on the current track
Remaining time on the current track
Remaining time on the disc
Notes
- When the disc has more than 24 tracks, “– – . – –” appears instead of the remaining time.
- The remaining time on the disc appears only when the disc is played in Continuous Play.
Replacing Discs While Playing a Disc
You can open the disc tray while playing a disc so that you can check what discs are to be played next and replace discs without interrupting the playback of the current disc.
- Press EX-CHANGE The disc tray opens and two disc compartments appear. Even if the player is playing a disc, it doesn’t stop playing.
- Replace discs in the compartments with new ones. The player plays the disc on the left side compartment after the current disc, and then the one on the right side compartment.
- Press DISC SKIP. The disc tray turns and the other two disc compartments appear.
- Replace discs in the compartments with new ones.
- Press EX-CHANGE. The disc tray closes.
While the disc tray is open by pressing the EX-CHANGE button
- If the playback of the current disc ends, the player stops playing. If the disc is played in 1 DISC Repeat Play mode (see page 8), the current disc starts playing again.
- In ALL DISCS Shuffle Play mode (see page 8), tracks are reshuffled on the current disc.
- In Program Play mode (see page 11), only the tracks on the current disc are played.
- Do not push the disc tray to close it in Step 5, as you may damage the player.
Programming the CD tracks
You can arrange the order of the tracks on the discs and create your own program. The program can contain up to 32 “steps” — one “step” may contain a track or a whole disc.
- Press PLAY MODE repeatedly until “PROGRAM” appears in the display before you start playing. If a program is already stored, the last step of the program appears in the display. When you want to erase the whole program, hold down CLEAR until “ALL CLr” appears in the display (see page 12).
- Press DISC 1 – 5 to select the disc. “AL” in the display stands for “all” tracks. When you want to program the whole disc as one step, skip Step 3, and go to Step 4.
- Turn
AMS
until the track you want appears and push
AMS
to select the track. The track number that you programmed, the playing order, and the total playing time appear in the display. If you’ve made a mistake Press CLEAR, then repeat Step 2.
Tip
You can select the track using the number buttons on the remote. To select a track with a number over 10, use >10 (see page 9). - To program other discs or tracks, do the following:
- To program Repeat Step(s)
- Other discs 2
- Other tracks on the same disc 3
- Other tracks on other discs 2 & 3
- To program Repeat Step(s)
- Press
to start Program Play.
To cancel Program Play
Press PLAY MODE.
Tips
- You can create your program while checking the disc labels. While the disc tray is open, follow Steps 1 to 4 with pressing the DISC SKIP button to check the disc labels. If you close the disc tray before Step 5, the total playing time appears in the display after a while. Note that, if the programmed track number isn’t found on the disc, that step is automatically erased.
- The program remains even after the Program Play ends. When you press the
button, you can play the same program again. - The program remains until you erase it or turn off the player. If you replace discs, the programmed disc and track numbers remain. So, the player plays only the existing disc and track numbers. However, the disc and track numbers that aren’t found in the player or on the disc are deleted from the program, and the rest of the program is played in the programmed order.
- For the recording to the A side or B side of the cassette tape, you can pause Program Play.
Note
The total playing time doesn’t appear when:
- You have programmed a track whose number exceeds 20.
- The total playing time of the program exceeds 200 minutes.
Checking the track order
You can check your program before or after you start playing.
Press CHECK.
Each time you press this button, the display shows the track (the disc and track numbers) or the disc (the disc number and “AL” indication) of each step in the programmed order. After the last step in the program, the display shows “End” and returns to the original display. If you check the order after you start playing, the display shows only the remaining steps.
Programming the CD tracks (continued)
Changing the track order
You can change your program before you start playing.
Fading In or Out
To/You need to
- Erase a track Press CHECK until the track you don’t want appears in the display, then press CLEAR
- Erase the last track in the program Press CLEAR. Each time you press the button, the last track will be cleared.
- Add tracks to the end of the program Follow Steps 2 through 4 of the programming procedure
- Change the whole program completely Hold down CLEAR until “ALL CLR” appears in the display. Create a new program following the programming procedure.
Fading In or Out
You can manually fade in or out to prevent tracks from starting or ending abruptly. Note that you cannot use this effect when you use the DIGITAL OUT (OPTICAL) connector
To/Press FADER
- Start play fading in During pause. “FADE” flashes. The play fades in.
- End play fading out When you want to start fading out. “FADE” flashes. Then the play fades out and the player pauses
Fading time lasts for 5 seconds.
Recording From CDs
You can have the player create a program that will fit the length of the tape. The player automatically creates a program, keeping the original order of the disc. The program can contain up to 32 steps (a pause inserted between steps is counted as one step). Note that tracks numbered over 20 cannot be programmed automatically. Recording a CD by Specifying Tape Length (Time Edit)
- Press DISC SKIP to select the disc.
- Press TIME EDIT repeatedly before you start playing until “EDIT” appears and “A” in the
indication flashes in the display. - Press
or
specify the tape length. Each time you press these buttons, the display changes as shown below, with the tape length of one side following each indication.
- Press TIME EDIT to have the player create the program.
The display shows the tracks to be recorded. “B” in the
indication flashes in the display. - When you record on both sides of the tape, press TIME EDIT again.
The player inserts a pause, then creates the program for side B. The display shows the programmed tracks.
When you record on one side of the tape, skip this step. - Start recording on the deck and then press
on the player. - Reverse the tape to side B and press
or
on the player to resume playing the remaining tracks.
To cancel Time Edit
Press PLAY MODE.
Tips
- You can program the tracks you want in advance. Create a program selecting the desired tracks, then follow Steps 2 to 7. Be careful that the total playing time of the program does not exceed the tape length of one side.
- You can set the tape length freely using
AMS
.
Example: When the tape length of one side is 30 minutes and 15 seconds- To set the minutes, turn
AMS
until “30” appears in the display, then push
AMS
. - To set the seconds, turn
AMS
until “15” appears in the display, then push
AMS
.
- To set the minutes, turn
- To check and change your program, see pages 11 and 12.
Adjusting the Recording Level (Peak Search)
The player locates the highest level among the tracks to be recorded to let you adjust the recording level before you start recording.
- Before you start playing, press PEAK SEARCH.
“PEAK” flashes in the display and the player starts scanning the disc searching for the highest peak level.
After scanning all the tracks, the player repeats the portion with the highest peak level. - Adjust the recording level on the deck.
- Press
on the player to stop Peak Search.
“PEAK” disappears from the display.
Notes
- The portion with the highest level may differ every time you try the adjustment on the same disc. The difference is, however, so slight that you won’t find any problem in adjusting the recording level precisely.
- Peak Search does not operate while you open the disc tray by pressing the EX-CHANGE button.
Additional Information
Precautions
On Safety
- Caution — The use of optical instruments with this product will increase eye hazards.
- Should any solid object or liquid fall into the cabinet, unplug the player and have it checked by qualified personnel before operating it any further.
- Discs with non-standard shapes (e.g., heart, square, star) cannot be played on this unit. Attempting to do so may damage the unit. Do not use such discs
On power sources
- Before operating the player, check that the operating voltage of the player is identical to your local power supply. The operating voltage is indicated on the nameplate at the rear of the player.
- The player is not disconnected from the AC power source (mains) as long as it is connected to the wall outlet, even if the player itself has been turned off.
- If you are not going to use the player for a long time, be sure to disconnect the player from the wall outlet. To disconnect the AC power cord (mains lead), grasp the plug itself; never pull the cord.
- The AC power cord must be changed only at the qualified service shop.
On placement
- Place the player in a location with adequate ventilation to prevent heat build-up in the player.
- Do not place the player on a soft surface such as a rug that might block the ventilation holes on the bottom.
- Do not place the player in a location near heat sources, or in a place subject to direct sunlight, excessive dust or mechanical shock.
On operation
- If the player is brought directly from a cold to a warm location or is placed in a very damp room, moisture may condense on the lenses inside the player. Should this occur, the player may not operate properly. In this case, remove the disc and leave the player turned on for about an hour until the moisture evaporates.
On adjusting volume
- Do not turn up the volume while listening to a portion with very low-level inputs or no audio signals. If you do, the speakers may be damaged when a peak-level portion is played.
On cleaning
- Clean the cabinet, panel, and controls with a soft cloth slightly moistened with a mild detergent solution. Do not use any type of abrasive pad, scouring powder, or solvents such as alcohol or benzene.
If you have any questions or problems concerning your player, please consult your nearest Sony dealer.
Notes on CDs
On handling CDs
- To keep the disc clean, handle the disc by its edge. Do not touch the surface.
- Do not stick paper or tape on the disc

- Do not expose the disc to direct sunlight or heat sources such as hot air ducts, nor leave it in a car parked in direct sunlight as there can be considerable rise in temperature inside the car.
- Do not use any commercially available stabilizer. If you do, the disc and the player may be damaged.
- After playing, store the disc in its case.
On cleaning
- Before playing, clean the disc with a cleaning cloth. Wipe the disc from the center out.

- Do not use solvents such as benzine, thinner, commercially available cleaners, or anti-static spray intended for vinyl LPs.
Notes on CD-R/CD-RW playback
- Discs recorded on CD-R/CD-RW drives may not be played back because of scratches, dirt, recording condition, or the driver’s characteristics. Besides, the discs, which are not yet finalized at the end of the recording, cannot be played back.
Troubleshooting
- If you experience any of the following difficulties while using the player, use this troubleshooting guide to help you remedy the problem. Should any problem persist, consult your nearest Sony dealer.
There’s no sound.
- Check that the player is connected securely.
- Make sure you operate the amplifier correctly.
- Adjust the analog output level with ANALOG OUT LEVEL +/– on the remote (CDP-CE375 only).
The CD does not play.
- There’s no CD inside the player. “no dISC” appears. Insert a CD.
- Place the CD with the label side up on the disc tray correctly.
- Clean the CD (see page 14).
- Moisture has condensed inside the player. Remove the disc and leave the player turned on for about an hour.
- Place the CD in the correct position on the disc tray.
The recording level has changed.
- The recording level changes if you adjust the analog output level with ANALOG OUT LEVEL +/– on the remote during recording (CDP-CE375 only).
The remote does not function (CDP-CE375 only).
- Remove the obstacles in the path of the remote and the player.
- Point the remote at the remote sensor
on the player. - Replace all the batteries in the remote with new ones if they are weak.
The player functions incorrectly.
- The microcomputer chips may be operating incorrectly. Turn the power off, then turn it back on to reset the player
Specifications
Compact disc player
- Laser: Semiconductor laser (l = 780 nm)
- Emission duration: Continuous
- Frequency response 2 Hz to 20 kHz ± 0.5 dB
- Dynamic range More than 93 dB
- Harmonic distortion Less than 0.0045%
Outputs

- Power requirements 120 V AC, 60 Hz
- Power consumption 11 W
- Dimensions (approx.) (w/h/d) 430 x 110 x 400 mm (17 x 4 3/8 x 15 3/4 in.) incl. projecting parts
- Mass (approx.) 5 kg (11 lbs 1 oz)
Supplied accessories
Audio cord (2 phono plugs – 2 phono plugs) (1) Remote commander (remote) (1) (CDP-CE375 only) R6 (size AA) batteries (2) (CDP-CE375 only) Design and specifications are subject to change without notice.
FREQUENTLY ASKED QUESTIONS
What is the Sony CDP-CE375 Compact Disc Player?
The Sony CDP-CE375 Compact Disc Player is a CD player designed to play audio CDs and provide high-quality sound reproduction.
What are the key features of the Sony CDP-CE375 Compact Disc Player?
Some key features of the Sony CDP-CE375 Compact Disc Player may include multiple disc capacity, CD-R/RW playback, shuffle and repeat modes, digital and analog audio outputs, and remote control.
How many discs can the Sony CDP-CE375 Compact Disc Player hold?
The Sony CDP-CE375 Compact Disc Player typically has the capacity to hold up to five discs at a time.
Can the Sony CDP-CE375 Compact Disc Player play CD-R and CD-RW discs?
Yes, the Sony CDP-CE375 Compact Disc Player is compatible with CD-R and CD-RW discs, allowing you to play recorded or rewritable CDs.
Does the Sony CDP-CE375 Compact Disc Player support MP3 or other digital audio formats?
No, the Sony CDP-CE375 Compact Disc Player does not support MP3 or other digital audio formats. It is designed to play standard audio CDs.
What audio outputs does the Sony CDP-CE375 Compact Disc Player have?
The Sony CDP-CE375 Compact Disc Player typically offers both digital (coaxial) and analog (RCA) audio outputs, allowing you to connect it to different audio systems or amplifiers.
Can I control the Sony CDP-CE375 Compact Disc Player remotely?
Yes, the Sony CDP-CE375 Compact Disc Player usually comes with a remote control, providing convenient control over playback and other functions.
Does the Sony CDP-CE375 Compact Disc Player have a headphone output?
No, the Sony CDP-CE375 Compact Disc Player does not have a dedicated headphone output. It is designed to be connected to external audio systems or amplifiers.
Can I connect the Sony CDP-CE375 Compact Disc Player to a home stereo system?
Yes, the Sony CDP-CE375 Compact Disc Player can be connected to a home stereo system using the available audio outputs, providing high-quality CD audio playback.
Does the Sony CDP-CE375 Compact Disc Player have a built-in equalizer or sound enhancement features?
No, the Sony CDP-CE375 Compact Disc Player does not typically have built-in equalizer or sound enhancement features. It is designed to provide accurate and faithful sound reproduction.
Can I use the Sony CDP-CE375 Compact Disc Player as a CD changer?
Yes, the Sony CDP-CE375 Compact Disc Player can function as a CD changer, allowing you to load multiple discs and easily switch between them for continuous playback.
Does the Sony CDP-CE375 Compact Disc Player have a random or shuffle playback mode?
Yes, the Sony CDP-CE375 Compact Disc Player usually offers a random or shuffle playback mode, allowing you to play tracks in random order.
Can I program the track order on the Sony CDP-CE375 Compact Disc Player?
Yes, the Sony CDP-CE375 Compact Disc Player typically has a programming feature that allows you to specify the track order for playback.
Does the Sony CDP-CE375 Compact Disc Player have a repeat playback mode?
Yes, the Sony CDP-CE375 Compact Disc Player usually offers repeat playback modes, such as repeating one track or repeating all tracks, allowing you to continuously play a specific track or the entire disc.
Can I control the playback speed on the Sony CDP-CE375 Compact Disc Player?
No, the Sony CDP-CE375 Compact Disc Player does not typically have a playback speed control feature. It plays audio CDs at their standard speed.
DOWNLOAD THE PDF LINK: Sony CDP-CE375 Compact Disc Player Operating Instructions
This symbol is intended to alert the user to the presence of uninsulated “dangerous voltage” within the product’s enclosure that may be of sufficient magnitude to constitute a risk of electric shock to persons.
This symbol is intended to alert the user to the presence of important operating and maintenance (servicing) instructions in the literature accompanying the appliance.
When you play a CD single, place it on the inner circle of the tray.




















