Enping Ruoca Electronics MK280 UHF Professional Wireless Microphone

Safety and environment protection
- To avoid electric shock risk, do not open the box. No accessories can be changed In the box.
- Before use, make sure the National standard voltage matches the receiver. For a long time no use, please move out the power plug from the power outlet.
- In order to fully ventilation, the hold set system should keep a minimum 30CM from other things. Bad ventilation environment will resu It the system getting hot and damage or even result in fire. Newspaper, dishcloth, curtain end other things should move out from the hold set system for fully ventilation.
Do not put some blaze headstream on the system such as the candle. Keep away the whole set system from the dusty, wet or direct sunlight place. Move out the liquid from the system to escape getting electric shock. Do not put it in a mechanical shock and vulnerable place to avoid damage, and do not knock and huff the microphone head - In order to obtain good results, as far as possible keep away from the high-voltage transmission valve, large metal objects, as well as computers, high-power interphone, radar and other equipment.
- PI ease use the profession a I a I ka Ii ne battery or rechargeable battery, fix up the batteries in the right direction, tum off the transmitter after the use to save the power, and for long time no use, remember lo move out the batteries.
- For a long time no use, move out the power adapter from the outlet.
- Th row the scrap batteries into the specific place.
Brief introduction of the performance These series products adopt UHF frequency and use the international standard common frequency which can be used in all over the world. Due to the low frequency and many reasons, traditional wireless microphones usually disturbed by many factors especially by the variety of harmonics which send-off by the CDNCD/LD and other digital equipment. Squelch circuit usually analysis the intensity of the RF frequency channel iMtead of the noise and the needed signal. Using the low traditional wireless microphone in the complex environment or when the signal of the microphone is weak or the microphone is closed,the squelch circuit may suddenly be opened which result in the receiver sending out a strong burst of noise. Do not change the frequency when using one set system. Using more than one set system in the same time, make sure the transmitter and the receiver of each system l’lave the same frequency channel. Using many transmitters or receivers in the same time, choosing the best frequency channel is recommended.
Main performances
- The maximum effective distance up to 100 Ma nd Iha ideal distance is60M.
- Adopts multilevel and narrowband high and mid frequency technology, the system can search the best channel and eliminate the disturbing signal.
- Thick undertone, light median! and clear alt.
- ALC circuit, avoid sound distortion by large sound.
- Low power consumption components, long battery llfe.
- shield antenna for the hand held microphone, practical and bea utifu I.
- Low power indicator for the handheld microphone, indicate change the battery in time.
- Suitable for small stage, song and dance ball, conference room, teaching room and family amusement etc.
- With audio compressing-expanding technology, the system can avoid noise and increase the dynamic range.
- Weaken feedback function, it can lower the feedback effectively during the receiving.
- Unique mute-sound function, refuse the outside interference to open the mute system.
- Excellent wafer and high quality components make tha sound quality better.
- Professional audio output: XLR balance output, 4>6.3 unbalance output, suitable for all occasion to connect the system
Part name and functions description
Handheld Transmitter:

Functions
- interchangeable microphone head
- LED Power signal lamp
- Power control switch
- Battery compartment
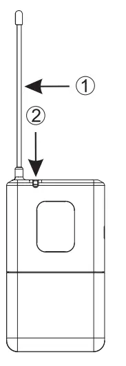
Bodypack microphone (optional)


Functions
- Antenna
- Power lamp
- Power on / off switches
- Microphoneinputsocket
- Battery compartment
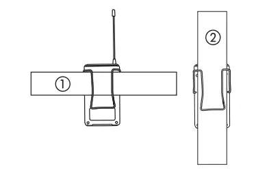
How to wear the bodypack transmitter:
Buckle the transmitter clip to belt 1 as shown in the left diagram. If bast effect must be achieved, the transmitter should be pushed down.
Battery replacement
The life of expectancy of two alkaline batteries is about 8 hours. When the power indication the symbol on the display screen keeps flashing as shown Is the left diagram, the batteries should be replaced immediately, as shown in the the diagram on the left

Specifications

Troubleshooting

FCC Statement
This equipment has been tested and found to comply with the limits for a Class B digital device, pursuant to part 15 of the FCC Rules. These limits are designed to provide reasonable protection against harmful interference in a residential installation. This equipment generates, uses and can radiate radio frequency energy and, if not installed and used in accordance with the instructions, may cause harmful interference to radio communications. However, there is no guarantee that interference will not occur in a particular installation. If this equipment does cause harmful interference to radio or television reception, which can be determined by turning the equipment off and on, the user is encouraged to try to correct the interference by one or more of the following measures:
- Reorient or relocate the receiving antenna.
- Increase the separation between the equipment and receiver.
- Connect the equipment into an outlet on a circuit different from that to which the receiver is connected.
- Consult the dealer or an experienced radio/TV technician for help.
Caution: Any changes or modifications to this device not explicitly approved by the manufacturer could void your authority to operate this equipment. This device complies with part 15 of the FCC Rules. Operation is subject to the following two conditions: (1) This device may not cause harmful interference, and (2) this device must accept any interference received, including interference that may cause undesired operation.
RF Exposure Information
The device has been evaluated to meet general RF exposure requirements. The device can be used in portable exposure conditions without restriction.
Operation Frequency

Information In this manual Is subJect to change without notice . Thi, manual have to contain all information about the product, anything which are not c clear or false or lo&&, pleaw contract us and eok fore confirmation .




















