LG 55EW5TK 55 Inch FHD Transparent OLED Digital Signage

Please read this manual carefully before operating your set and retain it for future reference.
WHATS IN THE BOX



CAUTION

- Worldwide : www.lg.com/id-manual
- SuperSign : http://partner.lge.com
You can download more detailed information on our website by searching the model number provided on the cover page.
| Dimensions (Width x Height x Depth) / Weight | Display | 1225.5 mm x 832.9 mm x 7.4 mm / 12.9 kg (48.2 inches x 32.7 inches x 0.2 inches / 28.4 lbs) |
| Signage box | 782.8 mm x 239 mm x 34.6 mm / 3.4 kg (30.8 inches x 9.4 inches x 1.3 inches / 7.4 lbs) |
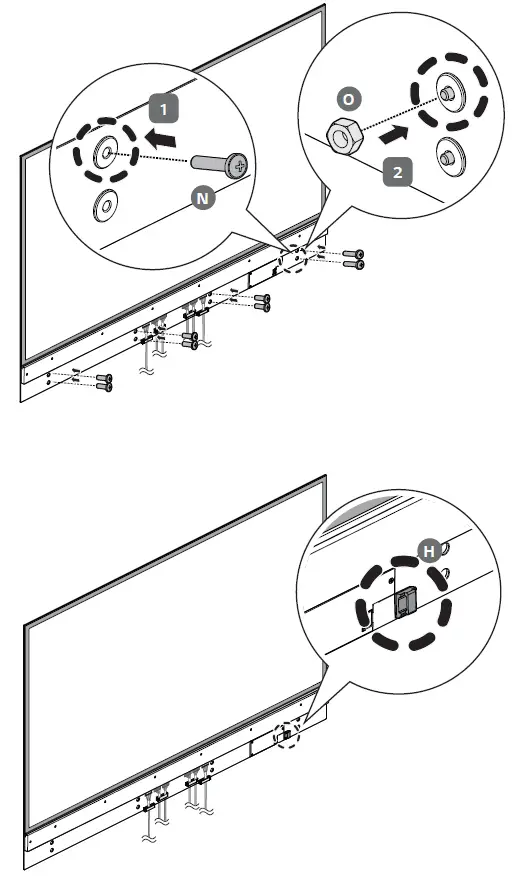
INSTALLATION INSTRUCTIONS









PORTS


BATTERY INSTALLATION

POWER ON/OFF





















