
Baby Food Maker
Instruction Manual & Guarantee![]()

DON’T FORGET TO REGISTER YOUR PRODUCT
WWW.DUALIT.COM/REGISTER
OR BY POST ![]()
Register my appliance
DUALIT BABY RANGE
Dualit has been making high-quality, innovative products to make the lives of our customers easier for over 75 years. The Dualit Baby range includes the essential products parents need to feed their baby safely and easily and true to the Dualit ethos, are functional and fuss-free. Welcome to the Dualit family.
The Dualit Baby Food Maker steams and blends ingredients to make a range of purees, puddings, and meals for your baby. Easy to use with one control dial, you can blend the smoothest purees or create chunkier textures.
REGISTER YOUR PRODUCT
- Fast and efficient customer service important safety advice, access to manuals and product information should you require assistance with your purchase.
- A library of mouth-watering recipes and regular articles and blogs.
- Be the first to hear about exciting new Dualit products.
Dualit recommends safety first: please register your product so that we can contact you in the unlikely event that a safety notification is issued. Remember to keep your receipt as proof of purchase.
DON’T FORGET TO REGISTER YOUR PRODUCT
WWW.DUALIT.COM/REGISTER
OR BY POST
Register my appliance
Unpack the box with care, keeping all the packaging materials until you are satisfied everything is present and in working order. Once satisfied remove any tags from the appliance body and recycle the packaging appropriately. Do not remove tags from the cord. You may wish to keep the box to store your appliance.
All illustrations are for representation only; your model may vary from the illustrations shown.
IMPORTANT SAFETY PRECAUTIONS
READ ALL INSTRUCTIONS
BEFORE USING THE APPLIANCE MAKER KEEP THESE INSTRUCTIONS FOR FUTURE REFERENCE.
IMPORTANT SAFEGUARDS
- THIS IS AN ATTENDED APPLIANCE.
- D risk of fire if an unattended appliance is left operating or plugged in
- This appliance must not be used by children younger than 8 years old and persons with very extensive and complex disabilities. Children were aged 8-14 years and persons with the reduced physical. sensory or mental capabilities or lack of experience and knowledge shall not use this appliance- unless they are supervised and have been given instruction concerning the use of the appliance in a safe way and understand the hazards involved Children shall not play with the appliance.
- Cleaning and user maintenance shall not be made by children unless they are older than and supervised.
- Keep the appliance and its cord out of reach of children less than 8 years old.
- Appliances can be used by persons with the reduced physical. sensory. or mental capabilities or lack of experience and knowledge if they have been given supervision or instruction concerning the use of the appliance in a safe way and understand the hazards involved.
- This appliance is intended for household use If the appliance is used improperly or for professional or semi-professional purposes or if it is not used according to these instructions the Guarantee becomes invalid and Dualit refuses any liability fix caused.
Before Connecting to the Mains Supply
- Check that the voltage marked on the appliance corresponds to VVI.n the Supply voltage. Risk of fire.
- Note: Any plug cut from the power supply cord should be disposed of immediately. Inserting any cut-off plug into an I 3A socket outlet is hazardous. Risk of fire.
- Never use the plug without the fuse cover fitted. Ensure the replacement fuse is the same current value as the original. Replacement fuses are available and should be ASTA approved to BSI 362. Risk of electric shock and fire.
- We recommend that the appliance is plugged into a socket that has no other appliance connected to it. Failure to do this may cause an overload trip a circuit breaker, or blow a Preferably the socket-outlet should be protected by a residual current device (RCD).
- Should the light remain illuminated after using the immediately unplug the appliance and call service center Risk of electric shock and fire?
- Do not place the appliance or man lead on or near any hot surface. hot hob. a gas burner or in a heated oven. Risk of electric shock and fire.
- To be protected against electrical hazards. fire. and injury to persons, do not immerse the mains plug or appliance in water or any other liquid. Risk of electric shock.
- Do not operate any appliance with a damaged lead or plug, or after the appliance malfunctions or has been dropped. damaged. or cracked in any Risk of electric shock and fire.
- To avoid an if the power cord is damaged it must be for safety reasons. be replaced by Dualit or an authorized Dualit repairer. Call Dualit’s Customer Helpline on +44 (0)1293 652 500.
- A short power-supply cord is provided to reduce risks resulting from becoming entangled in or tripping over a longer cord. Risk of
- Do not allow the cable to hang over the edge of a table or countertop. Risk of injury.
- Never tamper with the safety systems. They are included for your personal safety.
- Always store with the Lid in place. Blades are at Risk of Injury.
- The blades are sharp: take care when handling. especially when removing from and emptying the Blender Jar and during Avoid touching the sharp edges.
- Avoid contact with moving parts, never reach into the Blender Jar with your fingers or an object (e.g. a spatula) while the appliance is running. Risk of Injury.
- Ensure the Blender Jar. Steaming Basket and Lid are all securely in place before turning the processor It will not work without the Lid in place and locked. Spillage may occur if the Lid is damaged or incorrectly fitted. Risk of Injury or scalding.
- Use a soft spatula only when the unit is turned off and the appliance is unplugged. Risk of
- If the blade is switched off unplug the appliance before removing the Lid. Risk of Injury.
- Do not misuse the appliance it is designed for.– use with food items only.
- Do not add boding liquids or foods to the 3 Risks of sudden steam and liquid being ejected.
- Do not overfill the Blender fart ingredients need room to move around
- Turn the power off via the Control Dial and unplug before opening the Lid.
- Do not remove or open the Lid while the appliance is switched on. Risk of Injury.
- Switch off the appliance and disconnect from supply before approaching moving parts while at Risk of injury or scalding.
- Never remove the Blender Jar or Lid until the blades have come to a complete Risk of injury.
- Clean all parts after each use please refer to the cleaning instructions on page 22.
- When using a dishwasher, always set it to the lowest setting (max 40°C) and keep all accessories well away from the heating elements. Avoid the drying cycle.
- Do not fill above the max mark on the Blender Jar water level indicator. Risk of scalding.
- Do not operate the appliance using the Steam Cook Function unless there is 150m1 of water in the Blender Jar.
- D o does not operate on an uneven surface. The machine must only be operated on a flat horizontal surface. Risk of Injury or scalding.
- D o not use in the bathroom or outdoors. Risk of electric shock
- D o does not store or used in an appliance garage or under cupboards. Risk of
- Ensure that the appliance is assembled with all components in place before turning on. Risk of
- For safety reasons keep hands and utensils out of the Blender Jar while processing to reduce the risk of severe injury to persons or damage to the Risk of Injury.
- Do not remove items from the appliance while it is switched on. Risk of
- Cautions: Product surface. Hot Plate and appliance interior are subject to residual heat after Risk of scalding.
- H of Water Hazard. Avoid direct contact ..n hot crater. Unplug the appliance from the mains to allow it to cool before cleaning. maintaining, moving, or storing. For details. please refer to the cleaning section. Risk of scalding
- Warning – steam hazard: When boiling hot steam will be emitted from the appliance. Scalding may occur if you are within 400rnm of the steam vent Risk of scalding.
- Caution: vents are hot, risk of scalding.
- This appliance features boil-dry protection. If the appliance overheats. the boil-dry device will switch off the Blender Jar to prevent damage to the appliance. Wait approximately one hour for the appliance to cool down, and refill as normal. The appliance is now ready to use again. NOTE: If discolouration of the Blender Jar has occurred. this can be easily removed by descaling you,
- Unplug the appliance from the wall socket when not in use. or before moving and cleaning. Risk of lire.
- Do not move the appliance while it is switched at Risk of Injury.
- When moving the appliance. use both hands and lift holding the base unit. Never lift the processor using the Blender Jar handle. Do not touch hot surfaces. Risk of scalding.
- To disconnect. turn Control Dial to “0”. then remove the plug from the wall outlet Risk of fire.
- Caution: To prevent damage to the appliance. do not use alkaline cleaning agents. When (earns, use a soft cloa^ and a mild detergent Risk of electric shock.
- Do not use scow Ong pad or abrasive cleaner on the appliance body.
- Always pour any remaining water out of the appliance after use. after the appliance has cooled down and has been unplugged. Risk of contamination.
- The use of accessory attachments is not recommended by Dualit and may result in fire. electric shock. or injury to persons.
- Always check the temperature of food before feeding your baby. To test food place a metal spoon to the bottom of the container, wait 5 seconds, and withdraw the Speen rest the spoon against your lips. Do not heat food for longer than is required and stir well before serving. Caution: Risk of scalding.
SAVE THESE INSTRUCTIONS
In the interest of improving products, Dualit Ltd. reserves the right to change the product specification.
Unpack the box with care, keeping all the packaging materials until you are satisfied everything is present and in working order. Once satisfied remove any tags from the appliance body and recycle the packaging appropriately. Do not remove tags from the cord. You may wish to keep the box to store your appliance.
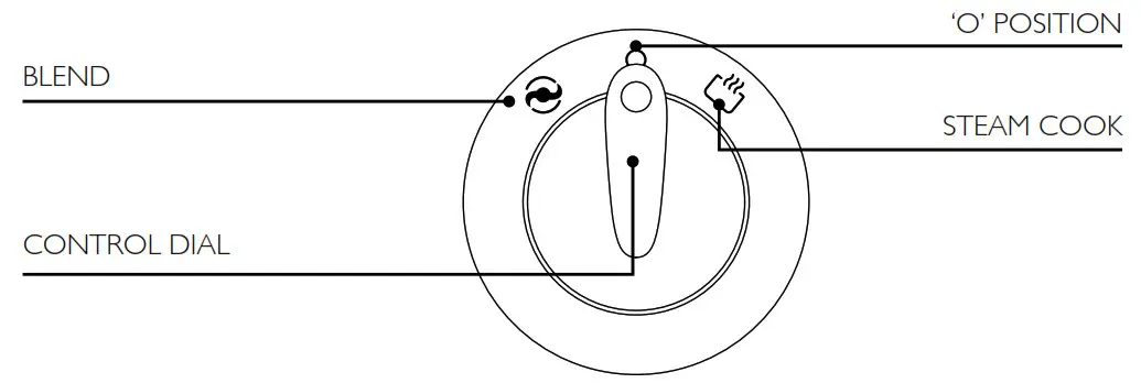
KNOW YOUR BABY FOOD MAKER
KNOW YOUR BLADE ASSEMBLY
FUNCTIONS
| FUNCTION | DESCRIPTION | TIME |
| Turn the Control Dial anti-clockwise to the Blend Function. This function will automatically turn off when you release the Control Dial. | Max 6 x 10-sec cycles with the 5-sec gap between cycles. Never blend with an empty Jar.* | |
| Turn the Control Dial clockwise to the Steam Cook Function. This function can be turned off at any time by turning the Control Dial back to the “O” position. The function will automatically turn off after 30 minutes. | Max 30 minutes. |
*Warning: Maximum 6 x 10-second cycles with a minimum 5-second gap between cycles with food. Warning: Never blend with an empty Jar. Risk of permanently damaging the product.
In the interest of improving products, Dualit Ltd. reserves the right to change the product specification without prior notice. All illustrations are for representation only; your model may vary from the illustrations shown.
SETTING UP

Read and follow these instructions before using your Baby Food Maker.
THIS IS AN ATTENDED APPLIANCE. Do not leave unattended during use, unplug after each use (risk of fire if an unattended appliance is left operating).
Never remove the Lid while the Baby Food Maker is operating (Power Indicator Light is illuminated). Warning: Hot water and steam may cause serious injury and burns; keep hands away from hot surfaces and steam vents. Risk of scalding.
Before first use, wash the Blender Jar, Blade Assembly, Steaming Basket, and the Lid with warm soapy water and rinse thoroughly. Do not submerge the Base, Power Cord or Plug as there is a risk of electric shock and permanent damage to the appliance.
Register your product at Dualit.com Which will only take 60 seconds. You will need the product model and serial number that are on the rating label on the base of the product.

Position the Baby Food Maker Base on a flat dry surface away from sources of heat, as close to the wall socket as possible. Do not store or use the Baby Food Maker under kitchen cabinets, in an appliance garage, close to curtains, or flammable material as the Baby Food Maker will emit steam from the Steam Vents in the Lid.
Caution: Do not cover vents, risk of fire. 
Use the shortest cord possible. Wrap the excess cord around the Cord Tidy underneath the Base.
Ensure that the Baby Food Maker is placed on a heat-resistant work surface. Do not operate on a tray. Do not let the cord hang over the edge of work surfaces or touch hot surfaces.
SETTING UP CONT.
Before the first use or after a long period of no use, wash the parts with warm, soapy water and rinse thoroughly.
Fill the Blender Jar with 150ml of water, insert the Steaming Basket and Steaming Rack with no food inside and fit the Lid.
Turn the Control Dial to the Steam Cook Function and leave until the Power Indicator Light turns off and the beep sounds. This will sterilize the components. 
Pour away any remaining water in the Blender Jar. Failure to do this will cause excess limescale build-up, which will increase steam cooking time and cause damage to your Baby Food Maker which may not be immediately apparent.
Do not submerge the Base, Power Cord, or plug as there is a risk of electric shock and permanent damage to the appliance.
ASSEMBLING YOUR BABY FOOD MAKER
Always ensure Control Dial is at the ‘O’ Position and the Baby Food Maker is unplugged from the mains before assembling and disassembling.
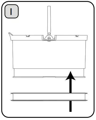
TO ATTACH THE BLENDER JAR
![]() | ![]() | ![]() |
| Line up the Alignment Indicator on the Blender Jar Base with the Unlock Icon on the Base. Ensure the Blender Jar is sat flat on top of the Base. | Twist clockwise so the Alignment Indicator is lined up with the Lock Icon. | To remove, reverse these steps. Caution: Hot Plate will be hot after use, allow 5 minutes to cool before removing. |
TO ATTACH THE BASKET SEAL
![]() | ![]() | ![]() |
| Stretch the Seal over the bottom of the Steaming Basket. | Ensure the Seal sits flat in the recess of the Steaming Basket. | To remove, use the notches on the bottom of the Steaming Basket to pull the Seal out and down. |
ASSEMBLING YOUR BABY FOOD MAKER CONT.
TO INSERT THE STEAMING RACK INTO THE STEAMING BASKET
![]() | ![]() | ![]() |
| Ensure that the Steaming Basket handle is tipped forwards towards the lip. | Insert the Steaming Rack from behind the handle, grip side up, at an angle and levelling out to sit on the ridge. | Pressing downwards, twist the Steaming Rack clockwise until the Steaming Rack locks into place with a click. To remove, reverse these steps. |
TO FIT THE STEAMING BASKET INTO THE BLENDER JAR
![]() | ![]() | ![]() |
| Line up the Steaming Basket lip with the Blender Jar lip. | Lower the Steaming Basket into the Blender Jar. The tabs on the Steaming Basket will sit in the grooves. | To remove, use the handle to lift the Steaming Basket out of the Blender Jar Caution: Hot steam after use, risk of scalding. |
TO FIT THE LID
![]() | ![]() | ![]() |
| Using the Icons at the back of Lid, line up the nlock Icon with the Handle Alignment Indicator. Ensure that the Lid is sat flat on the Blender Jar; the tabs will sit into the grooves. | Twist the Lid clockwise until you hear a click. The Lock Icon is lined up with the Handle Alignment Indicator and the Lid lip in-line with the Blender Jar lip. | Ensure that the Lid is fully sealed before use. If the Lid is incorrectly locked the Baby Food Maker may still work, risking food and hot steam escaping from the Blender Jar. Risk of scalding. |
To remove, reverse these steps.
Caution: Hot steam after use, risk of burning and scalding.
Allow 2 minutes to cool before removing the Blender Jar from the Base or the Lid from the Blender Jar.
ASSEMBLING YOUR BABY FOOD MAKER CONT.
TO REMOVE THE BLADE ASSEMBLY
Be careful when handling the Blade Assembly.
Caution: Blades are very sharp. Jar may be hot, risk of burning. Allow to cool before removing the Blade Assembly.
Remove the Blender Jar from the Base and remove the Lid and Steaming Basket from the Blender Jar. 
Turn the Blender Jar so it is resting on its side with the blades facing away from you.
Turn the Blade Hub clockwise and gently push the Blade Assembly through into the Blender Jar. Always hold the Blade Hub, not the blades.
Note: You may wish to use a tea towel to lift out the blade and protect your fingers. 
TO INSERT THE BLADE ASSEMBLY
Be careful when handling the Blade Assembly. Caution: Blades are very sharp.
Carefully push the Blade Seal onto the Blade Hub, ensuring it sits properly into the recess at the top. Caution: The blades are very sharp.
Holding the Blade Hub from the top, carefully insert the Blade Assembly down into the Blender Jar. Note: you may wish to use a tea towel to insert the blade and protect your fingers.
Turn the Blender Jar so it is resting on its side.
Turn the Blade Hub anti-clockwise until the Blade Assembly cannot be turned further.
USING YOUR BABY FOOD MAKER
Your Dualit Baby Food Maker uses steam to cook food and retain the nutrients. The cooked food can then be served as finger food or transferred to the Blender Jar for blending.
PREPARING FOOD FOR STEAM COOKING
- Fruit and vegetables should be washed, peeled, cored and cut into 1cm x 1cm cubes
- Red meat should have all bones, gristle and skin removed, then cut into 1cm x 1cm cubes
- Fish should be free of bones and cut into 1cm x 1cm cubes
Caution: Never turn the Control Dial to the Steam Cook Function when there is food in the Blender Jar. Only use this function when the food is in the Steaming Basket and water is in the Blender Jar.
| TYPE OF FOOD | INGREDIENT | APPROXIMATE STEAMING TIME * |
| FRUIT | Apple, Pear | 5 minutes |
| Peach, Plum, Orange | 10 minutes | |
| Pineapple | 15 minutes | |
| VEGETABLE | Asparagus | 10 minutes |
| Carrot, Tomato, Fennel, Leek, Spinach, Sweet Potato, Courgette, Pumpkin, Bell Peppers, Cauliflower, Celery | 15 minutes | |
| Broccoli, Potato, Peas, Green Beans, Celeriac | 20 minutes | |
| MEAT SUBSTITUTES | Quorn, Tofu | 15 minutes |
| FISH | Trout, Salmon, Cod, Sole | 15 minutes |
| MEAT | Pork, Beef, Lamb, Chicken | 20 minutes |
* All food must be cut into small cubes no larger than 1cm x 1cm.
Required cooking times depend on the quantity, type and texture of the food. Adjust cooking time until you get the result you want.
STEAM COOKING
Note: You can find recipes with cooking times at www.dualit.com/recipes, on our social media channels and on page 25 of these instructions.
Do not steam cook frozen ingredients as the Baby Food Maker cannot heat frozen food to the required temperature.
Defrost frozen, solid ingredients before steam cooking.
Do not place food into the water during the steam cooking function. Always use the Steaming Basket with the Seal attached and Steaming Rack inserted. 
With the Lid and Steaming Basket removed, pour 150ml of water into the Blender Jar. Caution: Adding too much water will slow the steam cooking process, too little water will result in undercooked food. Do not fill above the max mark. Always remove the steaming basket before filling the blender jar with water. Tip – You could use a baby bottle as a measuring device or weigh 150g of water.
Insert the Steaming Basket into the Blender Jar, making sure that the Steaming Rack is in place and Blender Jar is attached to the Base. Follow the assembly instructions on page 11.
Place ingredients into the Steaming Basket so they are evenly distributed across the Steaming Rack (max 300g). Do not overfill as this will result in undercooked food. Note: Do not process a large quantity of solid ingredients at the same time or pack food tightly into the Steaming Basket. Process the ingredients in a series of small batches.
STEAM COOKING CONT.

Attach the Lid, ensuring it sits level on the Blender Jar. Follow the assembly instructions on page 13. 
Plug in the Baby Food Maker to the mains. 
Turn the Control Dial to the Steam Cook Function. The Power Indicator Light will turn on. The food will now steam cook for a maximum period of 30 minutes.
When the steam cooking ends, the Power Indicator Light will turn off and a beep will sound until you turn the Control Dial back to ‘O’ Position. Note: You can stop steam cooking at any time by manually turning the Control Dial to “O” position. 
Wait 2 minutes then remove the Lid. If removing the Lid is difficult, wait 5 minutes or remove the Blender Jar from the Base, then hold the Jar under a cold tap for 2 minutes,
then remove the Lid. DO NOT POUR WATER IN THE STEAM VENT HOLE. Caution: Risk of burns and scalding.
Lift out the Steaming Basket using the handle. Caution: Hot steam risk of scalding.
You now have steamed food ready to serve or blend. Note: If you want to blend the steamed food, follow the blending instructions on page 20 from this point. Caution: Always heck that the food is cooked before blending or serving.
Always unplug from the mains when not in use. Do not remove the Blender Jar from the Base for at least 5 minutes after steam cooking due to heat from the Hot Plate.
Once the Baby Food Maker has cooled, remove the Blender Jar, pour away remaining water, and follow cleaning instructions on page 22.
BLENDING
Note: The Blend Function should only be used for fully steam cooked food. 
After steaming the food, lift the Steaming Basket from the Blender Jar using the Handle.Caution: Do not remove the Blender Jar from the Base as the Hot Plate is hot, risk of burning, steam and hot water risk of scalding. Warning: Always check food is cooked before blending. 
Pour the ingredients out of the Steaming Basket into the Blender Jar. Caution: Do not fill above 2/3 of the Blender Jar. Always position so you are tipping away from yourself as there is a risk of hot water splashing. Tip – Keeping the steaming water used for blending retains the nutrients in the food. 
Attach the Lid, ensuring it sits level on the Blender Jar. Follow the assembly instructions on page 13.
Turn the Control Dial to Blend Function and hold. Note: Blend for short pulses and allow the food to settle between pulses. For an even purée, do 6 x 10 second pulses.
If ingredients stick to the walls of the Blender Jar, remove the Lid, unplug the Baby Food Maker from the mains and use a soft spatula to push food down towards the blades. Note: If your baby food is too solid, add extra water/liquid. 
When you have finished blending, release the Control Dial which will automatically spring back to “O” Position and turn off the Baby Food Maker.
BLENDING CONT.

Do not remove the Blender Jar from the Base for at least 5 minutes after blending due to the heat from the Hot Plate. Caution: Risk of burning and scalding. 
Remove the Blender Jar from the Base and the Lid from the Blender Jar.
Tip the Blender Jar to pour the purée from the lip, use asoft spatula to help remove all the purée. 
Always unplug from the mains when not in use.
Once the Baby Food Maker has cooled, follow cleaning instructions on page 22.
CLEANING
BEFORE CLEANING MAKE SURE THE MACHINE IS SWITCHED OFF,
UNPLUGGED AND ALLOWED TO COOL. Dualit recommends cleaning your Baby Food Maker after every use. Do not submerge the Base, Power Cord or plug into
water or other liquid, or position under a water tap. Do not use sharp, abrasive or aggressive cleaning agents, bleach or scouring pads to clean the Baby Food
Maker. The use of such cleaning implements may affect the life of the Baby Food Maker. When not in use, clean and dry the Baby Food Maker and store in a cool, dry place.
Unplug the Baby Food Maker from the mains and allow to cool down completely before cleaning. 
Remove the Blade Assembly from the Blender Jar following instructions on page 14. Caution: The blade is sharp, risk of injury. 
Remove the Seal from the Steaming Basket before cleaning as food can build up behind the Seal. Always replace the Seal after cleaning. Caution: Do not operate without the Seal in place, risk of undercooked food.
Clean all surfaces of the Blender Jar, Steaming Basket, Seal, Steaming Rack and Lid with either washing up liquid and a damp, soft cloth or on the top shelf of the dishwasher.
Wipe the external surfaces of the Base with washing up liquid and a damp, soft cloth. Caution: Do not use sharp articles or metal tools to touch the Hot Plate as it may cause electric shock.
CLEANING THE BLADE ASSEMBLY
Clean the Blade Assembly after every use as food can build up under the blade on the Blade Assembly. Caution: A dirty blade will contaminate food that you make in the future.
Remove the Blade Assembly from the Blender Jar following instructions on page 14. Caution: The blade is sharp, risk ofinjury. 
Rinse the Blade Assembly and Blade Seal under a tap while carefully using the Cleaning Brush to clean under the blades with soap suds until all food remnants are removed. Once the food residue has been removed, the Blade Assembly can sit in the top shelf of the dish washer.
Dry the Blade Assembly with a lint-free cloth. Allow to fully dry before replacing back into the Blender Jar.
Warning: Do not operate the Baby Food Maker unless the blade is securely in position.
Caution: The blade is sharp, risk of injury. Always hold the Blade Assembly by the Blade Hub.
DESCALE REGULARLY
Important Notice: Product failure due to the build-up of limescale is not covered by the guarantee.
The Baby Food Maker needs to be descaled regularly. As a minimum, it is recommended that you descale your Baby Food Maker once a month in soft water areas, every 21 days in medium water areas and every 14 days in hard water areas. You can check your water hardness with your water provider. Wear rubber gloves. Do not use on marble surfaces. Do not put the descaler bottle down on work surfaces. Wipe descaler bottle after use.
Unplug the Baby Food Maker from the mainland allow to cool down completely before descaling. 
Pour just-boiled water into the Blender Jar up to the max marker, then add 50ml of Kilrock Espresso & Coffee Machine Descaler. This can be purchased on Dualit.com. caution: Be aware of splashing. Risk of scalding and chemical inhalation. TIP – To minimise limescale
build up in your Baby Food Maker; empty the Baby Food Maker after each use, do not allow water to stand in the Baby Food Maker overnight, use filtered water
instead of tap water. 
Leave to stand for 20 minutes.
Pour away the solution, wipe around the surface with a cloth and rinse well by pouring clean water into the Blender Jar and blending for 10 seconds. Rinse the Blender Jar a minimum of three times. FAILURE TO DO SO CAN CAUSE INJURY. DO NOT TURN THE CONTROL DIAL TO THE STEAM COOK FUNCTION WITH DESCALING SOLUTION IN IT.
RECIPES
When first starting your baby on solid foods, it is best to begin with vegetables over fruits, as the fruit is sweet and a preferred taste for babies after months of only drinking sweeter milk. Get them enjoying more savoury flavours first, then introduce the tastier foods later down the line once the weaning journey is established. This can help keep fussy eating at bay and ensure your baby continues with vegetables and different flavours and textures as they get older.
Single-ingredient purées are a good way to begin as it allows your baby the option of trying all the different flavours individually first before you slowly introduce new foods. Feeding ingredients one at a time also helps you to spot any allergies. When you are ready, start introducing different flavours using spices. Keep the meals varied and exciting for your baby and encourage them to be more adventurous.
With the ability to manually control the Blend Function process, you can make food suitable for babies first purées through to bigger meals with thicker, lumpier textures.
BROCCOLI PURÉE (Servings: 4)
Try green vegetables as baby’s first foods to get them used to the savoury flavours before they try the sweet-tasting fruits. This should help encourage eating vegetables from an early age. Preparation Time: 10 minutes Cooking Time: 30 minutes
- 150g broccoli florets
- 50ml baby’s usual milk
METHOD
- Add 150ml of water to the Blender Jar, attach to the Base and fit the Steaming Basket with Steaming Rack in place
- Wash and cut the broccoli into small pieces and place into the Steaming Basket. Lock in Lid and cook
- Remove the Blender Jar from the Base and drain the excess water
- Place the steamed broccoli into the Blender Jar and add the milk
- Blend for 5 seconds x 3, or until you reach the desired consistency
TIPS - Try giving a bit of the steam cooked broccoli as a soft, finger food as well as puréed
- Mix up the different single ingredient vegetables by simply swapping them out and following the same method. This is a great way to get your baby trying lots of different
veggie flavours
APPLE PURÉE (Servings: 4)
Apple is a great natural sweetener for babies to add to any of the savoury dishes. Make up a batch for the freezer; this recipe should fill an ice cube tray whilst still leaving a fresh serving. Preparation Time: 10 minutes Cooking Time: 30 minutes
- 2 medium apples
- Juice of half an orange
- A pinch of cinnamon
- 50ml water
METHOD
- Add 150ml of water to the Blender Jar, attach to the Base and fit the Steaming Basket with Steaming Rack in place
- Wash, core, peel and cut the apple into small pieces and place into the Steaming Basket adding the cinnamon on top. Lock in Lid and cook
- Remove the Blender Jar from the Base and drain the excess water
- Place the steamed apples into the Blender Jar adding the freshly squeezed orange juice
- Blend for 5 seconds x 3 until super smooth
TIPS - Be thorough when removing the core and pips. Try pushing the purée through a sieve
- Gala Apples are naturally sweet and less acidic
PEA AND SPINACH PURÉE
This is a great recipe to freeze into portions for a later date or to add to other recipes to create more flavours.
Preparation Time: 10 minutes
Cooking Time: 30 minutes
- 150g frozen petit pois peas
- 30g baby spinach leaves (1 handful)
- 50g set natural yoghurt (1 tbsp) or 30g of baby’s usual milk
METHOD
- Add 150ml of water to the Blender Jar, attach to the Base and fit the Steaming Basket with Steaming Rack in place
- Add peas to the Steaming Basket, remove stalks from spinach leaves and place on top, lock in Lid and cook
- Remove Steaming Basket, remove the Blender Jar from the Base and drain the excess water
- Pour out the ingredients and excess water from the Steaming Basket into the Blender Jar
- Add the yoghurt or milk, attach Lid and blend for 5 seconds x 2
- A little more water can be added for a looser consistency if required
TIPS - Try adding a pinch of herbs such as cumin, curry powder or pepper
GUACAMOLE AND PEA PURÉE
- Remove the Steaming Basket from the Blender Jar
- Cut the avocado in half and place in the Blender Jar, removing the stone
- Add the yoghurt and Pea and Spinach Purée portion, lock in Lid
- Blend for 5 seconds x 4 until super smooth
- If required, remove Lid and use a spatula to scrape the mixture down to blend for a further 5 seconds
- 1 portion pre-made Pea and Spinach Purée, defrosted
CARIBBEAN BANANA MASH
We have used a yam for this recipe, however, white potato can be used in its place. Preparation Time: 10 minutes
Cooking Time: 30 minutes
- 100g plantain/banana, weight with skin on
- 50ml water
- 5g of unsalted butter (optional)
- 50g of yam
METHOD
- Add 150ml of water to the Blender Jar, attach to the Base and fit the Steaming Basket with Steaming Rack in place
- Wash, peel and cut the yam into small pieces, peel and cut the plantain into 2.5cm slices
- Place the yam in the Steaming Basket first, then place the plantain on top, lock in Lid and cook
- Remove the Blender Jar from the Base and drain the excess water
- Remove the yam pieces from the Steaming Basket
- Transfer the plantain and excess water from the Steaming Basket into the Blender Jar, lock in Lid
- Blend for 5 seconds x 4
- Remove Lid add the yam, unsalted butter and water, lock in Lid then blend into the plantain for 5 seconds x 2
TIPS - When blending be careful not to over-process any potato as this will produce a sticky texture
- If a chunkier texture is required, simply blend all the ingredients together
CURRIED SWEET POTATO & CARROT MASH
This recipe contains curry powder, however, it can be made without and introduced later, alongside a small piece of onion steamed with the ingredients. Preparation Time: 10 minutes Cooking Time: 30 minutes
- 150g sweet potato
- 100g carrots
METHOD
- Add 150ml of water to the Blender Jar, attach to the base and fit the Steaming Basket with Steaming Rack in place
- Wash, peel and cut the vegetables into small pieces
- Place the vegetables into the Steaming Basket, add the curry powder, lock in Lid and cook
- Remove the Blender Jar from the Base and drain the excess water
- Empty Steaming Basket into the Blender Jar with the excess water
- Add 50ml of water and blend to purée. Pulse for 5 seconds x 3 or repeat until desired consistency is reached
- 50g white potato
- 50ml water
- ½ tsp curry powder
TIPS - Try adding a little coriander for more flavour
CHICKPEA AND ROASTED PEPPER MASH
Chickpeas are a great plant-based protein source to provide a tasty meal for babies. This dish also makes a tasty dip for adults. Baby peppers and plum tomatoes have a sweeter taste, taking just minutes to roast for a fuller flavour. Preparation Time: 10 minutes
Cooking Time: 30 minutes + 15 minutes in the oven
- 200g of tinned chickpeas
- 1 baby red pepper
METHOD
- Roast the pepper and tomatoes with the oil in the oven for 15 minutes at 150°C
- Add 150ml of water to the Blender Jar, attach to the base and fit the Steaming Basket with Steaming Rack in place
- Drain and rinse the chickpeas and add them into the Steaming Basket
- Remove the stalks, slice and place the roasted pepper and tomatoes on top of the chickpeas, lock in Lid and cook
- Remove the Blender Jar from the Base and pour the excess water into a separate bowl
- Pour Steaming Basket contents and excess water into the Blender Jar
- Blend for 5 seconds x 3
- 2 baby plum tomatoes
- 1 tsp olive oil
- Add milk or the excess water from the Blender Jar, 1 tbsp at a time if requiring a looser consistency
TIPS
- Reusing the excess water from steaming helps to retain the nutrients
- Add a pinch of cumin or mixed spice in one portion, or try a different spice in each
- Onion and/or garlic can also be added to stimulate taste buds by adding a small tsp sized piece or 1 clove in the Steamer Basket with the rest of the ingredients
- Roasting the peppers and tomatoes in batches means you can freeze extras for future use
SWEET POTATO AND BABY SPINACH MASH
This is a delicious recipe to introduce different flavours and textures to your baby. Preparation Time: 10 minutes Cooking Time: 30 minutes
- 150g sweet potato
- 50g baby spinach (handful)
- 30ml of baby’s usual milk
METHOD
- Add 150ml of water to the Blender Jar, attach to the Base and fit the Steaming Basket with Steaming Rack in place
- Peel and chop the sweet potato into small identical pieces and place in the Steaming Basket
- Wash and remove stalks from the spinach leaves, place on top of the sweet potato, lock in Lid and cook
- Lift out Steaming Basket, remove the Blender Jar from the Base and pour the excess water into a separate bowl
- Transfer the steamed vegetables into the Blender Jar with the excess water and 30ml milk
- Blend for 5 seconds x 2 and if a looser texture is required, remove Lid and add 30ml of the excess water from the Blender Jar, repeat 5 second blend
TIPS
- Using the excess water from the Blender Jar retains the nutrients from the vegetables in the meal
- Adding a pinch of cumin to this dish will tantalise your baby’s taste buds
PEAR AND PARSNIP SOUP
This recipe works with either milk or a dairy free alternative. Preparation Time: 10 minutes
Cooking Time: 30 minutes + 10 minutes on the hob
- 1 medium pear
- 1 medium parsnip
- 200ml of baby’s usual milk
METHOD
- Add 150ml of water to the Blender Jar, attach to the Base and fit the Steaming Basket with Steaming Rack in place
- Peel the parsnip, peel and core the pear, cut both into small pieces
- Add the parsnip and pear to the Steaming Basket, lock in Lid and cook
- Remove the Blender Jar from the Base and rid the excess water
- Place ingredients into the Blender Jar with the excess steamed water
- Blend for 5 seconds x 3 until smooth
- Transfer the mixture to a saucepan on a low heat, add the grated cheese and milk and stir until cheese has melted
- Allow to cool down before serving baby, adding the cinnamon to each individual serving
- 25g grated cheese
- 150ml water
- 1 pinch of cinnamon
TIPS
- Try replacing the pear with apple and/or the parsnip with cauliflower to experiment with lots of different flavours following the same method
- Vegan cheese works just as well if this is your preferred option
TOMATO PASTA
This is a great recipe to get baby used to eating with the whole family.
For this pasta dish, use organic wholewheat, durum or rice flour rather than egg pasta. Preparation Time: 5 minutes Cooking Time: 10 minutes on the hob
- 1 small cup of pasta
- 1 large tomato
- 1 tsp of tomato purée
METHOD
- On the hob, cook one small cup of pasta in a pan of boiling water, as per packet instructions
- Drain and add the pasta to the Blending Jar
- Remove the tomato skin and add to the pasta with the tomato purée, lock in Lid
- Blend for 10 seconds x 2 or until desired consistency acquired
TIPS
- Eventually aim to add small amounts of herbs to the dish
- Next time you have Spaghetti Bolognese, add a small serving to the Blender Jar withm 50ml of water and blend until smooth
VEGETABLE COUSCOUS
This delicious meal can be made using plain or flavoured couscous. Preparation Time: 10 minutes
Cooking Time: 20 minutes in a separate bowl 31
- 25g couscous
- 50ml of heated vegetable stock or hot water
- 2 baby plum tomatoes
METHOD
- Remove the Steaming Basket from the Blender Jar
- In a separate bowl add the couscous and pour in the vegetable stock, enough to just cover the couscous. Place the tomatoes on top of the water and cover for 15-20 minutes
- Peel and cut the avocado, add to the Blender Jar along with the Puréed Pea and Spinach
- Add the cooked bowl of couscous and tomato to the Blender Jar
- Blend for 5 seconds x 4 or until nice and smooth
- Add an extra 25ml of water or milk to the mix if required
- 1 portion pre-made Pea and Spinach Purée, defrosted
- 25g ripe avocado
- 25ml of water or baby’s usual milk
TIPS
- Add in 1 tbsp of natural yoghurt or a dairy-free alternative for a creamy taste
FRUITY PORRIDGE
Porridge is a simple favourite that can be enhanced with different fruits. You will also need 1 x 50ml heat proof bowl (up to 120°C).
Preparation Time: 10 minutes Cooking Time: 30 minutes
- 25g Organic porridge oats
- 50ml water or baby’s usual milk
- Freshly squeezed juice of half an orange for the fruit purée
- 25g peeled and cored apple cut into small pieces
- 25g peeled and cored pear cut into small pieces
METHOD
- Add 150ml of water to the Blender Jar, attach to the base and fit the Steaming Basket with Steaming Rack in place
- Fill the heatproof bowl with 50ml water or milk, add the porridge oats and stir
- Carefully place the dish into the Steaming Basket
- Place the apple and pear pieces around the dish, lock in Lid and cook
- Lift out the Steaming Basket and remove the heatproof bowl carefully – this will be hot
- Empty the oats and fruit mix into the Blender Jar
- Add the orange juice and blend for 5 seconds x 4 until a smooth consistency is reached
RICE PUDDING (Servings: 2)
Use good quality, Basmati long-grain white rice. If using brown, allow soaking first to soften.
You will also need 1 x 50ml heatproof bowl (up to 120°C). Preparation Time: 10 minutes Cooking Time: 30 minutes
- 25g of rice
- 50ml water
- 50ml of baby’s usual milk
- 1 pinch of nutmeg (optional)
METHOD
- Add 150ml of water to the Blender Jar, attach to the base and fit the Steaming Basket with Steaming Rack in place
- Fill the heatproof bowl with 50ml water add the rice, stir and add nutmeg
- Carefully place the dish into the Steaming Basket, lock in Lid and cook
- Drain the excess water from the Steaming Basket
- Empty the rice mix into the Blender Jar
- Add the milk and blend for 5 seconds x 4 until a smooth consistency is reached
TIPS
- Adding a portion of the frozen Puréed Apple blended into the pudding after cooking naturally sweetens this dish
STRAWBERRY AND PEACH FOOL (Servings: 4)
This is a fantastic light dessert for the whole family – just increase the volume of ingredients.
Fresh strawberries work best as frozen tend to hold a lot of water. Preparation Time: 10 minutes Cooking Time: No cooking
- 150g strawberries
- 1 medium peach
- 100g of set greek yoghurt or 50g full-fat cream cheese
METHOD
- Remove stalks from the strawberries, peel the peach and cut into quarters
- Remove Steaming Basket and place the fruit into the Blender Jar, lock in Lid
- Blend for 5 seconds and repeat until nice and smooth. Blending in 5 second intervals allows the ingredients to settle, producing a consistent texture
- Pour into a large bowl and gently stir in the yoghurt or cream cheese until combined
TIPS
- Have fun varying the fruit to play with different flavours. All types of berries taste good in this dessert
- If preferred use an alternative dairy free yoghurt or cheese
BANANA AND PEAR PUDDING(Servings: 4)
A sweet, tasty and simple dessert to create. This can also be made as a smoothie by adding up to 200ml of liquid (water, juice or milk).
Preparation Time: 10 minutes Cooking Time: No cooking
- 1 ripe banana
- 1 ripe soft pear
METHOD
- Peel, core and cut pear into small pieces and place in the Blender Jar
- Lock in Lid and pulse for 5 seconds x 3 to a smooth purée
- Remove Lid, slice the banana into 2.5cm pieces and add to the blender mix
- Lock in Lid and pulse for 5 seconds x 3 until the banana is puréed into the pear
TIPS
- A few strawberries added in gives the dessert an exciting flavour
MIXED FRUIT COMPOTE (Servings: 4)
To be enjoyed as a yummy dessert or add up to 200ml of liquid (water, juice or milk) to switch itm to a super smoothie.
Preparation Time: 10 minutes Cooking Time: No cooking
- 1 small nectarine
- 1 medium ripe mango
- 1 medium apple
- Juice of half an orange
METHOD
- Remove peel from the nectarine, mango and apple and cut into small, identically sized pieces
- Remove Steaming Basket from Blender Jar
- Place the fruit pieces into the Blender Jar, add the juice and lock in Lid
- Blend for 5 seconds x 3 for a super smooth texture
TIPS
- 1 tbsp of yoghurt can be added to individual portions for a luxurious creamy taste
- Freeze into portions or on a stick as an ice pop for hot toddlers
TROUBLESHOOTING
| POSSIBLE CAUSE(S) | SOLUTION(S) |
| THE BABY FOOD MAKER DOES NOT TURN ON | |
| The Baby Food Maker may not be properly connected to the power supply. | Check the plug is in the socket and the switch is turned on. |
| The Baby Food Maker fuse may have failed. | Replace the fuse if necessary and check your residual current device (RCD). Never use the plug without the fuse cover fitted. Ensure the replacement fuse is the same current value as the original. Replacement fuses are available and should be ASTA approved to BS1362. |
| The Lid has not been fully locked into place. | Ensure that the Lid is sitting correctly, and the interlock is fully engaged. |
| I CAN NOT TAKE THE LID OFF THE STEAMING BASKET AFTER STEAMING | |
| The heat of the food has caused the Lid to expand resulting in a tighter fit. | This is normal. Wait for 5 minutes before removing the Lid. Hold the Steaming Basket under a cold tap for 2 minutes then remove the Lid. Do not pour water in the Steam Vent Hole. |
| POSSIBLE CAUSE(S) | SOLUTION(S) |
| THE BABY FOOD MAKER IS TAKING LONGER THAN USUAL TO STEAM COOK | |
| The Baby Food Maker may have a build-up of limescale. This will show as white and/or brown spots in the Blender Jar. | Descale your Baby Food Maker regularly, please see Descale section. |
| You may have put too much water into the Blender Jar. | Ensure you pour the correct amount of water into the Blender Jar. Do not fill above the max mark. |
| THE CONTROL DIAL IS ON ‘O’, BUT THE POWER INDICATOR LIGHT IS ILLUMINATED | |
| Control Dial has developed a fault. | Stop using the product. Unplug and call customer services on 01293 652500 for further information. |
| THE BABY FOOD MAKER HAS A STRANGE SMELL WHEN I UNPACK IT | |
| Due to the newness of the materials the Baby Food Maker will produce a slight smell when you take it out of the box. | This smell will soon disappear after you have unpacked your Baby Food Maker. We also recommend that you complete one steam cooking process with empty baskets to remove any remaining dirt and smell. |
| MY BABY FOOD MAKER HAS AN UNPLEASANT SMELL WHEN IN USE | |
| You many have food remnants trapped under the Seal or on the Blade. | Ensure you fully clean your Baby Food Maker after each use. |
| MY BABY FOOD MAKER IS BEEPING AND THE POWER INDICATOR LIGHT IS NOT ILLUMINATED | |
| The Power Indicator Light is off and the Control Dial is turned to Steam Cook Function after a steam cooking cycle and is beeping. | Your Baby Food Maker has turned itself off at the end of the 30-minute steaming cycle (it should be beeping). Your Baby Food Maker is working as it should. Turn the Control Dial back to the “O” Position. |
| MY BABY FOOD MAKER IS MAKING A TICKING SOUND WHEN STEAMING | |
| The Baby Food Maker makes a ticking sound when the hot plate is regulating its heat. | Your Baby Food Maker is working correctly. |
| MY BABY FOOD MAKER IS NOT BLENDING | |
| The Baby Food Maker works but is no longer blending effectively or has stopped blending. | The blade assembly may have worn and can be replaced. Call customer services on 01293 652500 for further information. |
| THE BABY FOOD MAKER POWER INDICATOR LIGHT DOES NOT ILLUMINATE | |
| The Baby Food Maker works but the Power Indicator Light does not illuminate. | The Power Indicator Light may have blown. Call customer services on 01293 652500 for further information. |
GUARANTEE
This appliance is of excellent quality and construction. However, if any defects in materials or workmanship do appear during the relevant guarantee period, we will, at our discretion, either repair or replace the defective parts, free of charge, subject to the terms and conditions of our Guarantee shown below.
This Guarantee covers both parts and labour. Carriage is not included.
Your Guarantee period is as follows:
- 1 year This Guarantee provides benefits that are additional to, and do not affect, your statutory rights. This Guarantee does not cover the cost of returning the product to the dealer from whom it was purchased or to ourselves. This Guarantee applies only to products sold and located in mainland Great Britain. It does not cover liability in respect of or replacement of plugs, cables or fuses and also does not cover defects due to:
- Failure to use or maintain the product in accordance with Dualit’s instructions.
- The product is connected to an unsuitable electricity supply.
- Accidental damage to or abuse or misuse of the product.
- Product modification, except by Dualit or approved agent.
- Dismantling of or interference with the product.
- Theft or attempted theft of the product. Before returning any product under this Guarantee, please check that:
- You have followed the product instructions correctly.
- Your mains electricity supply is functional.
- The defect is not due to a blown fuse.
If you wish to claim under this guarantee you should: - Send the product, postage or carriage paid, to the dealer from whom it was purchased or to Dualit direct.
- Ensure that the product is clean and packed carefully (preferably in its original carton).
- Enclose details of your name, address and telephone number and when and where the product was purchased, together with proof of purchase (e.g. a till receipt).
- Give exact details of the nature of the defect.
This Guarantee does not cover any other claims whatsoever, including, without limitation, any liability for incidental, indirect
or consequential damage, nor does it cover any claims for conversion or modification or for the costs of repair carried out by any third party without the prior consent of
Dualit. If replacement parts are fitted to the product this will not extend the period of the Guarantee. For further advice contact the Dualit customer helpline on +44 (0)1293 652 500 (09:00 to 17:00 Monday to Friday). Alternatively, email Dualit at [email protected] or visit www.dualit.com
Do not throw away the appliance with the normal household waste at the end of its life, but hand it in to an official collection point for recycling. By doing this you help preserve the environment.
INSTRUCTIONS ON ENVIRONMENT PROTECTION
Do not dispose of this product in the usual household garbage at the end of its life cycle. Please hand it over to a collection point for the recycling of electrical and
electronic appliances. The symbol on the product, the instruction of use or the packaging will inform you about the methods of disposal. The materials are recyclable as mentioned on its marking. By recycling, material recycling or other forms of re-utilization of old appliances you are making an important contribution to protecting our environment. Please inquire at the community administration for the authorised disposal location.
DON’T FORGET TO
REGISTER YOUR PRODUCT
Take a minute to register your product with us to receive these outstanding benefits:
- Fast and efficient customer service, important safety advice, access to manuals and product information should you require assistance with your purchase.
- A library of mouth-watering recipes and regular articles and blogs.
- Be the first to hear about exciting new Dualit products.

Dualit recommends safety first: please register your product so that
we can contact you in the unlikely event that a safety notification is issued.
Remember to keep your receipt as proof of purchase.
WWW.DUALIT.COM/REGISTER

NOTES….……………………….
A
feeding
and
weaning
range designed to
make everyday baby life that bit
easier.
ORDER THE FULL RANGE AT
www.dualit.com
Dualit Limited County Oak Way Crawley West Sussex RH11 7ST
+44(0)1293 652 500 [email protected] www.dualit.com
GB-C






































