Honeywell SS4 Flame Detectors Fire Sentry

Fire Sentry SS4 Detectors
Fire Sentry SS4-A and SS4-AS Features:
- Multi-Spectrum™: senses ultraviolet, visible and Wide Band Infrared™
- Built-in test for optical “through the lens” testing
- False alarm immunity
- Detects hydrocarbon and nonhydrocarbon based fires
- Wide field-of-view and solar-blind
- Adjustable detector sensitivity
- Microprocessor based algorithms: FirePic™, Snapshot™ and Tri-Mode Plot™
- Wide temperature range of operation
- Compatible with standard approved fire alarm panels
- Explosion-proof housing
- Time programmable alarm verification
Fire Sentry SS4-AUV Features:
- Senses solar-blink ultraviolet band
- Built-in test for optical “through the lens” testing
- Utilizes long-life, ruggedized UV sensors
- Detects hydrocarbon and nonhydrocarbon based fires
- Wide field-of-view and solar-blind
- Adjustable detector sensitivity
- Microcomputer based algorithms: FirePic™, Snapshot™ and UV Plot
- Wide temperature range of operation
- Compatible with standard approved fire alarm panels
- Explosion-proof housing
- Time programmable alarm verification
Applications include:
- Petrochemical Facilities and Refineries
- Co-Generation Plants
- Aircraft Hangars
- Silane and Hydrogen Gas Storage
- Gas Turbines & Power Plants
- Gas Compressor Stations
- Warehouses
The Fire Sentry SS4 Electro-Optical Digital Fire and Flame Detectors represent leading edge UV and UV/IR technology.
FireSentry SS4-A
The Fire Sentry SS4-A represents the world’s pre-eminent UV/IR technology for
Electro-Optical Flame Detectors with tens of thousands successfully operating in a multitude of installations worldwide. This multi-spectrum detector senses radiant energy in the ultraviolet (UV), visible and Wide Band Infrared™ (IR) spectrum. The radiant energy from all types of flaming fires will alert the detector to their presence.
To eliminate common nuisance false alarms that occasionally occur with
UV-only, IR-only, Dual IR or Dual Mode UV/IR detectors, the Fire Sentry SS4 detectors’ FireLogic signal processing requires that UV, visible and Wide Band IR radiant energy all be evaluated before declaring a fire. The smart detector utilizes real-time signal processing algorithms that are optimized to alarm on all types of fires, while virtually eliminating the possibility of false alarms.
Fire Sentry SS4-AS
The Fire Sentry SS4-AS processes UV, IR and Visible (VIS) spectral ranges from
ruggedized solar-blind UV, “Quantum-Effect” IR and VIS sensors correspondingly. It is optimized for detection of hydrogen, ethanol, methanol and methane (natural gas) fires and like the other detectors in its family, it responds to Type A, B and C flaming fires.
Fire Sentry SS4-AUV
The Fire Sentry SS4-AUV represents the leading edge technology UV optical flame detectors. This flame detector senses radiant energy in the ultraviolet (UV)
spectrum. The radiant emissions of flaming fires will alert the detector to their presence.

Fire Sentry SS4 Detectors

The field of view for the Fire Sentry SS4 detectors is the widest in the industry with a 120° cone of vision. This means more hazard area can be covered by each detector. Greater sensitivity also increases the volume covered by each detector, up to four times more than some other detectors.
Using sophisticated microprocessor signal processing algorithms, false alarm rejection is maximized – with virtual immunity to false alarms from arc welding, corona discharge and other common non-fire sources.
Operation
The Fire Sentry SS4 detectors operate from standard 24 Volt DC power and interfaces to approved fire alarm panels or standard PLC’s. When power is applied, a self-test is performed and the fault relay resets to show no faults. The front LED lights flash every ten seconds to indicate power is on.
The continuous spectral data stream of information from the sensor array is analyzed by the microprocessor. Upon alarm, the detector activates the alarm relay and stores all the pre-fire spectral data in non-volatile memory for retrieval and evaluation. This Fire Pic™ data can be used to postulate the cause of the fire.
As part of the FS2000™ System, the SS4 family of detectors communicate with CM1-A Controller via a four wire bi-directional RS-485 FireBus™.
Tri-Mode Plot Shown on Computer Display


General Specifications
| Sensitivity | Adjustable between 60 ft., 45 ft., 30 ft, and 15 ft. to a 1 sq. ft. gasoline fire |
| Response Time | 2-5 seconds to 1 sq. ft. of gasoline fire at 60 ft. |
| Field-of-View | 120 degrees cone of vision (60 degrees from on axis) |
| Spectral Sensitivity | Ultraviolet: 185 to 260 nanometers Wide Band Infrared: 0.7 to 3.5 micrometers (SS4-A and SS4-AS only) Visible: 400 to 700 nanometers (SS4-A and SS4-AS only |
| Input Power | 24 VDC nominal (20.5 to 34 VDC) |
| Power Consumption | 68 mA normal operation (relay version) 75 mA alarm condition (relay version) 95 mA alarm condition (analog version) |
| Output Relays | Fire Alarm Relay: NO & NC contacts Latching/Non-Latching, switch selectable Fire Verify Relay: NO & NC contacts Adjustable time from 0 to 30 seconds Fault Relay NO & NC contacts Relay contact ratings: 0.5A at 120 VAC, 1.0A at 24VDC Fault relay is energized during normal operation All other relays are de-energized |
| Operating Temperature | -40 to 185°F (-40 to 85°C) |
| Humidity Range | 5 to 98% RH, non-condensing |
| Weight | 4 pounds – Aluminum 7.5 pounds – Stainless Steel |
| Housing | Copper-free aluminum (less than 0.4%) powder coated NEMA4 (IP66), tamper resistant with integral dual ¾” NPT conduit openings or optional M25. Stainless steel housing available |
| Electrical Classification | Explosion-proof Class I, Div. 1 & 2, Groups B, C and D Class II, Div. 1 & 2, Groups E, F and G Class III |
| Vibration | Meets or exceeds MIL Spec 810 C Method 514.2, Curve AW |
| Mounting | Swivel bracket assembly |
| Warranty | Two years from factory shipping date |
Maximum Sensitivity
Field of View, Horizontal and Vertical
Sensitivity to 1 sq. ft. Gasoline Pan Fire
Distence
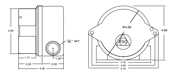
General Dimensions
Side and Back Views (All Dimensions in Inches)

Please Note:
While every effort has been made to ensure accuracy in this publication, no responsibility can be accepted for errors or omissions. Data may change, as well as legislation, and you are strongly advised to obtain copies of the most recently issued regulations, standards, and guidelines. This publication is not intended to form the basis of a contract.
Customer business centre
Korea: +82-2-69090300
Singapore: +65-65803776
Australia: +61-3-94642770
Taiwan: +886-3-5169284
China: +86-21-28943293
Technical Services
AP: [email protected]
EMEA: [email protected]
US: [email protected]
www.honeywell.com




















