Honeywell FS20X Flame Detectors Fire Alarm

Fire Sentry FS20X Detector

Features
- Patented* WideBand IR™ Infrared combined with Ultraviolet
- Detection range greater than 200 feet to 1 sq. ft. heptane fire
- Patented* Electronic Frequency Analysis
- Visible Sensor for optimum false alarm rejection
- Selectable detection sensitivities
- Solar blind 90° full 100% cone-of-vision
- Dual Microprocessors for reliable performance
- Real-time clock for accurate time dating of events
- FirePic™ — Up to 6 pre-fire event data storage
- Event log — Up to 200 events with date and time stamp
- Built-in RS-485 ModBus Communication
- Built-in non-isolated 4-20 mA analog output (sink or source)
- Alarm, Fault and Fire Verification relays.
- Automatic Optical Path and Electronic Self-Test
- Widest operating temperature range
- Patented* Electronics Module for components protection with plug-in terminations for easy field installation
- Two ¾” NPT OR 25mm conduit entries
- Low power consumption
- High RFI and EMI immunity
- FM approved
Benefits
- Detects hydrocarbon and non-hydrocarbon fuel fires in all environmental conditions
- Arc welding immunity
- False alarm rejection for all environmental conditions
- Minimal maintenance for trouble-free operation
- PC software and Interface Module (FSIM) for fault diagnostics real-time graphs (RTGs), and downloading of FirePics™ and event log
- Suitable for a wide variety of applications.
The Fire Sentry FS20X is the latest generation high technology MultiSpectrum (UV/Dual IR/VIS) Fire and Flame Detector, which is part of the FSX family of advanced technology Electro-Optical Flame detectors.
Based on the foundation of the highly successful and reliable Fire Sentry SS4 detector, the Fire Sentry FS20X detector represents a quantum leap in integrating Infrared and Ultraviolet sensing technologies. The Fire Sentry FS20X is a Multi-Spectrum and UV/Dual IR/VIS fire and flame detector with a proven UV solar-blind sensor. The Fire Sentry FS20X exhibits faster false-alarm free response to fires over a wider temperature range and with a much longer detection range compared to conventional UV/IR detectors.
Applications
- Refineries and Oil Production Facilities
- Off-Shore Platforms
- Turbine/Compressor Enclosures
- Acetylene Processing and Storage
- Oil & Gas Pipelines and Pumping Stations
- LNG/LPG Loading & Unloading Facilities
- Natural Gas and CNG Plants
- Ethanol, Methanol, and IPA Production and Storage
- Crude Oil and Gasoline Storage and Tank Farms
- Aircraft Hangars
- Hydrogen Plants and Storage
- Paint & Solvent Storage
- Chemical Production, Storage, and Loading Facilities
- Power Plants
- Silane Gas Storage
Fire Sentry FS20X Detector

Conventional and older technology UV/IR detectors, using narrow band 4.3 micron IR sensors, will not respond to smoky fires or if the detector lens is contaminated with oil and other substances since both UV and 4.3 micron signals are attenuated, obscured or absorbed by thick smoke or detector lens contaminations. Also, these old technology UV/ IR detectors will not alarm to any fire if they are installed behind ordinary window glass.
The Fire Sentry FS20X detector uses advanced patented algorithms for signal processing and fire and flame analysis is designed to alarm to all types of fires in all industrial environmental conditions. If the detector’s UV signal is degraded due to heavy smoke or a contaminated lens, the Fire Sentry FS20X’s patented* WideBand IR™, Near Band IR and Visible sensors will still alarm to fire but at a reduced sensitivity and slower response time.

Dual microprocessors provide a high level of fail-safe operation combined with fast and reliable performance. The Master Microprocessor performs high-speed digital sampling and signal processing calculations; while the slave microprocessor handles various sensor data, performs communications, self-diagnostics and provides interface versatility; and additional memory for storing Event Log and FirePic™ data.
The Fire Sentry FS20X detector has a detection range in excess of 200 feet (very high sensitivity setting) for the detection of a one square-foot Heptane reference fire and has a cone of vision greater in volumetric coverage than most UV/IR detectors. This means fewer detectors can be used as compared to other manufacturers’ detectors.
*Fire Sentry Corporation Patents

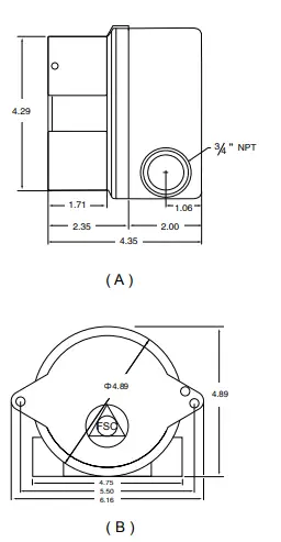
General Dimensions
Side and Back Views (All Dimensions in Inches)

General Specifications
| Field of View | 90° Full 100% Cone of vision, ± 45° from on axis |
| Sensitivity | Very High, High, Medium and Low — Switch Selectable |
| Response Time | 3-5 Seconds to 1 sq. ft. n-Heptane fire at 100 ft. 3-10 Seconds to 1 sq. ft. n-Heptane fire at 200 ft. |
| Spectral Sensitivity | Ultraviolet: 185 – 260 nanometers Visible: 400 – 700 nanometers Near Band IR: 0.7 – 1.1 microns Wide Band IR: 1.1 – 3.5 microns |
| Operating Voltage | 24 VDC nominal (18-32 VDC) – Regulated |
| Power Consumption | Operating: 83 mA @ 24 VDC nominal |
| Alarm | 133 mA @ 24 VDC nominal |
| Heater | 155 mA – additional Note: Heater will turn on at 0ºF (-17ºC) |
| Output Relays | Fire Alarm: SPDT (NO / NC) – De-Energized/Energized, Latching/Non-Latching Fault: SPST (NO) – Normally Energized, Latching/Non-Latching Auxiliary: SPDT (NO / NC) – De-Energized/Energized, Latching/Non-Latching Contacts rating: 1 amp @ 24 VDC |
| Analog Output | 0 – 20 mA stepped – Source or Sink User Selectable |
| Loop resistance | 50 – 400 Ohms |
| Communication | One of the following – User Selectable:
|
| Visual Indications | Blue LED: Power Red LED: Alarm Yellow LED: Fault |
| Temperature Range | Operating: -40 to +185ºF (-40 to +85ºC) Storage: -67 to +230ºF (-55 to +110ºC) |
| Humidity Range | 5 to 98% relative humidity, non-condensing |
| Vibration | Meets or exceeds MilSpec 810C Method 514.2, Curve AW12 |
| Wiring | 14 AWG (2.5mm2) to 22 AWG (0.326mm2); Shielded Cable Recommended |
| Conduit Entries | Standard: Two ¾” NPT or two M25 |
| Enclosure Materials | Copper-Free Powder Coated Aluminum or 316 Stainless Steel |
| Enclosure Type | NEMA 4 & 4X, IP66 |
| Certifications | FM: Class I, Div. 1 & 2, Groups B, C, & D; Class II, Div. 1 & 2, Groups E, F, & G; Class III ATEX: II 2 G D; Ex d IIC T4 (Ta: -40 to +110ºC), T5 (Ta: -40 to +75ºC), T6 (Ta: -60 to +60ºC) CE: Complies with EN6000-6-4 & EN50130-4 |
| Shipping Weight | Aluminum: 3.6 lbs (1.6 kg) Stainless Steel: 7 lbs (3.2 kg) |
| Mounting | Swivel Bracket Assembly – Optional |
| Mounting | Three years from date of shipping |
Please Note:
While every effort has been made to ensure accuracy in this publication, no responsibility can be accepted for errors or omissions. Data may change, as well as legislation, and you are strongly advised to obtain copies of the most recently issued regulations, standards, and guidelines. This publication is not intended to form the basis of a contract.
Customer business centre
Korea: +82-2-69090300
Singapore: +65-65803776
Australia: +61-3-94642770
Taiwan: +886-3-5169284
China: +86-21-28943293
Technical Services
AP: [email protected]
EMEA: [email protected]
US: [email protected]
www.honeywell.com




















