
SCANDI
Operating Manual
RHMDF1201WDW / WDB / WDG
REGISTER TODAY FOR YOUR FREE ADDITIONAL YEAR GUARANTEE
GUARANTEE
At Russell Hobbs, we take all our customer feedback seriously.
Feel free to contact our Product Care Team, on 0345 209 7461 who will be more than happy to assist you.
This product is guaranteed for 12 months from the date of the original purchase. If any defect arises due to faulty materials or workmanship, the faulty product must be returned to the place of purchase.
Refund or replacement is at the discretion of the retailer.
The following conditions apply:
- The product must be returned to the retailer with the original proof of purchase.
- The product must be installed and used in accordance with the instructions contained in this instruction guide and any other instructions for use that are supplied.
- It must be used for domestic purposes only and for its intended use.
- This guarantee does not cover wear and tear, damage, misuse, or consumable parts.
- This does not affect your statutory rights.
| RUSSELL HOBBS CONTACT DETAILS Website: https://mda.russellhobbs.com Telephone: 0345 209 7461 Address: Product Care, Green Bank Business Park, Hindley Green, Wigan, WN2 4AY | Note your serial number below for future reference. Image for illustration purposes only |
| REGISTER ONLINE Visit our website to register your full parts and labor guarantees online. https://mda.russellhobbs.com | REGISTER BY PHONE Call our friendly Product Care team on the number below. 0345 209 7461 |
IMPORTANT SAFETY INSTRUCTIONS
- It is hazardous for anyone other than a competent person to carry out any service or repair operation that involves the removal of a cover that gives protection against exposure to electrical parts.
- Do not use with a damaged cord or plug. If the supply cord is damaged, it must be replaced by the manufacturer, its service agent or similarly qualified persons in order to avoid a hazard.
- This product is intended for household use only.
- Do not use outdoors.
- This appliance can be used by children aged 8 years and above and persons with reduced physical, sensory or mental capabilities or lack of experience and knowledge if they have been given supervision or instruction concerning use of the appliance in a safe way and understanding the hazards involved.
Children should not play with the appliance. Cleaning and user maintenance should not be made by children without supervision. - Do not operate this appliance for anything other than its intended use.
- Do not immerse the whole unit in water or other liquids for cleaning.
- Unplug from outlet when not in use. Do not leave unattended while plugged in.
- Do not use if it has been dropped, damaged, left outdoors or dropped into water.
- Keep the appliance away from water; do not allow it to get wet. If the unit is wet, do not plug the unit into a wall socket or turn the unit on.
- Do not handle the appliance with wet hands.
- Do not pull or carry by cord, use cord as a handle, close door on cord, pull cord around sharp corners or edges, or expose cord to heated surfaces. Do not unplug by pulling on the cord.
- To protect against electrical shock do not immerse the cord, plug, or appliance in water or other liquid.
- Unplug from the mains outlet when not in use, before putting on and taking off parts, and before cleaning.
- Only use the unit when fully assembled.
- Never place your fingers or other objects into any part of the appliance. Be aware that loose clothing or hair may become trapped in the appliance if improperly used.
- Before use, ensure that all of the air vents of the appliance are clear and there is no restriction of airflow.
- Caution: Appliance may disturb ashes in an open fire. Always avoid directing the appliance toward naked flames.
The ‘wheelie bin’ symbol is known as the ‘Crossed-out wheelie bin Symbol’. When this symbol is marked on a product/battery, it means that the product/batteries should not be disposed of with your general household waste. Only discard electrical/electronic/battery items in separate collection schemes, which cater for the recovery and recycling of materials contained within. Your co-operation is vital to ensure the success of these schemes and for the protection of the environment. For your nearest disposal facility, visit www.recyclemore.co.uk or ask in-store for details. We reserve the right, due to possible changes to the design, to alter the instruction manual without prior notice.

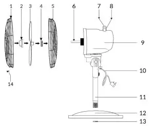
PARTS

| 1. Front Grille 2. Fan Blade Securing Cap 3. Fan Blade 4. Rear Grille Securing Nut 5. Rear Grille 6. Fan Blade Fixing Point 7. Oscillation Switch | 8. Speed Adjustment Dial 9. Motor Housing 10. Power Cord & Plug 11. Stand Pole 12. Fan Base Plate 13. Base Plate Securing Nut 14. Grille Securing Screw |
ASSEMBLY
- Thread the Stand Pole [11] through the Base Plate [12] and secure with the Nut [13]
- Place Rear Grille [5] on Motor Housing [9] aligning with rear posts, and secure with Nut [4]
- Attach Fan Blade [3] onto Fixing Point [6] and secure with Cap [2]
- Clip Front Grille [1] onto Rear Grille [5] using attached clips, and screw in Securing Screw [14]. Screw Hole on the Front Grille should be on the bottom.
SETTINGS

OSCILLATION
Press the switch on the rear of the fan to engage the oscillation feature.

PROBLEM-SOLVING
| The fan doesn’t switch on | • Check the fan is plugged in • Check the socket is switched on • Check another appliance in the socket • Unplug and check for any obvious signs of damage to cord or plug • If recently used, allow to cool for 1 hour then try again |
| The fan is rattling | • Check the grille is secured properly • Check all screws are securely fastened • Check there is nothing in contact with the fan |
| Fan will not oscillate | • Check the oscillation switch is pressed down • Check that nothing is interfering with the fan preventing oscillation |
| Fan is making a grinding sound | • Immediately switch off and contact Customer Services |
| The air is dusty | • Ensure the fan is unplugged and set to 0 • Carefully remove the grille • Carefully remove blades from the fan • Using mild soapy water and a sponge, gently rinse the blades • Allow to dry naturally for 24 hours then refit the blades |
If you are still experiencing difficulties with the appliance please contact us BEFORE returning the appliance to the retailer it was purchased from Website: https://mda.russellhobbs.com
Telephone: 0345 209 7461
Address: Product Care, G2S, Green Bank Business Park,
Hindley Green, Wigan, WN2 4AY3 MONTHS
IMPORTANT!
KEEP BLADES CLEAN
Wash the blades with cold water at least once every 3 months.
The blades may require more frequent washing if in a dusty environment.
This product is guaranteed for 12 months from the date of the original purchase. If any defect arises due to faulty materials or workmanship, the faulty product must be returned to the place of purchase.
By registering your product you will get an additional year guarantee free of charge. Additional cover can be purchased through the website.
NOTES
REGISTER YOUR FREE ADDITIONAL YEAR GUARANTEE TODAY
https://mda.russellhobbs.com
Product Care, G2S Ltd, Green Bank Business Park,
Swan Lane, Hindley Green, Wigan, WN2 4AY

Russell Hobbs is a registered trademark used under license from Spectrum Brands (UK) Ltd. Made under license by G2S Limited, Wigan, WN2 4AY/G2S (NI) Ltd, Belfast, BT5 5AD
Russell Hobbs Support: call 0345 209 7461 or visit https://mda.russellhobbs.com

The ‘wheelie bin’ symbol is known as the ‘Crossed-out wheelie bin Symbol’. When this symbol is marked on a product/battery, it means that the product/batteries should not be disposed of with your general household waste. Only discard electrical/electronic/battery items in separate collection schemes, which cater for the recovery and recycling of materials contained within. Your co-operation is vital to ensure the success of these schemes and for the protection of the environment. For your nearest disposal facility, visit www.recycle-more.co.uk or ask in-store for details.
SEDEX – Connecting businesses and their global suppliers to share ethical data and enabling improvement in ethical performance. Visit www.sedex.org.uk for further information. We reserve the right, due to possible changes to the design, to alter the instruction manual without prior notice.
Image for illustration purposes only
















