
TELESCOPES WITH AZ MOUNT
Operating instructions
AZ MOUNT
WARNING: Never use this device to look directly at the sun or in the direct proximity of the sun. Doing so may result in a risk of blindness.
General Warnings
- Risk of blindness — Never uses this device to look directly at the sun or in the direct proximity of the sun.
Doing so may result in a risk of blindness. - Choking hazard — Children should only use the device under adult supervision. Keep packaging material, like plastic bags and rubber bands, out of the reach of children, as these materials pose a choking hazard.
- Risk of fire — Do not place the device, particularly the lenses, in direct sunlight. The concentration of light could cause a fire.
- Do not disassemble the device. In the event of a defect, please contact your dealer. The dealer will contact the Service Centre and can send the device in to be repaired, if necessary.
- Do not expose the device to high temperatures.
- The device is intended only for private use. Please heed the privacy of other people. Do not use this device to look into apartments, for example.
MANUAL DOWNLOAD:
Visit our website via the following QR Code or web link to find further information on this product or the available translations of these instructions.
MANUAL DOWNLOAD:
http://www.bresser.de/download/NGKids/Telescopes
SERVICE AND WARRANTY:
TELESCOPE GUIDE:
TELESCOPE FAQ:
DOWNLOADS:
ASTRO SOFTWARE:
www.bresser.de/download/AZ/Astro_Software
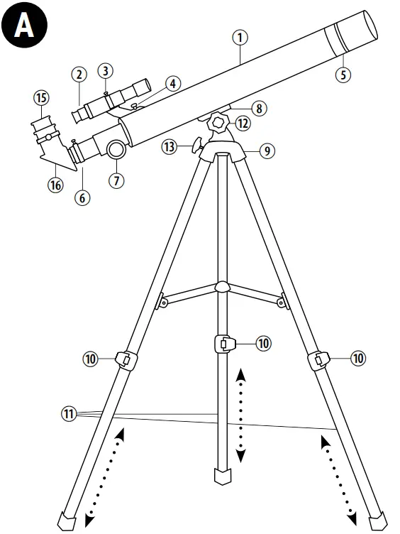
First, check if your telescope is comparable to example A or example B.
Your telescope may also contain features from both examples.
Example A: Refractor telescope with viewfinder

Accessories may vary depending on the model
Parts overview
| 1. Telescope (refractor telescope tube) 2. Viewfinder 3. Adjusting screws for the viewfinder 4. Attaching screws and nuts for the holder of the viewfinder 5. Objective lens 6. Eyepiece holder (eyepiece connector) 7. Focus wheel 8. Telescope connecting piece 9. Tripod head with holder | 10. Locking clips or screw for the tripod legs 11. Tripod legs (extendable) 12. Locking screw for the vertical fine adjustment (upward and downward motion) 13. Locking screw for the vertical axis (for turning to the right and left) 14. Accessory tray (Example B) 15. Eyepiece(s) 16. Zenith mirror 17. Moon filter 18. Erecting lens (Optionally possible: Barlow lens) |

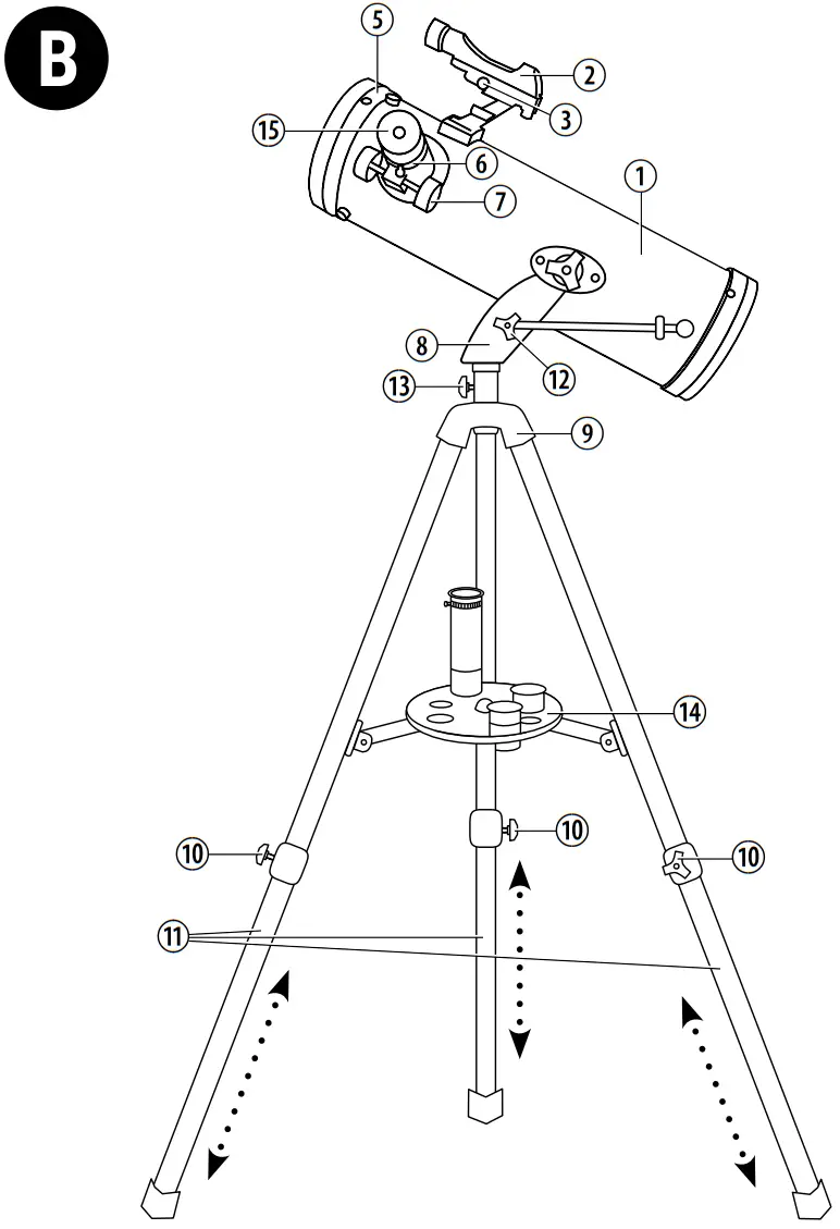
First, check if your telescope is comparable to example A or example B.
Your telescope may also contain features from both examples.
Example B: Reflector telescope with LED viewfinder and vertical fine adjustment

Accessories may vary depending on the model
Parts overview
| 1. Telescope (reflector telescope tube) 2. LED viewfinder 3. Adjusting screws 4. Attaching screws (Example A) 5. Mirror opening 6. Eyepiece holder (eyepiece connector) 7. Focus wheel 8. Telescope connecting piece 9. Tripod head with holder 10. Locking clips or screw for the tripod legs 11. Tripod legs (extendable) | 12. Locking screw for the vertical fine adjustment (upward and downward motion) 13. Locking screw for the vertical axis (for turning to the right and left) 14. Accessory tray 15. Eyepiece(s) 16. Zenith mirror (Example A) 17. Moon filter 18. Erecting lens (Optionally possible: Barlow lens) |
LED viewfinder:

How to assemble the telescope
Before you get started with the assembly, you should take some time to decide where you would like to set up your telescope. It is important that you choose a place from which you have an uninhibited view of the sky, where the floor is hard and even, and where you have enough space around you so that you feel comfortable. When you’ve found the ideal spot, you can begin the assembly.
Example A
Shown is a refractor telescope with a viewfinder on an AZ mount.
Open the locking clips on the tripod legs (10). Then pull the lower parts of the tripod legs (11) downward as far as they will go. Finally, close the locking clips again (Fig. 1). You can change the height of the tripod at a later time by making the tripod legs a bit shorter (again, opening the locking clips, adjusting the legs, closing the clips).


Connect the telescope (1) to the tripod by pushing the telescope connecting piece (8) into the holder on the tripod head (9) (Fig. 2). Screw the locating screw for the vertical fine adjustment (12) into the holder in order to firmly connect both parts.


Viewfinder / LED viewfinder
Depending on the telescope model you have, screw your viewfinder or LED viewfinder to the holder (Fig. 3a) or insert it directly (Fig. 3b). Then affix the viewfinder with screws. Check carefully which step is right for your viewfinder.

How to insert an eyepiece if you use a refractor telescope:
Take the lens cap off the eyepiece (6). You can now place the zenith mirror (16) into the eyepiece holder and secure it with the small screw on the connector (Fig. 4). Next, set the eyepiece (15) into the opening of the zenith mirror (16) (Fig. 4). Here too, there is a screw with which you can screw the eyepiece onto the zenith mirror.
Note: First, put the eyepiece with the largest focal width (e.g. 20 mm) onto the zenith mirror. While you’ll get the least amount of magnification, it will be easier for you to view things.
Example B
A reflecting telescope with an LED viewfinder and vertical fine adjustment on an AZ mount is shown.
Fix the tripod to the tripod head with the help of the wing screw, washers, and wing nuts (Fig. 1).

Attaching the accessory tray
Depending on which tripod is included, the accessory tray must be fitted accordingly. Fig. 2a shows an accessory tray that is fixed with screws. Fig. 2b shows an accessory tray that is mounted by turning clockwise.

Viewfinder / LED viewfinder
Depending on the telescope model you have, screw your viewfinder or LED viewfinder to the holder (Fig. 3a) or insert it directly (Fig. 3b). Then affix the viewfinder with screws. Check carefully which step is right for your viewfinder.

How to insert an eyepiece if you use a reflecting telescope:
Take the lens cap off the eyepiece (6). You can now place the eyepiece (15) into the eyepiece holder and secure it with the small screw on the connector (Fig. 4).
Note: First, put the eyepiece with the largest focal width (e.g. 20 mm) onto the zenith mirror. While you’ll get the least amount of magnification, it will be easier for you to view
things.

Next, screw the vertical fine adjustment to the protruding silver metal supports on the telescope tube. It is best if you let someone help you. Then you need to attach the telescope tube to the tripod. To do so, use the spiral screw to screw the tube to the tripod head (Fig. 5). Attach the locking screw for the vertical fine adjustment to the tripod head yoke (Fig. 6).
Which eyepiece is right?
It is important that you always choose an eyepiece (15) with the highest focal width for the beginning of your observation. Afterward, you can gradually move to eyepieces with smaller focal widths. The focal width is indicated in millimeters and is written on each eyepiece. In general, the following is true: The larger the focal width of an eyepiece, the smaller the magnification. There is a simple formula for calculating the magnification:
The formula for calculating magnification:
Focal length (Telescope) ÷ Focal length (Eyepiece) = Magnification
Examples:
| 600 mm | ÷ | 20 mm | = | 30X |
| 600 mm | ÷ | 12.5 mm | = | 48X |
| 600 mm | ÷ | 4 mm | = | 150X |
Azimuthal mounting
Azimuthal mounting just means that you can move your telescope up and down, left and right, without having to adjust the tripod. With the help of the azimuth safety and the screws for the vertical fine adjustment, you can lock your telescope in order to fix an object (have this object right in your field of vision). With the help of the vertical fine adjustment, you can move the telescope slowly up and down. And after you release the azimuth safety, you can move it right and left.

Before looking through your telescope for the first time
Before you look at something for the first time, you must coordinate the viewfinder and the telescope lens.
You have to position the viewfinder in such a way that you see the same thing through it as you do through the eyepiece of the telescope. This is the only way you can use your viewfinder to hone in roughly on objects before you observe these objects magnified through the telescope eyepiece.

Coordinating the viewfinder and the telescope
Look through the telescope eyepiece (15) and hone in on a faraway object that you can see well (for instance, a tree). Focus on the object with the focus knob in the way shown in Fig. 7a.
Note: The object must be located in the middle of your field of vision when you look through the telescope eyepiece.
Tip: If you loosen the locating screws for the vertical fine adjustment (12) and the vertical axis (13), you will be able to move the telescope (1) to the right and left, up and down. When you have the object well placed in your field of vision, you can retighten the locating screws and fix the position of the telescope. Next, look through the viewfinder (2). You will see the image of the object you honed in on in the crosshairs. The image will be upside down.
Note: The image you see through the viewfinder is upside down because the lenses are inverting it. This is completely normal, and not an error.
If the image you’re looking at through the viewfinder is not exactly in the middle of the crosshair (Fig. 7b), then you must turn the adjusting screws for the viewfinder (3). Turn the screws until the image is positioned in the middle of the crosshair (Fig. 7c). When you look through the eyepiece (14), you should now see the same image detail as you see when you look through the viewfinder (but upside down of course).
Important: The viewfinder and telescope are properly matched only when both image sections are equal.
Use of the moon filter
If the image of the moon is too bright for you, you can screw the green moon filter (17) into the bottom of the thread of the eyepiece (15). Then you can set the eyepiece normally into the zenith mirror (16). The image that you see by looking through the eyepiece is now greenish. The moon appears less bright, so observation is more pleasant.
Notes on cleaning
- Clean the eyepieces and lenses only with a soft, lint-free cloth, like a microfibre cloth. To avoid scratching the lenses, use only gentle pressure with the cleaning cloth.
- To remove more stubborn dirt, moisten the cleaning cloth with an eyeglass-cleaning solution, and wipe the lenses gently.
- Protect the device from dust and moisture. After use, particularly in high humidity, let the device acclimatize for a short period of time so that the residual moisture can dissipate before storing.
Possible observation targets
The following section details several interesting and easy-to-find celestial objects you may want to observe through your telescope. The pictures show what the objects will look like through your telescope’s eyepiece.

The moon is Earth’s only natural satellite. Diameter: 3,476 km / Distance: 384,400 km from Earth (average)
The moon has been known to humans since prehistoric times. It is the second brightest object in the sky, after the sun. Because the moon circles the Earth once per month, the angle between the Earth, the moon, and the sun is constantly changing; one sees this change in the phases of the moon. The time between two consecutive new moon phases is about 29.5 days (709 hours).
Constellation Orion: The Orion Nebula (M 42)
Right Ascension: 05h 35m (hours: minutes) /
Declination: -05° 22′ (Degrees : minutes)
Distance: 1,344 light years from Earth
Though it is more than 1,344 light-years from Earth, the Orion Nebula (M 42) is the brightest diffuse nebula in the sky. It is visible even with the naked eye and a worthwhile object for telescopes of all types and sizes. The nebula consists of a gigantic cloud of hydrogen gas with a diameter of hundreds of light years.
Constellation Lyra: The Ring Nebula (M 57)

Right Ascension: 18h 53m (hours: minutes) /
Declination: +33° 02′ (Degrees : minutes)
Distance: 2,412 light years from Earth
The famous Ring Nebula (M57) in the Lyra constellation is often viewed as the prototype of a planetary nebula. It is one of the magnificent features of the Northern Hemisphere’s summer sky. Recent studies have shown that it is probably comprised of a ring (torus) of brightly shining material that surrounds the central star (only visible with larger telescopes), and not a gas structure in the form of a sphere or an ellipse. If you were to look at the Ring Nebula from the side, it would look like the Dumbbell Nebula (M
27). When viewed from Earth, we are looking directly at the pole of the nebula.
Constellation Vulpecula (Little Fox): The Dumbbell Nebula (M 27)

Right Ascension: 19h 59m (hours: minutes) /
Declination: +22° 43′ (Degrees : minutes)
Distance: 1,360 light years from Earth
The Dumbbell Nebula (M 27) was the first planetary nebula ever discovered. On 12 July 1764, Charles Messier discovered this new and fascinating class of objects. We see this object almost directly from its equatorial plane. If we could see the Dumbbell Nebula from one of its poles, we would probably see the shape of a ring, something very similar to what we know as the Ring Nebula (M 57). In reasonably good weather, we can see this object well, even with low magnification.
Astronomy Software (Download):
www.bresser.de/download/AZ/Astro_Software
Telescope ABC’s
What do the following terms mean?
Focal width:
Everything that magnifies an object via an optic (lens) has a certain focal width. The focal width is the length of the path the light travels from the surface of the lens to its focal point. The focal point is also referred to as the focus. In focus, the image is clear. In the case of a telescope, the focal widths of the telescope tube and the eyepieces are combined.
Lens:
The lens turns the light that falls on it around so that the light gives a clear image in the focal point after it has traveled a certain distance (focal width).
Eyepiece (15):
An eyepiece is a system made for your eye and comprised of one or more lenses. In an eyepiece, the clear image that is generated in the focal point of a lens is captured and magnified even more. There is a simple formula for calculating the magnification: Focal width of the telescope tube / Focal width of the eyepiece = Magnification
In a telescope, the magnification depends on both the focal width of the telescope tube and the focal width of the eyepiece.
From this formula, we see that if you use an eyepiece with a focal width of 20 mm and a telescope tube with a focal width of 600 mm, you will get the following magnification: 600 mm / 20 mm = 30 times magnification

Erecting lens (18):
The erecting lens is set into the eyepiece holder of the telescope before the eyepiece itself. This lens can produce an additional magnification (mostly around 1.5 X) via the integrated lens in the eyepiece. The image will be turned around if you use an erecting lens, but it appears upright and even properly oriented on the vertical axis.

Barlow Lens (18):
As an alternative to the erecting lens, a Barlow lens can also be included. The Barlow lens can be used to increase the focal width of a telescope. Depending on the type of lens, it is possible to double or even triple the focal width.
Magnification:
The magnification corresponds to the difference between observation with the naked eye and observation through a magnification apparatus (e.g. a telescope). In this scheme, observation with the eye is considered ‘single’, or 1 X magnification. Accordingly, if a telescope has a magnification of 30 X, then an object viewed through the telescope will appear 30 times larger than it would with the naked eye. See also ‘Eyepiece’.
Zenith mirror (16):
A mirror that deflects rays of light at a 90-degree angle. With a horizontal telescope tube, this device deflects the light upwards so that you can comfortably observe by looking downwards into the eyepiece. The image in a zenith mirror appears upright, but rotated around its vertical axis (what is left appears right and vice versa).

Disposal
Dispose of the packaging materials properly, according to their types, such as paper or cardboard.
Contact your local waste-disposal service or environmental authority for information on the proper disposal.
EC Declaration of Conformity
If applicable for your product:
Bresser GmbH has issued a “Declaration of Conformity” in accordance with applicable guidelines and corresponding standards. The full text of the EU declaration of conformity is available at the following internet address: www.bresser.de/download
UKCA Declaration of Conformity
If applicable for your product:
Bresser GmbH has issued a „Declaration of Conformity“ in accordance with applicable guidelines and corresponding standards. The full text of the UKCA declaration of conformity is available at the following internet address: www.bresser.de/download
Bresser UK Ltd. • Suite 3G, Eden House, Enterprise Way, Edenbridge, Kent TN8 6Hf, Great Britain
Warranty and Service
The regular guarantee period is 5 years and begins on the day of purchase. You can consult the full guarantee terms and details of our services at www.bresser.de/warranty_terms.
E-Mail: [email protected]
Telephone*: +44 1342 837 098
BRESSER UK Ltd.
Customer Support
Suite 3G, Eden House
Enterprise Way
Edenbridge, Kent TN8 6HF
United Kingdom
* Number charged at local rates in the UK (the amount you will be charged per phone call will depend on the tariff of your phone provider); calls from abroad will involve higher costs.
YOUR PURCHASE HAS A PURPOSE
WHEN YOU SHOP WITH US, YOU HELP FURTHER THE WORK OF OUR SCIENTISTS, EXPLORERS, AND EDUCATORS AROUND THE WORLD.
To learn more, visit natgeo.com/info
© National Geographic Partners LLC. All rights reserved.
NATIONAL GEOGRAPHIC KIDS and Yellow Border Design are trademarks of National Geographic Society, used under license.
Visit our website: kids.nationalgeographic.com
Bresser GmbH
Gutenbergstr. 2
46414 Rhede
Germany
www.bresser.de
[email protected]
Bresser UK Ltd.
Suite 3G, Eden House
Enterprise Way, Edenbridge,
Kent TN8 6Hf, Great Britain
Manual_Telescopes-AZ_de-en-fr-es_NGKIDS_v072020a
Errors and technical changes are reserved.
References
Поддержка - Гарантийное обслуживание Bresser
index · powered by h5ai 0.26.1 (http://larsjung.de/h5ai/)
index · powered by h5ai 0.26.1 (http://larsjung.de/h5ai/)
index · powered by h5ai 0.26.1 (http://larsjung.de/h5ai/)
Bresser | Downloads | Expand Your Horizon
Bresser | FAQ | Expand Your Horizon
bresser.de/garantiebedingungen
Bresser | Ratgeber | Expand Your Horizon
bresser.de/warranty_terms






















