QAZQA 93579 Dory HL 30 Vintage

INSTRUCTIONS

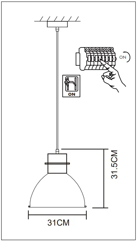
INSTALLATION



FittinQ B.V.
Smaragdweg 52, 5527 LB Hapert, The Netherlands
www.qazga.nl






FittinQ B.V.
Smaragdweg 52, 5527 LB Hapert, The Netherlands
www.qazga.nl
Download manual
Here you can download full pdf version of manual, it may contain additional safety instructions, warranty information, FCC rules, etc.