
PDV156BK
15.6’’ Portable CD/DVD Player
Hi-Res HD Widescreen Display
with Dual Full Range Stereo Speakers

User Guide
IMPORTANT SAFETY INSTRUCTIONS
When using electronic equipment, basic safety precautions should be followed, including the following:
WARNING: To reduce the risk of electric shock, fire or injury to persons:
- Read all instructions before using the unit.
- Use this unit only for its intended use as described in this manual.
- Do not operate this unit if it has a damaged cord or plug, is not working properly, or has been damaged or dropped. If the supply cord is damaged, it must be replaced by the manufacturer or its service agent, or a similarly qualified person in order to avoid a hazard.
- WARNING: Do not allow children to use the unit without supervision.
- WARNING: Liquids and foodstuffs must not be spilled or dropped into the unit.
- WARNING: It is hazardous for anyone other than a trained person to carry out any service or repair operation.
- This unit is not intended for use by persons (including children) with reduced physical, sensory or mental capabilities, or lack of experience and knowledge unless they have been given supervision or instruction concerning the use of the product by a person responsible for their safety.
- Children should be supervised to ensure that they do not play with the unit.
- Never leave the product unsupervised. Switch off the product when it is not in use, even if this is only for a short while.
- The unit must be free-standing. It must not be placed in a cabinet.
- The temperature of accessible surfaces may increase when the unit is operating.
- This unit is not intended to be operated by means of an external timer or separate remote control.
- If smoke is emitted, switch off and unplug the unit immediately.
- Cleaning: Unplug this product from the wall outlet before cleaning. Do not use liquid cleaners or aerosol cleaners. Use a slightly dampened cloth for cleaning and immediately wipe dry.
- Attachments: Use only attachments recommended by the manufacturer. The use of other attachments may be hazardous.
- Water and Moisture: Do not use this product near water (e.g., near a bathtub, washbowl, kitchen sink, laundry tub, in wet basements, or a swimming pool and the like).
- Ventilation: Slots and openings in the cabinet are provided for ventilation to ensure the reliable operation of the product and to protect it from overheating. These openings should never be blocked by placing the product on a bed, sofa, rug, or another similar surface. This product should not be placed in a built-in installation such as a bookcase or rack unless proper ventilation is provided.
- This unit must not be exposed to dripping or splashing and objects filled with liquids, such as vases, must not be placed on the apparatus.
- Replacement Parts: When replacement parts are required, be sure that your service technician has used replacement parts specified by the manufacturer or that have the same characteristics as the original part. Unauthorized substitutions may result in fire, electric shock, or other hazards.
- Safety Check: Upon completion of any service or repairs to this product, ask the service technician to perform safety checks to ensure that the product is in proper operating condition.
- Overloading: Do not overload wall outlets, extension cords, or integral convenience receptacles as this may cause a fire or an electric shock.
- When the AC/DC adapter is used as the disconnect device, the disconnect device must remain readily operable. To completely disconnect the power input, the AC/DC adapter must be completely disconnected from the mains.
Please read through this manual before making connections and operating your unit.
Please retain this manual for future reference.
This unit is small, lightweight, and utilizes the latest state-of-the-art electronics.
It is easy to install, conveniently portable, and may be used at home, on the off, or on holiday.
Features:
- Lightweight, Compact & Portable Stereo Audio
- Hi-Res HD Widescreen Display
- Top-Loading CD/DVD Tray
- Built-in Rechargeable Battery
- Dual Full Range Stereo Speakers
- USB Flash & SD Memory Card Readers
- Versatile Digital Media File Compatibility
- Audio, Image & Video File Support
- Swivel Angle Adjustable Display Screen
- Picture Configuration Settings
- Top Panel Button Control Center
- Convenient Volume Adjustment
- Headphone Jack, 3.5mm
- Multi-Language Support
- Anti-Shock Playback

What’s in the Box:
- CD/DVD Player
- Earphone
- Wireless Remote Control
- Power/Charging Adapter
- Connection (AV) Cable
- Cigarette Lighter Car Charger Cable
California Prop 65 Warning
WARNING: This product contains Cadmium which is known to the state of California to cause cancer birth defects and other reproductive harm. Do not ingest.
For more info go to: www.P65warnings.ca.gov
PRECAUTIONS AND WARNINGS
1. Placement:
- To prevent fire or shock hazards, do not expose this appliance to rain or moisture.
- Do not expose this appliance to direct sunlight.
- Keep this appliance away from strong magnets, heat sources, and excessive dust.
- Do not place this appliance on an unstable surface.
- If the unit is brought directly from a cold place to a warm one, moisture may condense inside the unit and cause a malfunction. If this occurs leave the unit turned on for a few hours until the moisture evaporates.
2. Installation:
Ensure that the portable DVD player is installed according to the instructions and illustrations provided in this manual.
3. Caution:
- Do not drop any objects into the unit through the openings.
- Do not spill or spray liquid of any kind on or in the unit (this may result in a fire or electric shock).
- Do not place anything heavy on the unit.
- To ensure proper ventilation and proper operation, never cover or block the slots and openings with a cloth or other materials.
- Keep the unit away from open flames such as fire, candles, etc.
- Install the batteries correctly as incorrect replacement is hazardous.
- Dispose of batteries in accordance with local regulations.
- The maximum working temperature is 95 degrees Fahrenheit or 35 degrees Celsius.
4. No Disassembling:
Never attempt to disassemble the unit as this is very dangerous and may cause an electric shock and/or harm from exposure to the laser beam. Please refer all servicing and maintenance to an authorized service center.
5. Cleaning unit:
- When cleaning, please make sure the unit is unplugged from the power source.
- Do not use chemicals or detergents when cleaning.
- Use a soft cloth lightly dampened with water to clean the exterior of the unit only and immediately wipe dry.
6. Disc handling:
- Do not leave discs near heat sources, in direct sunlight, or in high humidity.
- Store discs in their cases when they are not being used.
- Stacking discs or standing them at an angle without putting them in the case can cause the disc to warp.
- Do not touch the disc surface when handling a disc; hold it by the edges.
- Fingerprints, dust, dirt, or scratches on the disc can distort the picture or reduce sound quality.
- Always handle carefully and make sure discs are clean before use.
- Do not stick paper or tape onto the disc.
- Do not write on the disc with a marker etc. Clean discs using a soft cloth, lightly wiping from the center outwards.
- Do not use solvents such as benzene, commercially available cleaners not intended for CDs, or anti-static spray intended for vinyl LPs, as these may damage your disc.

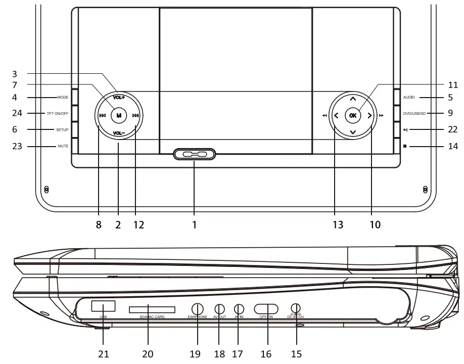
FRONT/REAR PANEL

| 1. OPEN 2. VOL – 3. VOL + 4. MODE 5. LCD MENU(AUDIO) 6. SETUP 7. MENU 8. PREV | 9. DVD/USB/SD 10. FWD 11. OK 12. NEXT 13. REV 14. STOP 15. DC IN 16. POWER ON/OFF | 17. AV IN 18. AV OUT 19. EARPHONE SOCKET 20. SD/MMC CARD SLOT 21. USB PORT 22. PLAY 23. MUTE 24. DISPLAY ON/OFF |

REMOTE CONTROL

PANEL KEYS
Common key functions on the panel
Menu: Press to return to the root menu for DVD.
Stop: Press to suspend the current broadcast.
Play/Pause: Press once to pause play, and press again to resume.
Setup: Press to enter the setup menu, then use the direction keys and OK to set the system menu.
USB/CARD: Press repeatedly to switch input source: Disc/ SD card/USB mode
Direction Keys: Use direction keys for Previous/Next/Fast forward/ Fast rewind
OK: Press to enter the selected item or choice.
Open: Press to open the door.
Battery Installation and replacement
- Unscrew the battery cover and remove it.
- Properly dispose of exhausted batteries.
- Insert 2 new AAA batteries.
- Be sure the positive(+) and negative (-) ends of the batteries are facing the correct direction.
- Replace the battery cover.
- Do not mix old and new batteries.
- Do not mix alkaline, standard (carbon-zinc), or rechargeable (nickel-cadmium) batteries.

KEY FUNCTIONS
Note:
Some of the following buttons are only on the remote, some are only on the unit and some are on both the unit and the remote.
| Switch ON/OFF the unit | |
| Press repeatedly to switch between Disc, SD card, USB source input. | |
| Press to enter/exit the setup menu. | |
| The digit keys can be used to input numbers or to select a track or chapter number. | |
| Press to enter an item in the menu or to confirm and execute a selection. | |
| The direction keys can be used to move the highlight in the menu. | |
| Press button to switch to DVD or AV INPUT. | |
| Press to switch repeat modes. (Note: This function is invalid when the PBC function is activated.) | |
![]() | Use to repeat specific sections of a disc. Press this button to mark the starting point (A) and press it again to mark the ending point (B) and the unit will play the selected section over and over again. Press a third time to cancel A-B repeat and resume normal playback. (Note: Points A and B must be in the same title/track). |
![]() | Skip to the previous chapter/track. |
![]() | Skip to the next chapter/track. |
![]() | Press to start playback or resume normal playback from fast forward, fast reverse, slow-motion, frame-by-frame playback, etc. |
![]() | Press to temporarily pause playback; press again or press to resume the playback. |
![]() | Press once to pause playback, then press to continue the playback. Press twice to stop playback and the disc will reset to the starting point. |
![]() | Fast forward playback. Available speeds: 2x, 4x, 8x, 16x, 32x, and normal speed. |
| Fast reverse playback. Available speeds: 2x, 4x, 8x,16x, 32x, and normal speed. | |
| Press to enter the TIME menu. Use the digit keys to select a title, chapter, track, track time or disc time to play. Press again to exit the TIME menu. | |
![]() | Press this button to temporarily switch off the sound. Press it again to switch it on. |
| Press VOLUME+ to turn up the volume. Press VOLUME- to turn down the volume. | |
![]() | Press repeatedly to select the available audio languages provided by the disc (for DVD). Press repeatedly to switch the available audio channels provided by the disc (for VCD) |
| Press to return to the main menu when playing the DVD. | |
| Press repeatedly to switch/show the subtitles or turn off the subtitle function. (Note: this function only works if the disc is encoded with subtitles.) | |
| Press repeatedly to switch or hide the relative information of the playing disc. | |
| Press this button to zoom in the scene. The available zoom ratios are 2x, 3x, and 4x. In zoomed-in mode, the direction keys can be used to move the zooming center (Note: Applies to DVD, VCD, MPEG4, etc). | |
| Press “REV” to search backward, and” FWD” to search forward. |
GENERAL SETUP
CHARGING THE UNIT
This player is powered by a lithium-polymer battery. It features a high ratio of energy to weight. It has no memory effect and it can be recharged at any time regardless of whether it is fully or partially discharged. It takes about six hours to fully charge the battery and a fully charged battery can be used for up to two hours. Connect the attached AC/DC adaptor to the DC INPUT jack on the unit, then plug the adaptor into a 240V AC outlet.
Note: Make sure to switch off the unit before charging. The charging indicator LED will change from RED to GREEN to indicate that the battery has been fully charged.
Usage and Maintenance of the rechargeable battery.
- The working temperature of the rechargeable battery ranges from 0°C (32°F) to 45°C (113°F)
- Always unplug the unit when it is not being used unless it is being charged.
- Heat is inevitably produced during playback, this is normal. However, switch off and allow it to cool down.
- Avoid banging the battery and keep it away from heat and moisture.
CONNECTING TO THE TV
- This unit can be connected to a TV in order to enjoy high-quality music, movies etc with a TV.
- Use an AV cable to connect the AV OUT jack on the unit to the AV IN jack of a TV.
- The DVD player has sound and video input jacks for connecting external audio and video inputs.
Menu Operation
- Press [SETUP] on the remote control or on the unit to show the setup menu.
- Press [LEFT] / [RIGHT] to select an item. The submenu of the selected item will be instantly shown.
- Press [UP] / [DOWN] to select an item in the submenu, then press [OK] / [ENTER] / [RIGHT] to enter.
Use [UP] / [DOWN] to select an option, then press [OK] / [ENTER] to conrm or press [LEFT] to cancel. - Press [UP] / [DOWN] to continue to set other items in the submenu.
- Press [LEFT] to go back to the superior menu of the current one.
- Press [SETUP] again and press [ENTER] / [OK] to exit the setup menu.
1. GENERAL SETUP PAGE
There are six items in the GENERAL SETUP PAGE. They are TV DISPLAY, ANGLE MARK, OSD LANGUAGE, CAPTIONS, SCREEN, SAVER, and LAST MEMORY.
1.1 TV DISPLAY
4:3 PANSCAN
If the unit is connected to a conventional TV set, a wide-screen image will be displayed on the screen in its native aspect ratio with some parts on the left and right cut off.
4:3 LETTERBOX
If the unit is connected to a conventional TV set, a wide-screen image will be displayed in its native aspect ratio with black borders on the top and on the bottom.
16:9 WIDE: Select this option if the unit is connected to a wide-screen TV set. A wide-screen image will be displayed in full screen in its native aspect ratio while the 4:3 image will be stretched out horizontally to fit the screen.
1.2 ANGLE MARK: Set this item to ON. When a disc encoded with multiple camera angles is playing, the angle mark will display on the screen. View di event video camera angles by pressing [ANGLE] on the remote control. Set this item to OFF to disable this function.
NOTE: This function only works if the disc is encoded with multiple camera angles.
1.3 OSD (on-screen display) language: Set the on-screen display language in this item.
1.4 CAPTIONS: Set this item to ON to show closed captions on a disc that has been encoded with closed captions. Set this item to OFF to hide. You can also press [SUBTITLE] on the remote control to show or hide the closed captions.
NOTE: This function only works if the disc is encoded with closed captions.
1.5 SCREEN SAVER
ON: If the image remains motionless on the screen, for example, the disc is paused, stopped, etc. for several minutes, a screen saver will appear on the screen. Press any key or button to wake it up.
OFF: Disable the screen saver function.
1.6 LAST MEMORY
ON: Each time you turn OFF the unit or stop the disc, it will memorize the last playtime.
Next time you turn on the unit and play the same disc, the unit will play from that memorized point.
OFF: Disable the last memory function.
2. AUDIO SETUP PAGE
2.1 SPEAKER SETUP
2.1.1 DOWNMIX
LT/RT: The 5.1-channel audio is mixed into the left channel and right channel and is output via the FL and FR speaker respectively.
STEREO: The 5.1-channel audio is mixed into a stereo signal and is output via the FL and FR speaker.
NOTE: This function only applies to Dolby AC-3 encoded 5.1-channel discs.
3. VIDEO SETUP PAGE: This menu is used to set up the picture quality of the unit.
3.1 QUALITY: Adjust items according to your personal preference.
3.1.1 SHARPNESS: There are three options (HIGH, MEDIUM, and LOW) for you to choose from in this item.
3.1.2 BRIGHTNESS, CONTRAST, GAMMA, HUE, SATURATION, LUMA DELAY Enter an item and use the direction keys [LEFT] / [RIGHT] to adjust the value, then press [ENTER] to confirm.
SYSTEM SETUP
4. PREFERENCE SETUP
If there is no disc in the disc tray, the disc tray is open or the disc in the disc tray is stopped, this item is available.
4.1 PBC (Play Back Control)
ON: Activate the PBC function. When playing a disc encoded with PBC functions such as VCD 210, SVCD, etc, press [MENU] to return to the PBC menu.
OFF: Disable the PBC function.
NOTE: This function only works with those discs encoded with the PBC functions such as VCD 2.0, SVCD, etc.
DVD, VCDI 1, CD-DA, and MP3 discs have no PBC menu.
4.2 AUDIO, SUBTITLE, and DISC MENU
Select a preferred audio language, subtitle language, and disc menu language in these items. You can also change the audio language by pressing [AUDIO] and the subtitle language by pressing [SUBTITLE] on the remote control.
NOTE: If the selected languages in these items are not available for the currently playing disc, the disc will be played in the default settings.
4.3 PARENTAL
This item allows the user to set a maximum rating for the movies that can be viewed. Movies rated higher than the level set for the parental lock cannot be viewed without inputting the correct password. To reset the level, the correct password must be entered. The default password is 136900.
NOTE: This function only works for discs that have parental control functions.
4.4 DEFAULT
Press to restore the default settings except for the settings in the PASSWORD setup page and the PARENTAL item.
5. PASSWORD SETUP PAGE
5.1 PASSWORD MODE: Switch password function ON/OFF.
NOTE: Key in the correct password and press [ENTER] before you change the option in this item. The default password is 136900.
5.2 PASSWORD: Reset the password.
NOTE: The default password (136900) is always active even if the password has been reset.
PLAYBACK
After all the connections are correctly made, switch on the unit.
Loading and Playing a Disc
A. After connecting power to the unit, set the power switch to the ON position.
B. Push [OPEN] to open the disc tray. Place a disc in it with the label side facing up.
C. Close the disc tray. The unit will load the disc and start playing.
MP3/MPEG4 Disc Playback
After the unit loads an MP3/MPEG4 disc, a menu showing the contents of the disc will display on the screen.
- Press the direction key [UP] / [DOWN] to select a file or a folder.
- 1. Press [OK] to enter the selected folder. The file or the folder in it will be listed instantly.
- 2. Press [OK] to begin to play the selected file.
- When the disc is stopped press [LEFT] to return to the superior menu.
Kodak Picture CD Playback
- Place a Kodak picture CD in the disc tray and the unit will load the disc automatically.
- Press [B] to display the menu showing the contents of the disc.
In the menu, use the direction keys [UP] / [DOWN] to select a picture, then press [ENTER] / [
] to start the playback from the selected picture.
[GOTO]: Press this button, then use the digit keys to select a picture, and playback from the selected picture begins.
[
]: Press to pause the playback; press it again to resume the playback.
[
]: Press to begin playback or resume playback.
[REPEAT]: Press repeatedly to switch the repeat modes (Single—Repeat One—Repeat Folder—Folder —Cancel repeat).
[
][
]: Press to skip to the previous/next picture during playback.
[Left] / [Right](on the remote control): Press to rotate the picture counter-clockwise/clockwise during playback.
[ZOOM]: During playback, press [ZOOM] repeatedly to zoom in/out of the picture or to return to the original size. When the picture is zoomed in, the direction keys can be used to move the picture.
USB & SD/MMC CARD PLAYBACK
Insert a USB or a card reader into the USB port. Press [SOURCE SELECT] to select USB mode to play the readable files in it. Insert an SD/MMC card into the SD/MMC card port. Press [SOURCE SELECT] to select MCR mode to play the readable files in it.
WARRANTY EXCLUSIONS
The warranty will not be valid if:
- The product has not been installed, operated or maintained in accordance with the manufacturer’s operating instructions provided with the product.
- The product has been used for purposes other than its intended function.
- The product has been used for purposes other than household use.
- The damage or malfunction of the product is caused by any of the following conditions:
• Incorrect voltage
• Accidents (including liquid or moisture damage)
• Misuse or abuse of the product
• Faulty or improper installation
• Mains supply problems including power spikes or lightning damage
• Infestation by insects
• Tampering or modification of the product by persons other than authorized service personnel
• Exposure to abnormally corrosive materials
• Insertion of foreign objects into the unit
• Used with accessories not pre-approved
Please refer to and heed all warnings and precautions in the User Manual.
SPECIFICATIONS
- Display Type: 15.6’’ LCD
- Screen Resolution: 1366 x 768 Pixels
- Aspect Ratio: 16:9/4:3
- Monitor Rotation: 270 Degree Left/Right
- Battery: Li-Polymer, 7.4V 2400mAh
- Battery Life: up to 2 hours
- Charging Time: 4.5 hours
- Frequency Response: 20-20kHz
- Dynamic Range: >85dB
- T.H.D.: <1.0%
- CD/DVD Compatibility Type: MPEG4, VCD, CD-RW, DVD-R
- Digital Media File Support: MP3, WMA, JPG, VCD, EVD, VOB
- Maximum USB/SD Flash Memory Support: Up to 32GB
- Battery Operated Remote, Requires (2) x ‘AAA’, excluded.
- Power: 100/240V (12V DC Power Adapter)
- Open Dimensions (L x W x H): 15.2’’ x 9.8’’ x 11.0’’ -inches
- Closed Dimensions (L x W x H): 15.2’’ x 9.8’’ x 1.9’’ -inches
TROUBLESHOOTING
Before resorting to maintenance service, please check the following chart.
| Symptom | Solution |
| No sound or distorted sound | Make sure your DVD is connected properly and all cables are securely inserted into the appropriate jack. |
| Cannot advance through a movie | You can not advance through the opening credits and warning information that appears at the beginning of movies because the disc is programmed to prohibit that action. |
| The | The feature or action cannot be completed at this time because: 1. The disc software restricts it 2. The disc software does not support the feature 3. The feature is not available at the moment |
| Picture is distorted | The disc might be damaged. Try another disc. It is normal for some distortion to appear during forwarding or reverse scans. |
| No forward or reverse scan | Some discs have a section that prohibits rapid scanning or title and chapter skip. The movie is often programmed to prohibit skipping through the warning information and the credits at the beginning of a movie. |
| The player breaks down when a USB or memory card is inserted into the player | The connected U drive or the memory card is probably not an original version. The player cannot play a U drive or memory card of a non-original version. If the player breaks down, turn it o and unplug it from the power supply. Reconnect it to the power supply and switch it on again. The player will resume normal status. |


Questions? Issues?
We are here to help!
Phone: (1) 718-535-1800
Email: [email protected]




























