Instruction Manual
Stand mixer multifunctions
https://www.hkoenig.com/s/43998_327882_robot-patissier-metal
Safety Instructions
When using electrical appliances, basic safety precautions should always be followed including the following:
- To protect against the risk of electrical shock do not put the stand mixer and power supply cord in water or other liquid. If the supply cord is damaged, it must be replaced by the manufacturer, its service agent or similarly qualified persons in order to avoid a hazard.
- Close supervision is necessary when any appliance is used by or near children.
- This appliance shall not be used by children. Keep the appliance and its cord out of reach of children.
- Always disconnect the appliance from the supply if it is left unattended and before assembling, disassembling or cleaning. – Switch off the appliance and disconnect from supply before changing accessories or approaching parts that move in use.
- Care shall be taken when handling the sharp cutting blades, emptying the bowl, and cleaning.
- This appliance may be used by persons with reduced physical, sensory or mental capabilities or lack of experience or knowledge, provided that they are supervised or instructed in the safe use of the appliance and that they fully understand the potential hazards.
- Unplug from outlet when not in use, before putting on or taking off parts, and before cleaning.
- Avoid contacting moving parts. Keep hands, hair, clothing, as well as spatulas and other utensils away from beaters during operation to reduce the risk of injury to persons, and/or damage to the mixer.
- Do not operate any appliance with a damaged cord or plug or after the appliance malfunctions, or is dropped or damaged in any manner. Return appliance to the nearest authorized service facility for examination, repair or electrical or mechanical adjustment.
- The use of attachments not recommended or sold by the manufacturer may cause fire, electric shock, or injury.
- Do not use outdoors. This product is for household use only.
- Do not let the cord hang over the edge of the table or counter.
- Remove beaters from the mixer before washing.
- This appliance may be used by children of at least 8 years of age, as long as they are supervised and have been given instructions about using the appliance safely, and are fully aware of the dangers involved.
- Cleaning and maintenance should not be carried out by children unless they are at least 8 years of age and are supervised by an adult. – Keep the appliance and its power cord out of reach of children under 8 years of age.
- When using electrical equipment, safety precautions must always be taken to prevent the risk of fire, electric shock, and/or injury in the event of misuse.
- Make sure that the voltage rating on the type plate corresponds to the main voltage of your installation. If this is not the case, contact the dealer and do not connect the unit.
- Keep this manual for future reference and pass it on with the equipment to any future users.
- The machine is only used for household and indoor.
- Your appliance has been designed for domestic use only. It is not intended for use in the following situations which are not covered by the warranty:
- in staff kitchen areas in shops, offices, and other professional environments,
- in farm hostels,
- by guests in hotels, motels, and other residential environments,
- in bed and breakfast type environments.
GROUNDING INSTRUCTIONS
This appliance must be grounded while in use to protect the operator from electrical shock. The appliance is equipped with a 3-conductor cord and a 3-prong grounding-type plug to fit the proper grounding-type receptacle.
EXTENSION CORDS
Use only 3-wire extension cords which have 3-prong grounding-type plugs and 3-pole cord connectors that accept the plug from the appliance. Use only extension cords having an electrical rating not less than the rating of the appliance. Do not use damaged extension cords. Examine the extension cord before using and replace if damaged. Do not abuse the extension cord and do not yank on any cord to disconnect. Keep the cord away from heat and sharp edges.
Overview of the Components
Main Components and Standard Accessories:
| 1 | Driver shaft | 9 | Support |
| 2 | Screw | 10 | Mixing bowl |
| 3 | Front cover | 11 | Splash Cover |
| 4 | Drive arm | 12 | Funnel |
| 5 | Power cord | 13a | Hook |
| 6 | Operation and Level regulator | 13b | Beater |
| 7 | Level for raising and Lowering arm | 13c | Whisk |
| 8 | Power Switch&LED |
3. Technical data
Model: KM126
Rated voltage: 220-240V~, 50/60Hz
Power consumption: 800W
Protection class: I
This device has been tested according to all relevant current CE guidelines, such as electromagnetic compatibility and low voltage directives, and has been constructed in accordance with the latest safety regulations. Subject to technical changes without prior notice!
Operating the appliance
Speed regulator Timing display
- Power plug connected to the power supply and press the power switch (8), the speed show “0″ and the time show “00:00″.
- When the speed show “0”,if the consumer forgets to turn off the power switch, 5 minutes the LED will not display and the machine return to standby mode automatically.
- Turn the knob CW one time, the speed rises 1(0-8), opposite turn the knob CCW one time ,the speed falls 1 (8-0).
Countdown Function:
The count-down timer is for any recipe that specifies the length of time ingredients should be mixed.
- To set the count-down time, rotate the knob anticlockwise for 3 seconds.
- Preset time is 2 minutes as 02:00 displayed on the LED screen.
- Rotate the knob clockwise once, time increases by 10 seconds, that is 2 minutes plus 10 seconds. Rotate the knob anticlockwise once, time decreases 10 seconds, that is 1 minute plus 50 seconds.
- Rotate the knob anticlockwise for 3 seconds, the timer is fixed and the countdown is well set.
- Rotate the knob clockwise to select the speed and the machine will start to work. It will automatically turn off when the timer has finished counting down.

4. Using the Mixing Bowl
- Place the mixing bowl into its holding device and turn the dish in the direction of LOCK until it locks into place.(picture 1)

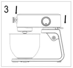
- In order to lift the drive arm, press the lever (7) downwards in the direction of the arrow. The drive arm will now move upwards.(picture 2)

- Mount the required utensil by inserting the top into the driveshaft and locking the cotter pin in the shaft by turning to the right.(picture 4)

- Now fill in your ingredients. Do not overfill the machine – the maximum quantity of ingredients is 1.5 kg.

- Lower the arm using the lever (7).(picture 3)
- Insert the mains plug into a properly installed 220-240V~, 50/60Hz safety power socket.
- Turn the machine using the speed regulator(6) to a speed between 1 and 8 (corresponding to the mixture).
Adjusting the Levels and Using the Hook for not more than 1.5kg of Mixture
| Levels | Use | Type of Mixture |
| 1-3 | Hook | Heavy mixtures(e.g. bread or short pastry) Medium-heavy mixtures(e.g. crepes or sponge |
| 1-8 | hook, beater Whisk | mixture) Light mixtures (e.g. cream, egg white, blancmange) |
NOTE:
Short operation time: With heavy mixtures, do not operate the machine for more than 10 min, and then allow it to cool down for a further 10 min.
Use the splash guard to protect against liquid mixtures.
• Mixing the egg with a whisk need 3min
8. After kneading/stirring turn the switch (6) back to the “0” position as soon as the mixture has formed a ball. Then remove the mains plug.
9. Press the lever (7) downwards and the arm will be raised.
10. The mixture can now be released with the help of a spatula and removed from the mixing bowl.
11. The mixing bowl can now be removed by turning to the left.
12. Clean the parts as described under “Cleaning” .
Suggested Recipes
Sponge Mixture (Basic Recipe), Level 3-4
Ingredients:
250grams soft butter or margarine, 250grams sugar, 1 packet vanilla sugar or 1 bag Citro-Back, 1 pinch of salt, 4 eggs, 500grams wheat flour, 1 packet baking powder, approx. 1/8 liter milk.
Preparation:
Transfer the wheat flour and the remaining ingredients to the mixing bowl, stir with the stirrer for 30 seconds on level 1, then for approximately 3 minutes on level 3. Grease a tin or cover with baking paper. Fill in the mixture and bake. Before the cake is removed from the oven, test to see if it is done. With a sharp wooden stick pierce the center of the cake. If no mixture sticks to it, the cake is cooked. Turn the cake onto a cake grid and allow to cool.
Traditional Oven
Insertion height: 2
Heating: electric oven, top and bottom heat 175-200° Celsius; gas oven: level 2-3
Baking time: 50-60 minutes
Depending on taste, this recipe can be changed, for example with 100g raisins or 100g nuts or 100g grated chocolate. In fact, the possibilities are endless.
Linseed Bread Rolls, Level 1-2
Ingredients:
500-550g wheat flour, 50g linseed, 3/8 litre water, 1 cube of yeast (40g), 100g low-fat curds, well-drained, 1 tsp salt. For coating: 2 tbsp of water.
Preparation:
Soak the linseed in 1/8 litre of lukewarm water. Transfer the remaining lukewarm water (1/4 litre) into the mixing bowl, crumble in the yeast, add the curds and mix with the kneading hook on level 2. The yeast must be completely dissolved. Put the flour with the soaked linseed and the salt into the mixing bowl. Knead thoroughly on level 1, then switch to level 2 and continue kneading for 3-5 minutes. Cover the mixture and allow to rise in a warm place for 45-60 minutes. Knead thoroughly once more, remove from the bowl and form sixteen rolls. Cover the baking tin with wet baking paper. Place the rolls on this and allow to rise for 15 minutes. Coat with lukewarm water and bake.
Note: The above formula do not operate the machine for more than 10 min and then allows it to cool down for a further 10 min.
Traditional Oven:
Insertion height: 2
Heating: electric oven: top and bottom heat 200-220°C (preheated for 5 minutes), gas oven level 23 Baking time: 30-40 minutes
Chocolate Cream, Level 5-6
Ingredients:
200ml sweet cream, 150g semi-bitter chocolate coating, 3 eggs, 50-60g sugar, 1 pinch of salt, 1 packet of vanilla sugar, 1 tablespoon cognac or rum, and chocolate flakes.
Preparation:
Beat the cream in the mixing bowl with the whisk until stiff. Remove from the bowl and place somewhere to cool. Melt the chocolate coating in accordance with the instructions on the packet or in the microwave at 200W for 3 min. In the meantime, beat the eggs, sugar, vanilla sugar, cognac or rum and salt in the mixing bowl with the whisk on level 3 to form a foam. Add the melted chocolate and stir in evenly on level 5-6. Leave a little of the cream for decoration. Add the remaining cream to the creamy mixture and stir in briefl y using the pulse function. Decorate the chocolate cream and serve well cooled.
Warning
- Before cleaning remove the mains lead from the socket.
- When leaving the machine at work, please cut off the power of the machine.
- Never immerse the housing with the motor in the water!
- Do not use any sharp or abrasive detergents.
Cleaning
- Before cleaning remove the mains lead from the socket.
- Never immerse the housing with the motor in the water!
- Do not use any sharp or abrasive detergents.
- After the operation, all the accessories should be cleaned as soon as possible in order to avoid the ingredients sticking to the accessories for a long time and difficult to clean.
- The bowl, dough hook, beater, whisk, pasta maker should be put into water and cleaned with a dishcloth or brush (Sometimes can dip in water for 10 minutes first, it will be easier to clean)
- The meat grinder and salad maker should be flushed against the tap and use a brush wash (especially the food tray and blade of meat grinder accessories and the cutter of the salad maker)
- Be careful your hand get hurt when cleaning。
Motor Housing - Only a damp rinsing cloth should be used to clean the outside of the housing.
Mixing Bowl, Mixing Equipment
CAUTION:
- The components are not suitable for cleaning in a dishwasher. If exposed to heat or caustic cleaners they might become misshapen or discolored
- Components that have come into contact with food can be cleaned in soapy water.
WARNING:
Danger of injury!
- Allow the parts to dry thoroughly before reassembling the device.
- Please apply a small quantity of vegetable oil likely to the screens after they have dried.
ENVIRONMENT
CAUTION:
Do not dispose of this product as it has with other household products. There is a separation of this waste product into communities, you will need to inform your local authorities about the places where you can return this product. In fact, electrical and electronic products contain hazardous substances that have harmful effects on the environment or human health and should be recycled. The symbol here indicates that electrical and electronic equipment should be chosen carefully, a wheeled waste container is marked with a cross.
Adeva SAS / H.Koenig Europe – 8 rue Marc Seguin, 77290 Mitry-Mory, France
www.hkoenig.com – https://en.hkoenig.com – Tél: +33 1 64 67 00 05 ![]()























