Champion Power Equipment CPEWIFI01 WiFi Module
INTRODUCTION
DESCRIPTION
VTX-WBM-N12 is a complete WiFi/BT and MCU module which is designed for embedded wireless solution and a cost-effective, low power capabilities high performance MCU in IOT applications.
The module integrates ARM CortexTM-M4 MCU with FPU, clock, WiFi/BT and front end. It is based on Cypress IEEE802.11 b/g/n single-stream. Thus, it can be used to enable wireless connectivity to the simplest existing sensor product with minimal engineering effort.
FEATURES
The module comprises the following functions
- MCU
STM32 ARM 32-bit CortexTM-M4 Frequency up to 100MHz - Memory capacity
1 Mbyte of MCU internal Flash,
256KB of SRAM,
2Mbyte of SPI Flash - Diverse serial interface
SPI, Quad SPI (support Dual mode), USART, PCM - Sensor applications support
ADC, I2C, I2S, GPIO, Timers - Debug interface support
JTAG - On-chip functionality Single-chip
MAC/BB/RF - Frequency Band
2.4 GHz - Network Standard
802.11b, 802.11g, 802.11n (single stream)
Bluetooth 2.1 + EDR, Bluetooth 3.0, Bluetooth 4.1 (Bluetooth low energy - Modulation Modes
WiFi: CCK and OFDM with BPSK, QPSK, 16QAM, 64QAM, 256QAM
BT: Dual-mode classic Bluetooth and Classic Low Energy operation - Hardware Encyption
WEP, WPA/WPA2 - Supported Data Rates
IEEE 802.11b 1 – 11 Mbps
IEEE 802.11g 6 – 54 Mbps
IEEE802.11n (2.4 GHz) 7.2 – 150 Mbps - Advanced 1×1 802.11n features
Full/Half Guard Interval - Support BT COEX
Fram Aggregation - BRCM WICED Fully compatible
Space Time Block coding (STBC) - Operating Temperature
Low Density Parity Check (LDPC) Encodin
-40℃ to 85℃
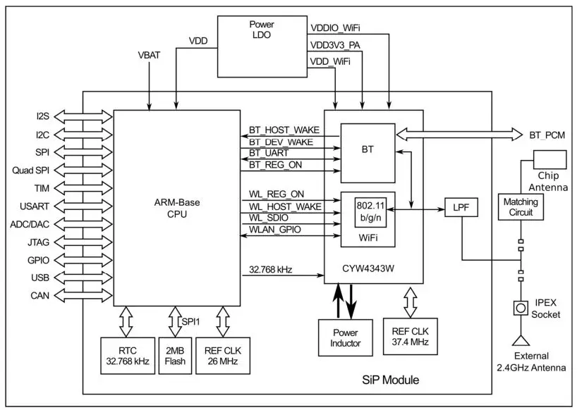
BLOCK DIAGRAM 
- ADC
Analog to Digital Converter - DAC
Digital to Analog Converter - I2C
Intelligent Interface Controller - SPI
Serial Peripheral Interface - Quad SPI
Quad Serial Peripheral Interface - USART
Universal synchronous/asynchronous receiver transmitters - TIM
Timers - I2S
Inter-integrated sound - CAN
Controller area network
MODULE DESCRIPTION
MODULE APPEARANCE
COMPONENT DESCRIPTION
- J1
External antenna socket - ANT1
Onboard chip antenna - R3
Jump for external antenna using - R4
Jump for chip antenna using
DIMENSION
ADDITION INFORMATION
I2C INTERFACE
Characteristics
| Symbol | Parameter | Standard mode(1) | Fast mode(1)(2) | Unit | ||
| Min | Max | Min | Max | |||
| tw(SCLL) | SCL clock low time | 4.7 | – | 1.3 | – | ms |
| tw(SCLH) | SCL clock high time | 4.0 | – | 0.6 | – | |
| tsu(SDA) | SDA setup time | 250 | – | 100 | – |
ns |
| th(SDA) | SDA data hold time | 0 | 3450(3) | 0 | 900(4) | |
| tr(SDA) tr(SDL) | SDA and SCL rise time | – | 1000 | – | 300 | |
| tf(SDA) tf(SDL) | SDA and SCL fall time | – | 300 | – | 300 | |
| th(STA) | Start condition hold time | 4.0 | – | 0.6 | – | ms |
| tsu(STA) | Repeated Start condition setup time | 4.7 | – | 0.6 | – | |
| tsu(STO) | Stop condition setup time | 4.0 | – | 0.6 | – | ms |
| tw(STO:STA) | Stop to Start condition time (bus free) | 4.7 | – | 1.3 | – | ms |
| tSP | Pulse width of the spikes that are suppressed by the analog filter for standard fast mode | 0 | 50(5) | 0 | 50(5) | ms |
| Cb | Capacitive load for each bus line | – | 400 | – | 400 | pF |
- Guaranteed by design, not tested in production.
- fPCLK1 must be at least 2MHz to achieve standard mode I2C frequencies. It must be at least 4MHz to achieve fast mode I2C frequencies, and a multiple of 10MHz to reach the 400kHz maximum I2C fast mode clock.
- The device must internally provide a hold time of at least 300ns for the SDA signal in order to bridge the undefined region of the falling edge of SCL
- The maximum data hold time has only to be met if the interface does not stretch the low period of SCL signal.
WARNING
Changes or modifications to this unit not expressly approved by the party responsible for compliance could void the user authority to operate the equipment.
- To comply with FCC RF exposure compliance requirements, a separation distance of at least 20 cm must be maintained between the antenna of this device and all persons. (Pour se conformer aux exigences de conformité d’exposition RF de la FCC, une distance de séparation d’au moins 20 cm doit être maintenue entre l’antenne de cet appareil et toutes les personnes.)
- This Transmitter must not be co-located or operating in conjunction with any other antenna or transmitter.
This device is intended only for OEM integrators under the following conditions:
- The antenna must be installed such that 20 cm is maintained between the antenna and users. For laptop installations, the antenna must be installed to ensure that the proper spacing is maintained in the event the users places the device in their lap during use (i.e. positioning of antennas must be placed in the upper portion of the LCD panel only to ensure 20 cm will be maintained if the user places the device in their lap for use) and
- The transmitter module may not be co-located with any other transmitter or antenna. As long as the 2 conditions above are met, further transmitter testing will not be required. However, the OEM integrator is still responsible for testing their end-product for any additional compliance requirements required with this module installed (for example, digital device emissions, PC peripheral requirements, etc.).
IMPORTANT NOTE: In the event that these conditions can not be met (for example certain laptop configurations or co-location with another transmitter), then the FCC authorization is no longer considered valid and the FCC ID can not be used on the final product. In these circumstances, the OEM integrator will be responsible for re-evaluating the end product (including the transmitter) and obtaining a separate FCC authorization.
End Product Labeling
This transmitter module is authorized only for use in devices where the antenna may be installed such that 20 cm may be maintained between the antenna and users (for example access points, routers, wireless ASDL modems, certain laptop configurations, and similar equipment). The final end product must be labeled in a visible area with the following: “Contains TX FCC ID: YA3-CPEWIFI01, IC:10186A-CPEWIFI01”.
RF Exposure Manual Information That Must be Included
The users manual for end users must include the following information in a prominent location “IMPORTANT NOTE: To comply with FCC RF exposure compliance requirements, the antenna used for this transmitter must be installed to provide a separation distance of at least 20 cm from all persons and must not be co-located or operating in conjunction with any other antenna or transmitter.” Additional Information That Must be Provided to OEM Integrators The end user should NOT be provided any instructions on how to remove or install the device.






















