TUSHY TUS-REM21 Ace Electric Bidet Seat

Congratulations!
You’ve earned the right to be called Your Hiney-ness.
This manual will guide you step by step through your TUSHY Ace installation. Get ready for a sparkly butt, a smaller footprint and a toilet that truly feels like a throne.
http://hellotushy.com/aceinstall
Meet Your TUSHY Ace
Before You Start
Warnings and Safety
Read all instructions before installing or using your TUSHY Ace. Failure to do so could result in property damage, injury or death. Always turn off the water supply and disconnect all power sources before installing or performing maintenance on your TUSHY Ace.
When tightening connections, make sure they are finger tight, but be careful not to overtighten as this could result in leaks or property damage. Make sure you check for leaks after installing your TUSHY Ace and periodically thereafter.
Do not attempt to open or perform internal maintenance on the TUSHY Ace as this could result in injury or death as the device has electrical components.
Get into the groove
Let’s get this POTTY STARTED! Turn on some rump-shakin’ TUSHY Tunes. We’ve assembled the perfect tracks to get you in the mood to upgrade your toilet, your booty and your life.
hellotushy.com/tunes
Use the QR reader
You’ll find an itty-bitty, funky-looking square like this next to every step of this installation. This is a QR code. Each step of the installa-tion has its own unique QR code.
Scan this with your phone’s camera to give it a test drive. Technology, right?
Contact us
Have a question? Our Customer Experience Poo-rus are ready to help. Email us at [email protected]
Included Parts
TUSHY TIP: Keep all of these parts (and this manual) just in case you need them in the future!
You’ll Also Need:
Access to Power Outlet Within 3’
Check your toilet.
(There are different kinds of toilets? Who knew?)
Which bowl shape do you have?
Make sure your TUSHY Ace matches your toilet’s bowl shape. If they don’t match or if you are unsure, reach out to [email protected] and we’ll help you out.
Which type of toilet do you have?
The Standard
The Standard toilet is the most common toilet you’ll find in the majority of residential homes. It typically has two pieces, consisting of the bowl and the tank, and has a flexible steel hose connection between the water supply and tank. Most importantly, all of the water supply connections are visible. If you’ve got the Standard, you’ll be good to go in no time!
If you have any questions at all, email [email protected] and we will be able to assist you.
The Skirted
Skirted toilets are a more modern, clean design that may hide the external tank connection. If you are able to access the tank connec-tion, awesome! You shouldn’t have too much trouble.
If you aren’t able to access the tank connection, check out hellotushy.com/aceskirted for tips on how to connect these toilets with the valve adapter. We’ll get you set up in no time.
The Flushometer
The Flushometer toilet is normally found in commercial buildings, but some residential apartment buildings have these toilets too
(looking at you, NYC friends). They have a lever with a powerful flush and no easy access to a water supply connection. At first glance, these toilets don’t look TUSHY compatible, BUTT… we have a hack for that. 😉
You can connect your TUSHY to your sink’s water supply. If you want to start a Flushometer installation, visit our Flushometer page hellotushy.com/aceflushometer for an instruction video and a parts kit you will need.
If you have any questions at all, email [email protected] and we will be able to assist you.
The French Curve
Do you oui oui in this type of potty? French Curve toilets are one-piece toilets that are curved in the back. Though they are very high-end, they also tend to be hard to fit when it comes to any bidet seats or attachments.
To see if your toilet is compatible, check out
hellotushy.com/pages/compatibility-list.
If you have any questions at all, email [email protected] and we will be able to assist you.
Check your water connection
What kind of water connection does your toilet have? If you have a flexible hose (left), you’re good to go. If you have a hard pipe, contact our Poo-rus and we will send you a flexible pipe to replace it. For an installation video on how to replace your hard pipe, go to hellotushy.com/acetoilethose.
If you have any questions at all, email [email protected] and we will be able to assist you.
Check your power outlet
WARNING: Failure to read this may result in serious injury or death due to potential shock hazard. Before getting started, your TUSHY Ace must have access to a GFCI power outlet to ensure safe operation.
First, check the distance from the toilet to the outlet. If it is greater than 3 feet, you will need an extension cord. Pick one up at hellotushy.com/aceextension or grab any 3-prong extension cord you have handy. If you’re not sure, reach out to us at [email protected] and we can recommend one to you.
Next, check the outlet itself. If it looks like the one to the left, you are good to go!
If it is a 2-prong outlet, you will need a grounded converter available at hellotushy.com/collections/parts-and-accessories or your local hardware store.
(Refer to page 27 for applicable warnings.)
If you have any questions at all, email [email protected] and we will be able to assist you.
Prepare Your Toilet
STEP 1: Turn off your water supply valve
Turn off the water valve beside the toilet by turning it clockwise.
TUSHY TIPS: If you don’t have access to the water supply connection beside the toilet, you can use your sink’s water supply instead. For an installation video, go to hellotushy.com/acesinkinstall
If the valve is tight, there may be some mineral buildup. In that case, try twisting in one direction and then the other, each time rotating a little further until it’s free to turn all the way around. Slow and steady wins the race!
STEP 2: Empty the toilet tank
Flush your toilet to drain the tank. Hold down that flusher until the tank empties nearly completely! An inch of water at the bottom is okay, though.
STEP 3: Remove the toilet seat
For most toilet seats, flip up the screw caps behind the seat with a flathead screwdriver to access the screws. Turn counter-clockwise to loosen the screws. Remove the seat and either store it (in case you ever need it) or bury it (in case you want to give your old toilet a proper goodbye). Just kidding, recycle it!
TUSHY TIPS: You may need to hold the nut on the underside of the screw with your other hand (using pliers or a towel if necessary) while unscrewing.
If your toilet is dirty—hey, it happens!—it’s the perfect time to clean it!
Connecting Your TUSHY Ace
STEP 4: Connect to the water line
- a. Disconnect the existing flexible hose from your toilet tank by turning it clockwise if you’re looking at the con-nection from above. Be prepared to catch or wipe up some residual water that might spill onto the floor.
- b. Screw the existing flexible hose to the bottom of the Tank Adapter and then screw the top of the Tank Adapt-er counter-clockwise onto the tank if you’re looking from above. Be careful not to overtighten!
- c. Screw the provided Flexible TUSHY Ace Hose to the Tank Adapter’s side connection. Be careful not to overtighten!
WARNING: Connect to cold water line only (not the hot water line).
TUSHY TIPS: If you don’t have access to the tank connection, you will need a valve adapter for installation at the shutoff valve at the wall or the sink instead. Check out our installation video at hellotushy.com/valveadapter and email us at [email protected] for that part.
Got a hard metal pipe instead of a flexible hose connected to your toilet? No problem! You can swap that hard metal pipe out and replace it
with the Flexible TUSHY Ace Hose included in your TUSHY Ace spare parts kit!
STEP 5: Attach your TUSHY Ace Base Plate to the bowl
- a. Insert the included Top-Mounting Rubber Inserts into the toilet bolt holes until they are nearly flush with the toilet rim. Keep the bolts in the rubber inserts to make it easier to get the inserts in the toilet bolt holes. Once the rubber inserts are in place, unscrew the Mounting Bolts and set them aside until the end of step 5.
TUSHY TIP If you’re having trouble getting the rubber inserts into the toilet bolt holes, use some soapy water to help them slide in easier! - b. Place the included Base Plate over the toilet bolt holes, making sure it is centered and straight. Please also make sure the side of the Base Plate with rubber non-slip pads is facing down, not up. Align the back of the Base Plate with the tank, leaving a gap of at least 3/4” or the thickness of your thumb. It is okay if your gap is bigger than that.

- c. Line up the included mounting brackets on the Base Plate directly over the toilet bolt holes. The mounting brackets should click into the grooves in the Base Plate to stay in place.

- d. Slide the Bolt Washers onto the bolts. Insert the Mounting Bolts through the top of the mounting brackets. Tighten them using a Phillips head screwdriver by turning clockwise until the Base Plate is tight enough to stay in place. Be careful not to overtighten.

- TUSHY TIP: While you’re tightening the screws, check intermittently to see if the mounting bracket feels snug. If it still wiggles, keep tightening. If it feels snug, you’re all set!
STEP 6: Attach your TUSHY Ace to the Base Plate
Next, place your TUSHY Ace onto your bowl in front of the Base Plate. You will notice that on the bottom of the main body there are two slots that will slide onto the Base Plate. Line those up with the Base Plate and slide towards the back of your toilet until it clicks into place and securely locks.
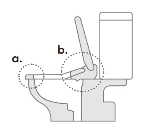
Check your Ace alignment
- a. Lip over / under hang
If you need to adjust the position of your TUSHY Ace, measure the amount of overlap at the front of your bowl so you can adjust the Base Plate accordingly.
- b. Flat on toilet bowl
Make sure your TUSHY Ace lies flat on your toilet bowl so the nozzle can function properly. Move it forward if the nozzle is resting on the edge of the bowl.

- c. Straight
Make sure your TUSHY Ace is straight on the toilet bowl.
- d. Allow space for lid
Make sure there is enough space between the TUSHY Ace and your tank so the lid can open properly.
- TUSHY TIP: To remove TUSHY Ace from the Mounting Plate, press the unlock button on the right side of the seat and pull the seat away from the tank. Then, loosen the Mounting Bolts and adjust the Base Plate until it is in the desired location before reattaching your TUSHY Ace.

STEP 7: Finish the water connection
Take the open end of the Flexible TUSHY Ace Hose attached to the Tank Adapter and screw it onto the inlet port of the bidet in a counter-clockwise direction if you’re looking from above. Do not overtighten—finger tight should be perfect.
STEP 8: Check for leaks
Turn on your water shutoff valve and check all connection points to make sure there are no visible leaks. If you see a leak, turn off your water shutoff valve and check your connections to make sure they are threaded straight and tight before you go to the next step. If you are still having leaks, flip to our Troubleshooting section before continuing.
STEP 9: Plug in your TUSHY Ace
Once the connections are leak-free and the area around you is dry, plug your Ace into a grounded, 3-prong 120V outlet. Is your butt tingling yet!?
TUSHY TIP
- If your outlet is out of reach, go to hellotushy.com/aceextension to get a 3-prong, grounded extension cord. While you wait, you can leave the TUSHY Ace on the toilet. It’s still a functioning toilet seat!
- If you have a 2-prong outlet, purchase a grounding converter from a local hardware store or email us at [email protected] for recommendations. The grounding converter should be used only until a properly grounded outlet can be installed by a qualified electrician.
Grounding Instruction
DANGER: Improper use of the grounding plug may result in a risk of electric shock. Refer to Warnings and Safety page.
This product has a 3-prong grounding plug, which must be plugged into an outlet that is properly installed and ground-ed. In the event of an electrical short circuit, grounding re-duces the risk of electric shock by providing an escape wire for the electric current. If repair or replacement of the cord or plug is necessary, do not connect the grounding wire to either flat blade terminal. Check with a qualified electrician if you don’t understand the grounding instructions, or if you’re not sure whether the product is properly grounded.
TUSHY Ace is intended for use on a nominal 120V circuit, and has a grounding plug that looks like the plug illustrated below.
STEP 10: Set up your remote
WARNING: Only install the remote in a dry area.
The future of toileting is here! Select an area of the wall that will be within reach of the toilet while seated. Clean that area and then make sure it is fully dry. The adhesive works best on dry wall or tile.
Remove the adhesive protection to attach the remote control dock to the cleaned area.
TUSHY TIP Can’t decide on a mounting location? Set the dock aside and leave the remote on the toilet tank when not in use. You know your household—if kids or pets are in the mix, the remote is likely to disappear if undocked.
Slide the battery cover off and insert the provided AAA batteries into the back of the remote, then replace the battery cover. WARNING: Keep batteries away from children.
To attach the remote to the dock, simply line it up and press the re-mote against the dock. The embedded magnets will hold it in place.
You’ve done it! Your ass-terpiece is complete! Now you get to sit on your throne. Slide the battery cover off and insert the provided AAA batteries into the back of the remote, then replace the battery cover.
WARNING: Keep batteries away from children.
To attach the remote to the dock, simply line it up and press the re-mote against the dock. The embedded magnets will hold it in place.
You’ve done it! Your ass-terpiece is complete! Now you get to sit on your throne.
How To Use Your TUSHY Ace
Before using your TUSHY Ace, make sure it is plugged into a grounded, 3-prong 120V outlet, there are batteries in the remote and your water valve is open.
Remote Functions:
To operate your TUSHY Ace with the remote, tap the setting button you want to change (nozzle angle, pressure, or temperature), then use the increase or decrease buttons to adjust that setting. Next, press Bum or Front wash to activate the spray. You can also change these settings during operation to fine tune your preferences.
Once you have completed your wash, tap the Dry button to activate the bum dryer. Use the Stop button to stop any function.
Special functions/modes
- Oscillating Power Wash
Double click on the Bum or Front wash buttons to activate the power wash setting which will oscillate the nozzle during wash sequence.
Manual Self-Cleaning Function
Press and hold the Seat Temperature and Water Temperature buttons for 5 seconds to activate the self-cleaning function. The Ace automatically cleans the nozzle after every use, but you can do it manually too if you’re a clean freak!
Soft Reset
Press and hold both the + and – buttons for 5 seconds to reset the TUSHY Ace to factory con-ditions. Try this if your Ace is acting a little funky.
Mute Function
Want Ace to whisper softly into your rear? Activate the Mute Function by holding the stop button for 10 seconds.
Lost remote, dead batteries? Check your couch cushions! If you still can’t find it, TUSHY Ace has a simple spray function that can be accessed on the side of the bidet. To operate the Bum or Front wash, press the corresponding button once to activate, and again to stop. To operate the Dryer, press the Dry button once to activate, and again to stop. Please properly dispose of old batteries.
Warnings & Safety
Read all instructions before installing or using your TUSHY Ace. Failure to do so could result in property damage, injury or death. Always turn off the water supply and disconnect all power sources before installing or performing maintenance on your TUSHY Ace.
When tightening connections, make sure they are tight, but be care-ful not to overtighten as this could result in leaks or property dam-age. Make sure you check for leaks after installing your TUSHY Ace and periodically thereafter.
Do not attempt to open or perform internal maintenance on the TUSHY Ace as this could result in injury or death as the device has electrical components.
Important Safeguards
Keep children away during installation process and exercise caution when using the device around children. To avoid danger of suffocation, keep the plastic bags away from babies and children. Do not use this bag in cribs, beds, carriages, or playpens. This bag is not a toy.
Read all instructions before using
- For 120V 60Hz: Power supply must be a 15 Amp GFCI outlet that is 1 ft. above the floor.
- Avoid using extension cords if possible. If using an extension cord, make sure it is a 3-prong, grounded extension cord rated to 15 Amps.
- Install only in well-ventilated areas to avoid excess humidity.
- Do not install in narrow toilet stalls or in shower stalls.
- Install only where direct contact with water is minimized.
- Do not install near any heat source.
DANGER: To reduce the risk of electrocution:
- Do not place or store product where it can fall or be pulled into a tub or sink.
- Do not place or drop into water or other liquid.
- Do not reach for the product if it has fallen into water. Unplug immediately.
- Connect the product to a properly grounded outlet only (refer to grounding instructions).
- Do not attempt to disassemble, modify, or alter the product.
- Do not pull the product by the power plug.
- Do not plug the product into an outlet that is being used by too many other products, is the incorrect voltage, or is loose.
- A damaged cord should be replaced or repaired immediately.
- Do not use a damaged power plug or plug into a loose electric outlet.
- Do not handle the product or power plug with wet hands.
- Do not handle the power plug forcefully or place heavy objects on the power plug.
- Remove any dust or water from the power plug before plugging in.
WARNING: To reduce the risk of burns, electrocution, fire or injury:
- Use supervision when this product is used by, on, or near children or individuals with disabilities.
- For children and seniors who may have difficulties with adjusting temperature or pressure or those with sensitive skin or impaired heat sensitivity, set the temperature and/or pressure of the wash spray and seat to “low” or “off” to prevent burning or injury.
- Use this product only for its intended use as described in this manual. Do not use attachments not recommended by the manufacturer.
- Never operate this product if it has a damaged cord or plug, if it is not working properly, has been dropped or damaged, or has been dipped into water. Contact customer support for diagnosis and repair.
- Keep the cord away from heated surfaces.
- Never drop or insert any object into any opening or hose.
- Do not use outdoors or operate where aerosol (spray) products are being used or where oxygen is being administered.
- Do not use industrial or gray water for the water supply (may cause skin damage or disease).
- Do not block air outlets.
- Do not place the product on soft surfaces where air openings may be blocked.
- Keep openings free of lint, hair, and other materials.
- Do not push buttons with excessive force or open the seat cover using excessive force.
- Do not place heavy objects on the seat cover.
- Do not use this product while sleeping or drowsy.
- Do not operate or use the product around flammable or combustible materials.
- Unplug and drain the product if it will not be used for a long period of time.
- Do not use thinner, benzene, acidic chemicals, chloride, or hydrochloric acid detergent to clean the product, because this could result in corrosion or discoloration/scratches to the product.
- Check all water supply connections regularly for leaks.
- Do not connect the product to the warm water supply during installation.
WARNING: Do not stand on the TUSHY Ace. Doing so could result in property damages, injury or death.
WATER HAMMER WARNING: In the event that a loud banging noise occurs in the existing plumbing during installation, please cease using the device and consult a plumbing professional in order to prevent voiding your warranty and/or damaging your TUSHY Ace.
Storage & Cleaning
Storing or moving your TUSHY Ace
To uninstall your TUSHY Ace, turn off your water valve, disconnect the plug from power, disconnect your Flexible TUSHY Ace Hose, dis-connect your Tank Adapter, and use the detach button to slide your TUSHY Ace off of the Mounting Plate.
Drain your TUSHY Ace before storing or moving by locating the drain plug on the bottom of the device. Using a flathead screwdriver, turn the plug counter-clockwise a quarter turn to open the drain. The plug will not remove completely. Drain into a toilet, tub or sink and then tighten the plug before storing.
Cleaning your TUSHY Ace
You should clean your TUSHY Ace as frequently as you clean your toilet with a mild, neutral-PH cleaner.
Cleaning products we recommend include Simple Green, Dr. Bronner’s or any soap that isn’t too harsh or caustic. If you have any doubt, please send a photo of the label to [email protected], and we can confirm that it is a good match!
Troubleshooting
Possible Causes:
- TUSHY Ace not plugged in.
- No power to TUSHY Ace.
- There is power, but the remote’s batteries are dead.
- Not activating Seat Sensor.
Possible Solutions:
- Make sure the TUSHY Ace is plugged in.
- Check and reset the GFCI outlet.
- Replace the batter-ies in the remote. Then perform a soft reset on the remote.
- Adjust sitting posi-tion to fully cover the Seat Sensor.
The water is too hot!
Possible Causes:
- The temperature setting is too high.
- TUSHY Ace may be connected to the warm water supply.
Possible Solutions:
- Adjust the temperature setting on the remote.
- Connect the TUSHY Ace to the cold water supply.
TUSHY Ace shuts off during use.
Possible Causes:
- Washing time exceeded the cycle time.
- Power failure.
Possible Solutions:
- Press the wash button again to extend the cycle time.
- Check and reset the GFCI outlet.
There is leaking from the TUSHY Ace body or hose connections.
Possible Causes:
- The black rubber gasket(s) are not properly installed on the hose or adapters.
- The hose connection is cross-threaded.
- There is Teflon tape on the threads.
Possible Solutions:
- Make sure that the black gasket(s) are properly installed on both ends of the Flex-ible TUSHY Ace Hose and the Tank Adapter.
- Unscrew the hose and screw it back on making sure it is straight and aligned properly.
- Remove all Teflon tape from threads and reinstall.
The tank adapter isn’t the same size as my toilet connection hose.
Possible Causes:
- We bet you have a unique plumbing setup.
Possible Solutions:
- Contact our TUSHY Ace installation Poo-rus at [email protected] and we’ll get you set up!
There’s no access to water next to my toilet.
Possible Causes:
- You have a Flushometer or com-mercial toilet.
- You have a skirted toilet.
- You have a wall- mounted toilet or a unique plumbing situation that doesn’t allow you to connect at the water valve at the wall.
Possible Solutions:
- You can connect your TUSHY to your sink’s water supply. If you want to start a Flushometer installation, visit our Flushometer page at hellotushy.com/aceflushometer for an instruction video and a parts kit you will need.
- Go to hellotushy. com/aceskirted for tips on how to connect these toilets with the valve adapter.
- Contact our TUSHY Ace install Poo-rus at aceinstall@ hellotushy.com and we’ll get you set up!
Still not getting the Ace experience?
Drop us an email at [email protected]—we won’t stop until your butt is beaming.
One Year Limited Warranty
- TUSHY warrants this product to be free from defects in materials and workmanship under conditions of normal use for a period of one (1) year from the date of purchase. This warranty is extended only to the original purchaser and is not transferable if the original purchaser sells or otherwise transfers the product. TUSHY may require proof of purchase to determine whether a claim falls within the warranty period.
- To report any product issues and to open a claim under the warranty, contact TUSHY at [email protected]. TUSHY will reach out to you to attempt to help resolve the issue.
- If a defect covered by this warranty arises, TUSHY’s obligations under this warranty are limited to repair or replacement, at TUSHY’s option, provided that such products were used in accordance with the instructions. Replacement may be of the same or similar product at TUSHY’s discretion and based on availability. TUSHY reserves the right to inspect the product to confirm that the issue is covered by this warranty.
- TUSHY is not responsible for the cost of return shipping of this product.
- This warranty does NOT apply to:
Damage or loss that occurs during shipment.
Damage, loss, or injury resulting from negligent or improper use or the user’s failure to follow instructions and safety warnings. Damage or loss resulting from modification of the product. Damage or loss resulting from normal “wear and tear” of the product.
Damage based on claims of personal injury or property damage, including, but not limited to, claimed damages that are incidental, or consequential in nature. - THIS WRITTEN WARRANTY IS THE ONLY WARRANTY MADE
BY TUSHY. REPAIR OR REPLACEMENT AS PROVIDED UNDER THIS WARRANTY SHALL BE THE EXCLUSIVE REMEDY AVAILABLE TO THE PURCHASER. TUSHY SHALL NOT BE RESPONSIBLE FOR LOSS OF USE OF THE PRODUCT OR FOR OTHER INCIDENTAL, SPECIAL, OR CONSEQUENTIAL DAMAGES OR EXPENSES INCURRED BY THE PURCHASER OR A THIRD PARTY, OR FOR ANY OTHER EXPENSES NOT SPECIFICALLY STATED ABOVE. EXCEPT TO THE EXTENT PROHIBITED BY THE APPLICABLE LAW, ANY IMPLIED WARRANTIES, INCLUDING THOSE OF MERCHANTABILITY AND FITNESS FOR A PARTICULAR PURPOSE, ARE EXPRESSLY LIMITED TO THE DURATION OF THIS WARRANTY. SOME STATES DO NOT ALLOW LIMITATIONS, SO THE ABOVE LIMITATION AND EXCLUSION MAY NOT APPLY TO YOU. - This warranty gives you specific legal rights, and you may also have other rights which vary from state to state.
Meet the TUSHY Poo-rus
GENERAL
Say hi! Comments! Compliments! Butt puns!
[email protected]
TUSHY QUESTIONS
Have general Qs? i.e. Shipping options, product availability: [email protected]
ORDER INQUIRIES
Track, modify, cancel or change your order or address: [email protected]
INSTALLATION SUPPORT
Need a hook up with the hook up? Install help, spare parts and troubleshooting:
[email protected]
TOILET PAPER SUBSCRIPTION
Change address, change frequency, or cancel: [email protected]
RETURNS
Send it back?! OK, I guess: [email protected]
We bend over backwards for your backside. Email [email protected] for assistance.
FCC Information to User
This equipment has been tested and found to comply with the limits for a Class B digital device, pursuant to Part 15 of the FCC Rules. These limits are designed to provide reasonable protection against harmful interference in a residential installation. This equipment generates, uses and can radiate radio frequency energy and, if not installed and used in accordance with the instructions, may cause harmful interference to radio communications. However, there is no guarantee that interference will not occur in a particular installation. If this equipment does cause harmful interference to radio or television reception, which can be determined by turning the equipment off and on, the user is encouraged to try to correct the interference by one of the following measures:
- Reorient or relocate the receiving antenna.
- Increase the separation between the equipment and receiver.
- Connect the equipment into an outlet on a circuit different from that to which the receiver is con-nected.
- Consult the dealer or an experienced radio/TV technician for help.
Caution
Modifications not expressly approved by the party responsible for compliance could void the user’s authority to operate the equipment.
FCC Compliance Information : This device complies with Part 15 of the FCC Rules. Operation is subject to the following two conditions: (1) This device may not cause harmful interference, and (2) this device must accept any interference received, including interference that may cause undesired operation.
This equipment complies with FCC radiation exposure limits set forth for an uncontrolled environment.
Product Description

References
TUSHY - The Modern & Sustainable Bidet Company
TUSHY - The Modern & Sustainable Bidet Company
My TUSHY Ace can’t reach its outlet. - TUSHY Support Center
Ace Onboarding — TUSHY
Ace Onboarding — TUSHY
Ace Electric Bidet Seat: Skirted Toilet Kit for 3/8" Connections — TUSHY
Stainless Steel Braided Hose for Toilet Connection — TUSHY
Parts and Accessories — TUSHY
I don’t know how to get my toilet seat off! - TUSHY Support Center
Compatibility List — TUSHY
Ace Electric Bidet Seat: Skirted Toilet Kit for 3/8" Connections — TUSHY



































