i-box WJ-202 Podium Portable Bluetooth Speaker with Wireless Charging User Manual
Introduction
The i-box Podium is a Bluetooth speaker designed around your phone.
Not only does it play music for up to 18 hours, it also has a built-in wireless charger to keep your phone powered up
The Podium also works as a handy phone stand – great for watching movies, looking at recipes, making video calls and much more.
Caring for your Speaker
Important Safety Information
Important – Please read these instructions fully before installing or operating your speaker.
Keep away from flame sources such as lighted candles.
Do not expose to dripping or splashed fluids. Objects filled with liquids, such as vases, should not be placed close to the speaker.
The unit should not be exposed to direct sunlight, very high or low temperature, moisture, vibrations, strong magnetic fields, high frequencies and dusty environments.
Do not place the unit in enclosed bookcases or racks without proper ventilation. Ventilation should not be impeded by covering the ventilation openings with , terms, such as newspapers, table-cloths, curtains, etc.
This product contains a built-in Li一ion battery. It must be used and charged properly. Improper use can cause the battery to catch fire or explode resulting in serious or fatal injury
Never attempt to insert wires, pins or other such objects into the vents or openings of the unit.
Do not disassemble or modify the speaker, there are no user serviceable parts.
If the speaker is damaged in anyway or malfunctions do not use. Consult a qualified service engineer.
Do not use abrasives, benzene, thinner or other solvents to clean the surface of the unit. To clean, wipe with clean soft cloth and a mild detergent solution.
This product contains a Li-ion battery and should be diposed of appropriately. Do not dispose of it with household waste at the end of its life cycle; hand it over to a collection centre for the recycling of electrical and electronic appliances with batteries. Please check with your Local Authority for recycling advice.



Box Contents
- 1x i-box Podium speaker,
- 1x 1m Micro USB charging cable &
- 1x 50cm AUX IN cable
Getting to know your speaker/charger
Before you get started please read the safety information on pages 2-3.
Top – Control Panel

Buttons
Power On/Off
Play/Pause- Reduce volume/ Previous track
- + Increase volume/ Next track
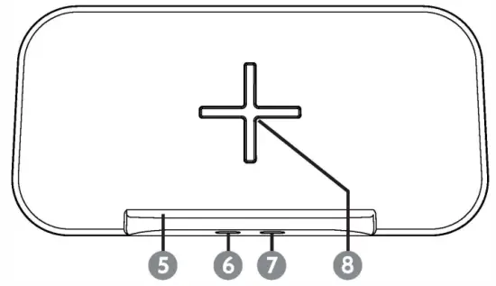
Front-Wireless Charging Panel & LEDs
Features - Phone stand
- Wireless charging LED
- Power/Mode LED
- Centre of wireless charging area
Back -Connections
Connections - 3.5mm AUX IN socket
- DCMicro USB power socket
Getting Started
Charging your Podium speaker
Your Podium speaker has a built-in non user-replaceable Lithium battery. For best results, the first time you use the Podium, let it charge for 4-5 hours until fully charged.
- Connect the micro USB cable supplied to the Podium’s Micro USB socket (10) and to a powered USB port on a USB charger or computer
- The Power/Mode LED (7) will be lit a constant Green while the battery is charging and will also flash Blue and Red while in Bluetooth pairing mode. The Green LED will switch off when the battery is charged or the charging cable is disconnected.
- For mobile use disconnect the USB cable when the battery is fully charged, for wireless charging leave connected.
Please Note:
The Podium will charge when connected to a 1A, SV USB output but will charge much faster and support up to 10W wireless charging if connected to a 9V USB charger
Bluetooth connecting & disconnecting
- Long press the
(1) power button to switch on your Podium. You will hear a “power on” message and the left hand LED (6) will flash Green once. You will next hear “Bluetooth mode”and then “pairing” messages, the Power/ Mode LED (7) will start flashing Blue and red. - Place the device you want to pair with your Podium within 1m of it, enter your device’s Bluetooth menu and select “i-box Podium” in the device list. When your Podium and device are paired, the Power/Mode LED (7) will stop fast flashing and you will hear the message “connected” and the Power/Mode LED (7) will now flash Blue twice at 5 second intervals.
Once paired with a device the Podium will reconnect automatically when switched on if the paired device is within range.
Bluetooth play operation
- Short press +/一(4/3) to increase or reduce the volume level.
- Long press+ (4) to play the next track or long press 一 (3) to select the previous track.
- Press
(2) to play or pause the track. During Bluetooth playback the Bluetooth LED (7) will be lit constantly Blue
Please Note: Your Podium will notify you if you receive a call while it is connected to your phone but does not have Handsfree capability. Please answer your phone normally when it is connected to the Podium.
Power Saving
If there is no Bluetooth audio input for 5 minutes your Podium speaker will automatically power off.
AUX IN connection and operation
For audio sources without Bluetooth capability you can connect via the 3.5mm AUX IN socket (9) on the back of the Podium
- Use the 3.5mm audio lead supplied to connect an audio source to the AUX IN socket (9). On connection you will hear an audio message, “AUX mode” and the Power/Mode LED (7) will be lit a constant Red.
- Select and play tracks using the controls on your audio source.
- Short press +/- (4/3) to increase or reduce the volume level. Press NI (2) to mute the sound (the track will continue to play).
When the aux lead is disconnected the Podium will revert to Bluetooth mode.
Wireless charging
If you have a phone with wireless charging capability you can use your Podium to charge it. Thanks to the smart positioning of the charging pad it is easy to watch movies etc while charging.
- Place your smartphone centrally on the phone stand (5) as shown opposite.
- The battery charge status can be seen on the display of your phone and the wireless charging LED (6) will be lit a constant Green during wireless charging and switch off when charging is complete.

Please Note- You can still charge your phone when the Podium is switched off, as long as the podium battery is charged or there is a USB power connection.
- During wireless charging (with the USB cable connected) , the input power can only support wireless charging and cannot charge the speaker battery at the same time. Battery charge level will drop if the speaker is used during wireless charging. If the Podium battery level is low you will need to stop wireless charging and give the Podium battery time to recharge.
- If the USB cable is unplugged during wireless charging, wireless charging will stop for 8 seconds while the electric circuit switches from using mains to using the built-in battery.
Wireless charging problems
If problems occur when charging or if charging does not start
- Remove your smartphone from its case if the thickness of the case exceeds 5mm or if it has a metal composition.
- The optimum charging position for phones with wireless charging function can vary by brand/model some phones may need to be placed slightly off centre.
- The charging time varies depending on the charging capacity of the battery and its current residual capacity.
- The components may heat up during the charging process. They will slowly cool down again after the charging process.
Specifications
- Power Input 5v-1A
5v-1A (Optimal SW)
5v-2A
5v-3A
9v-2A(Optimal 10W) - Lithium Battery Output: 4,000mAh
- Speaker Output: 2 x 3W RMS
Wireless Charging Output: up to 10W (with 9VDC USB charger connected) - Music Playback: Up to 18hrs
Disclaimer
Updates to Firmware and/or hardware components are made regularly. Therefore some of the instructions, specifications and pictures in this documentation may differ slightly from your particular situation. All items described in this guide are for illustration purposes only and may not apply to your particular situation. No legal right or entitlements may be obtained from the description made in this manual
Declaration of conformity
Hereby, Philex Electronic Ltd. declares that the radio equipment: model i-box Podium Bluetooth Speaker with Wireless Charging for wireless reception in domestic premises is in compliance with the Radio Equipment Directive 2014/53/ EU. The full text of the EU declaration of conformity is available at the following internet address: www.philex.com/doc
Technical support
For further help. advice. information or live chat visit www.iboxstyle.com
Waste electrical and electronic products should not be disposed of with household waste. Please recycle where facilities exist. Check with your Local Authority for recycling advice.
FCC part 18 RF Radiation Exposure Statement:
The equipment complies with FCC radiation exposure limits set forth for an uncontrolled environment.During the operation of device a distance of 15cm surrounding the device and 20 cm above the top surface of the device must be respected.
This device complies with Part 18 of the FCC Rules.This enquipment generates uses and can radiated radio frequency energy and,if not installed and used in accordance with the instructions ,may cause harmful interference to radio communications,if this equipment does cause harmful interference to radio or television reception ,which can be determined by turning thr equipment off and on,the user is encouraged to try to corrected the interference by one or more of the following measure:
- Increase the separation between the equipment and any other radio device.
- Connect the equipment into an outlet on a circuit different from that to which the receiver is connected.
FCC Warning
This device complies with part 15 of the FCC rules. Operation is subject to the following two conditions: (1) this device may not cause harmful interference, and (2) this device must accept any interference received, including interference that may cause undesired operation.
Changes or modifications not expressly approved by the party responsible for compliance could void the user’s authority to operate the equipment.
NOTE: This equipment has been tested and found to comply with the limits for a Class B digital device, pursuant to part 15 of the FCC Rules. These limits are designed to provide reasonable protection against harmful interference in a residential installation. This equipment generates uses and can radiate radio frequency energy and, if not installed and used in accordance with the instructions, may cause harmful interference to radio communications. However, there is no guarantee that interference will not occur in a particular installation. If this equipment does cause harmful interference to radio or television reception, which can be determined by turning the equipment off and on, the user is encouraged to try to correct the interference by one or more of the following measures:
- Reorient or relocate the receiving antenna.
- Increase the separation between the equipment and receiver.
- Connect the equipment into an outlet on a circuit different from that to which the receiver is connected.
- Consult the dealer or an experienced radio/TV technician for help.
The users manual or instruction manual for an intentional or unintentional radiator shall caution the user that changes or modifications not expressly approved by the party responsible for compliance could void the user’s authority to operate the equipment.
Radiation Exposure Statement
The device has been evaluated to meet general RF exposure requirement. The device can be used in portable exposure condition without restriction.






















