Black line PG 2 Turntable
User Manual
IMPORTANT SAFETY INSTRUCTIONS
- Read these instructions.
- Keep these instructions.
- Heed all warnings.
- Follow all instructions.
- Do not use this apparatus near water.
- Clean only with dry cloth.
- Do not block any ventilation openings. Install in accordance with the manufacturer.
- Do not install near any heat sources such as radiators, heat registers, stoves, or other.
- Do not defeat the safety purpose of the polarized or grounding type plug. A polarized plug has two blades with one wider than the other. A grounding type plug has two blades and a third grounding prong. The wide blade or the third prong is provided for your safety. If the provided plug does not fit into you outlet, consult an electrician for replacement of the obsolete outlet.
- Protect the power cord from being walked on or pinched particularly at plugs, convenience receptacles, and point where they exit from the apparatus.
- Only use attachments/accessories specified by the manufacturer.
- Unplug this apparatus during lightning storms or when unused for long periods of time.
- Refer all servicing to qualified service personnel. Servicing is required when the apparatus has been damaged in any way, such as power-supply cord or plug is damaged, liquid has been spilled or objects have fallen into the apparatus, the apparatus has been exposed to rain or moisture, does not operate normally, or has been dropped.
- This appliance shall not be exposed to dripping or splashing water and no object filled with liquids such as vases shall be placed on the apparatus.
- Do not overload wall outlet. Use only power source as indicated.
- Use replacement parts as specified by the manufacturer.
- The product may be mounted to a wall only if recommended by the manufacturer.
- Upon completion of any service or repairs to this product, ask the service technician to perform safety checks.
What’s in the box

Components Features

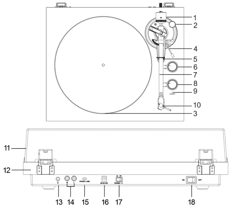
| 1. Counterweight 2. Anti-skating Knob 3. Turntable Platter 4. Tonearm Lift Lever 5. Tonearm Res t 6. 33/45 Selector 7. Tonearm 8. Stop/Start Knob 9. Indication Light 10. Cartridges | 11. Lid 12. Lid Hinge 13. Ground Connector 14. PHONO & Line Out Jacks 15. PHONO & Line Out Switch 16. AC-DC Power Jack 17. Bluetooth Control Button 18. Power Rocker Switch |
Please check thoroughly and make sure you find the following items that come along with this package:
- Unit
- EU+UK Power Adaptor
- Counterweight
- Platter with Belt
- 45 RPM Adaptor
- Turntable mat
- Instruction Manual
- Cartridge Alignment Protractor
- RCA to RCA grounded cable
Turntable Platter and Belt Setup
- Install the drive belt over the inner ring under the platter.
- Place the platter through the turntable spindle, then rotate the platter until you see the drive motor pulley through the window at the top left corner.

- Carefully grab the drive belt and put it around the slot of motor pulley by using red ribbon attached on the platter.
- Connect the power adapter to the turntable and power on the turntable.
- Set the Motor Start/Stop switch to the Start position to see if the platter motor spins. If the platter does not spin, try the steps listed above again.
Cartridge Down force Adjustment
The Counterweight supplied is suitable for cartridges weighing between 3.0-6.0 g.
- Gently push and turn the Counterweight onto the rear of the tonearm (with the scale facing toward the front of the turntable).
- Remove the cartridge protection cap.
- Lower the tonearm lift and position the cartridge in the space between tonearm rest and platter. Carefully rotate the Counterweight until the tonearm balances out. The tonearm should return to the balanced position if it is moved up or down. This adjustment must be done carefully.
- Once the tonearm is correctly balanced return it to its rest. Hold the Counterweight without moving it, and gently rotate the Down force Scale ring until the zero is in line with black line on the rear of the tonearm. Check whether the arm still balances out.
- Rotate the counterweight counter clockwise (seen from the front) to adjust the down force according to the cartridge manufacturer’s recommendations. One mark on the scale represents 0.05 g of down force.
NOTE: The recommended down force for the factory fitted cartridge is 2.5±0.5 g.
Anti-skating force adjustment
- A small outward “anti-skating” force can be applied to the tone arm to compensate for the “skating” force that pulls the arm toward the center of the record.
- For best performance during normal turntable usage, it is recommended to set the anti-skate control knob to the same value as indicated by the down force scale dial.
Connection to the Amplifier
This turntable uses a moving magnetic cartridge. Set the PHONO & Line Out Switch to PHONO mode. Connect the phonon out cables to the phonon input on your amplifier of pre-amplifier (phonon stage). Line inputs such as CD, Tuner, Tape, or Video are not suitable for phonon inputs. Make sure the amplification of the selected input matches the type of cartridge being used. The factory installed cartridge is 47 k ohms / MM-input.
To connect a Blue Aura v 40 amplifier to the turntable using Bluetooth, turn the v 40 on and change the Source to BT (ensure BT antenna is connected to the back of the v 40)
Using the v 40 remote control, press the BT button to put into pairing mode – fast flashing.
Turn the PG 2 turntable on at BT mode and it automatically searches for any BT devices that are in search mode – flashing LED, rear of turntable.
Once connected, the blue led on the v 40 and the turntable changes to solid blue – no flashing.
NOTE: If your amplifier does not have an input suitable for phonon cartridges please refer to Stereo System Connection.
Stereo System Connection
Set the PHONO & Line Out Switch on LINE mode. The RCA PHONO & Line Out Jacks output analog line-level signals and can be connected to a suitable amplifier (v 40), or a pair of active/ powered speakers.
The Red plug connects with the Right channel and the White plug connects with the Left channel.
NOTE: The RCA Jacks are not designed to be connected directly to the passive/un-powered speakers on LINE mode. If connected to the passive speakers, no sound will come out.
Main Power Connection
The power adapter is in the foam packing material. Unpack the power adapter and plug the small end into the DC power jack located at the back side of the turntable.
Plug the power adapter into your power outlet.
Remark: Due to the Erp stage 2 requirements for power saving measures, a unit which is connected to the mains power will switch to standby mode automatically if no music has been playing for about 30 minutes.
Operation
How to play a record
- Connect the included power adapter to unit and press the power rocker switch to be “ON” position.
- Remove the needle cover from the cartridge.
- Place the slip mat on the platter and place a record on the slip mat. If using 45 RPM records, put the 45 RPM adapter on the center spindle before placing the record on the platter.
- Set the 33/45 RPM Selector according to the type of record.
- Unlock the arm clip and set the Lift Lever to the up position.
- Turn the Start/Stop dial to the Start position to begin spinning the platter.
Note: The platter will auto start when the Tonearm leave the its rest. - Lower the tonearm lift lever and carefully place the needle over the desired location on the record.
- Carefully lower the tonearm on the record.
- When you are finished playing the record, raise the tonearm, return it to rest on the arm clip, and turn the Start/Stop dial to the Stop.
Note: The platter stop automatically at the end of record to protect the stylus. - Press the START / STOP button when you want to start / stop the platter.
Bluetooth Operation
This unit has a Bluetooth transmitter to send audio to a Bluetooth speaker or Headphones wirelessly.
- Power on your Bluetooth speaker and ensure it is in pairing mode.
- Power on the unit, turn the Bluetooth control button to ON position, the indication light will turn to blue and flashing, then change to be long lighting when paired;
- To disconnect pairing, power off the BT button or turn off Bluetooth pairing on your Bluetooth speaker.
Cartridge Replacement
- Before replacement, put the stylus protector back on the stylus to prevent damage to the stylus during the replacement process.
- Carefully remove the wire leads from the original cartridge.
- Loosen the two screws on the head shell that are securing the cartridge and then remove the original cartridge.
- Mount the new cartridge to the head shell and tighten it lightly. Do not completely tighten the screws at this moment.
- Connect the wire leads to the new cartridge’s terminals .The wire lead color codes are as below:
White Left channel positive (L+) Black Left channel negative (L–) Red Right channel positive (R+) Black Right channel negative (R-) - Adjust the cartridge’s position to make sure it is precisely aligned on the head shell so that the stylus will be tracking the grooves in parallel perfectly. To achieve this, place the included paper cartridge-alignment protractor over the turntable spindle, carefully lift the tone arm and place the tip of the stylus on the points marked Φ130 and Φ250 respectively. Fine tune the cartridge’s position on the head shell until the cartridge is perfectly in parallel with the reference lines at both points.
- Tighten the screws completely once the perfect alignment is achieved.
NOTE: If you are unfamiliar or uncomfortable with completing this procedure, we recommend consulting with a professional to perform the installation.
Maintenance and Cleaning
Your turntable requires little of no regular maintenance. Remove dust with a slightly damp anti static cloth. Never use a dry cloth, this will create static electricity and attract more dust! Anti static cleaning agents are available at specialist stores, but must be applied sparingly to avoid damage to rubber parts. It is recommended to install the needle cover before cleaning or maintenance is carried out to avoid damage.
NOTE: If the turntable is not used over a long period of time, the drive belt should be removed to prevent unequal stretching. Always disconnect the record player from the power supply as a precaution before maintenance!
Potential Incorrect Use and Fault Conditions
This turntable is manufactured to the highest standards and undergoes strict quality controls before leaving the factory. Faults that may possibly occur are not necessarily due to material or production faults but can sometimes be caused by incorrect use or unfortunate circumstances. Therefore the following list of common fault symptoms is included.
The platter doesn’t turn although the unit is switched on:
- The unit is not connected to the main power supply.
- No power at the outlet.
- Drive belt is not installed or has slipped off.
No signal through one or other channel or both channels:
- Phone input not selected at amplifier.
- Amplifier not switched on.
- Amplifier or speakers muted.
- No connection to the speakers.
- No connection between turntable and amplifier.
- Wire leads not connected the cartridge.
Strong hum on phonon input:
- No ground connection from cartridge, arm, or arm cable to amplifier or ground loop.
- Turntable too close to speakers.
Distorted of inconsistent sound from one or both channels:
- Turntable is connected to wrong input of amplifier.
- Needle or cantilever damaged.
- Drive belt overstretched or dirty.
- Platter bearing without oil, dirty or damaged.
- Dust on stylus.
- MM / MC switch on pre-amplifier set incorrectly.
Useful Tips:
The turntable should be positioned on a low-resonance surface such as wood or multiple layer ply board to avoid structural vibrations disturbing playback.
To view the Blue Aura range of Turntable and Vinyl Care Accessories please visit https://www.blueaura.co.uk/product-accessories or scan this code
https://www.blueaura.co.uk/product-accessories
Product technical Specification:
| Nominal Speeds | 33 1/3 & 45 RPM |
| Speed Variance | ±1.5% |
| Wow and Flutter | ≤0.2% |
| Signal to Noise | 68 dB |
| Down force Range | 3.0-6.0 g |
| Effective Tonearm Length | 8.3” (210.8 mm) |
| Overhang | 0.63 in |
| Power Consumption | 1.5 W |
| Outboard Power Supply | 12V/ 500 mA AC-DC |
| Dimensions (W x H x D) | 420 x 360 x 125 mm |
| Net weight | 4.8 kgs |
Cartridge Specification:
| Model Number | TC 02 BK |
| Frequency response | 10Hz-35 kHz |
| Recommended load resistance | 47 kohms |
| Channel balance | <1.5 dB |
| Amplifier connection | MM – input |
| Channel separation | >16 dB |
| Recommended tracking force | 2.5±0.5 g |
| Output voltage | 2.5 mV ±0.5 mV |
| Weight | 6 g |
| Bluetooth Version | 5.1 |
E&OE August 2022




















