Wickes Angle Grinder 115mm PGA1156 Owner’s Manual
GENERAL POWER TOOL SAFETY WARNINGS
WARNING! Read all safety warnings and all instructions. Failure to follow the warnings and instructions may result in electric shock, fire and/or serious injury.
SAVE ALL WARNINGS AND INSTRUCTIONS FOR FUTURE REFERENCE.
The term “power tool” in the warnings refers to your mains-operated (corded) power tool or battery-operated (cordless) power tool.
- WORK AREA SAFETY
- a) Keep work area clean and well lit. Cluttered or dark areas invite accidents.
- b) Do not operate power tools in explosive atmospheres, such as in the presence of flammable liquids, gases or dust. Power tools create sparks which may ignite the dust or fumes.
- c) Keep children and bystanders away while operating a power tool. Distractions can cause you to lose control.
- ELECTRICAL SAFETY
- a) Power tool plugs must match the outlet. Never modify the plug in any way. Do not use any adapter plugs with earthed (grounded) power tools. Unmodified plugs and matching outlets will reduce risk of electric shock.
- b) Avoid body contact with earthed or grounded surfaces, such as pipes, radiators, ranges and refrigerators. There is an increased risk of electric shock if your body is earthed or grounded.
- c) Do not expose power tools to rain or wet conditions. Water entering a power tool will increase the risk of electric shock.
- d) Do not abuse the cord. Never use the cord for carrying, pulling or unplugging the power tool. Keep cord away from heat, oil, sharp edges or moving parts. Damaged or entangled cords increase the risk of electric shock.
- e) When operating a power tool outdoors, use an extension cord suitable for outdoor use. Use of a cord suitable for outdoor use reduces the risk of electric shock.
- f) If operating a power tool in a damp location is unavoidable, use a residual current device (RCD) protected supply. Use of an RCD reduces the risk of electric shock.
- PERSONAL SAFETY
- a) Stay alert, watch what you are doing and use common sense when operating a power tool. Do not use a power tool while you are tired or under the influence of drugs, alcohol or medication. A moment of inattention while operating power tools may result in serious personal injury.
- b) Use personal protective equipment. Always wear eye protection. Protective equipment such as dust mask, non-skid safety shoes, hard hat, or hearing protection used for appropriate conditions will reduce personal injuries.
- c) Prevent unintentional starting. Ensure the switch is in the off-position before connecting to power source and/or battery pack, picking up or carrying the tool. Carrying power tools with your finger on the switch or energizing power tools that have the switch on invites accidents.
- d) Remove any adjusting key or wrench before turning the power tool on. A wrench or a key left attached to a rotating part of the power tool may result in personal injury.
- e) Do not overreach. Keep proper footing and balance at all times. This enables better control of the power tool in unexpected situations.
- f) Dress properly. Do not wear loose clothing or jewellery. Keep your hair, clothing and gloves away from moving parts. Loose clothes, jewellery or long hair can be caught in moving parts.
- g) If devices are provided for the connection of dust extraction and collection facilities, ensure these are connected and properly used. Use of dust collection can reduce dust-related hazards.
- POWER TOOL USE AND CARE
- a) Do not force the power tool. Use the correct power tool for your application. The correct power tool will do the job better and safer at the rate for which it was designed.
- b) Do not use the power tool if the switch does not turn it on and off. Any power tool that cannot be controlled with the switch is dangerous and must be repaired.
- c) Disconnect the plug from the power source and/ or the battery pack from the power tool before making any adjustments, changing accessories, or storing power tools. Such preventive safety measures reduce the risk of starting the power tool accidentally.
- Store idle power tools out of the reach of children and do not allow persons unfamiliar with the power tool or these instructions to operate the power tool. Power tools are dangerous in the hands of untrained users.
- e) Maintain power tools. Check for misalignment or binding of moving parts, breakage of parts and any other condition that may affect the power tool’s operation. If damaged, have the power tool repaired before use. Many accidents are caused by poorly maintained power tools.
- f) Keep cutting tools sharp and clean. Properly maintained cutting tools with sharp cutting edges are less likely to bind and are easier to control.
- g) Use the power tool, accessories and tool bits etc. in accordance with these instructions, taking into account the working conditions and the work to be performed. Use of the power tool for operations different from those intended could result in a hazardous situation.
- SERVICE
a) Have your power tool serviced by a qualified repair person using only identical replacement parts.
This will ensure that the safety of the power tool is maintained.
SAFETY INSTRUCTIONS FOR ALL OPERATIONS
Safety Warnings Common for Grinding or Abrasive Cutting-Off Operations:
- a) This power tool is intended to function as a grinder, or cut-off tool. Read all safety warnings, instructions, illustrations and specifications provided with this power tool. Failure to follow all instructions listed below may result in electric shock, fire and/or serious injury.
- b) Operations such as sanding, wire brushing, polishing are not recommended to be performed with this power tool. Operations for which the power tool was not designed may create a hazard and cause personal injury.
- c) Do not use accessories which are not specifically designed and recommended by the tool manufacturer. Just because the accessory can be attached to your power tool, it does not assure safe operation.
- d) The rated speed of the accessory must be at least equal to the maximum speed marked on the power tool. Accessories running faster than their rated speed can break and fly apart.
- e) The outside diameter and the thickness of your accessory must be within the capacity rating of your power tool. Incorrectly sized accessories cannot be adequately guarded or controlled.
- f) Threaded mounting of accessories must match the grinder spindle thread. For accessories mounted by flanges, the arbour hole of the accessory must fit the locating diameter of the flange. Accessories with arbour holes that do not match the mounting hardware of the power tool will run out of balance, vibrate excessively and may cause loss of control.
- g) Do not use a damaged accessory. Before each use inspect the accessory such as abrasive disc for chips and cracks, backing pad for cracks, tear or excess wear, , wire brush for loose or cracked wires. If power tool or accessory is dropped, inspect for damage or install an undamaged accessory. After inspecting and installing an accessory, position yourself and bystanders away from the plane of the rotating accessory and run the power tool at maximum no-load speed for one minute. Damaged accessories will normally break apart during this test time.
- h) Wear personal protective equipment. Depending on application, use face shield, safety goggles or safety glasses. As appropriate, wear dust mask, hearing protectors, gloves and workshop apron capable of stopping small abrasive or workpiece fragments. The eye protection must be capable of stopping flying debris generated by various operations . The dust mask or respirator must be capable of filtrating particles generated by various operations. Prolonged exposure to high intensity noise may cause hearing loss.
- i) Keep bystanders a safe distance away from work area. Anyone entering the work area must wear personal protective equipment. Fragments of workpiece or of a broken accessory may fly away and cause injury beyond immediate area of operation.
- j) Hold power tool by insulated gripping surfaces only, when performing an operation where the cutting accessory may contact hidden wiring or its own cord. Cutting accessory contacting a “live” wire may make exposed metal parts of the power tool “live” and could give the operator an electric shock.
- k) Position the cord clear of the spinning accessory. If you lose control, the cord may be cut or snagged and your hand or arm may be pulled into the spinning accessory.
- l) Never lay the power tool down until the accessory has come to a complete stop. The spinning accessory may grab the surface and pull the power tool out of your control.
- m) Do not run the power tool while carrying it at your side. Accidental contact with the spinning accessory could snag your clothing, pulling the accessory into your body.
- n) Regularly clean the power tool’s air vents. The motor’s fan will draw the dust inside the housing and excessive accumulation of powdered metal may cause electrical hazards.
- o) Do not operate the power tool near flammable materials. Sparks could ignite these materials.
- p) Do not use accessories that require liquid coolants. Using water or other liquid coolants may result in electrocution or shock.
- q) Your hand must hold on the handle when you are working. Always use the auxiliary handles supplied with the tool. Loss of control can cause personal injury.
FURTHER SAFETY INSTRUCTIONS FOR ALL OPERATIONS
Kickback and Related Warnings
Kickback is a sudden reaction to a pinched or snagged rotating disc, backing pad, brush or any other accessory. Pinching or snagging causes rapid stalling of the rotating accessory which in turn causes the uncontrolled power tool to be forced in the direction opposite of the accessory’s rotation at the point of the binding.
For example, if an abrasive disc is snagged or pinched by the workpiece, the edge of the disc that is entering into the pinch point can dig into the surface of the material causing the disc to climb out or kick out. The disc may either jump toward or away from the operator, depending on direction of the disc movement at the point of pinching.
Abrasive discs may also break under these conditions. Kickback is the result of power tool misuse and/or incorrect operating procedures or conditions and can be avoided by taking proper precautions as given below.
- a) Maintain a firm grip on the power tool and position your body and arm to allow you to resist kickback forces. Always use auxiliary handle, if provided, for maximum control over kickback or torque reaction during start-up. The operator can control torque reactions or kickback forces, if proper precautions are taken.
- b) Never place your hand near the rotating accessory. Accessory may kickback over your hand.
- c) Do not position your body in the area where power tool will move if kickback occurs. Kickback will propel the tool in direction opposite to the disc movement at the point of snagging.
- d) Use special care when working corners, sharp edges etc. Avoid bouncing and snagging the accessory. Corners, sharp edges or bouncing have a tendency to snag the rotating accessory and cause loss of control or kickback.
- e) Do not attach a saw chain woodcarving blade or toothed saw blade. Such blades create frequent kickback and loss of control.
ADDITIONAL SAFETY INSTRUCTIONS FOR GRINDING AND CUTTING-OFF OPERATIONS
Safety Warnings Specific for Grinding and Abrasive Cutting-Off Operations:
- a) Use only disc types that are recommended for your power tool and the specific guard designed for the selected disc. Discs for which the power tool was not designed cannot be adequately guarded and are unsafe.
- b) The grinding surface of centre depressed disc must be mounted below the plane of the guard lip. An improperly mounted disc that projects through the plane of the guard lip cannot be adequately protected.
- c) The guard must be securely attached to the power tool and positioned for maximum safety, so the least amount of disc is exposed towards the operator. The guard helps to protect operator from broken disc fragments and accidental contact with disc and sparks that could ignite clothing.
- d) Discs must be used only for recommended applications. For example: do not grind with the side of cut-off disc. Abrasive cut-off discs are intended for peripheral grinding, side forces applied to these discs may cause them to shatter.
- e) Always use undamaged disc flanges that are of correct size and shape for your selected disc. Proper disc flanges support the disc thus reducing the possibility of disc breakage. Flanges for cut-off discs may be different from grinding disc flanges.
- f) Do not use worn down discs from larger power tools. Disc intended for larger power tool is not suitable for the higher speed of a smaller tool and may burst.
- g) Check ‘use-by’ date marked on disc. Do not use out of date accessories.
ADDITIONAL SAFETY INSTRUCTIONS FOR CUTTING-OFF OPERATIONS
Additional Safety Warnings Specific for Abrasive Cutting-Off Operations:
- a) Do not “jam” the cut-off disc or apply excessive pressure. Do not attempt to make an excessive depth of cut. Overstressing the disc increases the loading and susceptibility to twisting or binding of the disc in the cut and the possibility of kickback or disc breakage.
- b) Do not position your body in line with and behind the rotating disc. When the disc, at the point of operation, is moving away from your body, the possible kickback may propel the spinning disc and the power tool directly at you.
- c) When disc is binding or when interrupting a cut for any reason, switch off the power tool and hold the power tool motionless until the disc comes to a complete stop. Never attempt to remove the cut-off disc from the cut while the disc is in motion otherwise kickback may occur. Investigate and take corrective action to eliminate the cause of disc binding.
- d) Do not restart the cutting operation in the workpiece. Let the disc reach full speed and carefully re-enter the cut. The disc may bind, walk up or kickback if the power tool is restarted in the workpiece.
- e) Support panels or any oversized workpiece to minimize the risk of disc pinching and kickback. Large workpieces tend to sag under their own weight. Supports must be placed under the workpiece near the line of cut and near the edge of the workpiece on both sides of the disc.
- f) Use extra caution when making a “pocket cut” into existing walls or other blind areas. The protruding disc may cut gas or water pipes, electrical wiring or objects that can cause kickback.
COMPONENT LIST



- Hand grip area
- On-off switch
- Spindle lock button
- Auxiliary handle
- Grinding disc (not supplied)
- Grinding guard
- Cutting guard
- Clamping screw
- Inner flange
- Out flange
- Spanner
- Hex key
ACCESSORIES
Spanner: 1
Grinding guard: 1
Cutting guard: 1
Auxiliary handle: 1
Hex key: 1
We recommend that you purchase your accessories from the same store that sold you the tool. Refer to the accessory packaging for further details. Store personnel can assist you and offer advice.
TECHNICAL DATA
Rated voltage: 230-240V~50Hz
Rated input power: 900W
Rated speed: 12000/min
Protection class:
/II
Diameter of grinding disc: 115mm
Max. Thickness of grinding disc: 6 mm
Spindle thread: M14
Disc size: 115mm
Disc bore: 22.2mm
Machine weight: 2.06 Kg
SYMBOLS
To reduce the risk of injury, read all of this instruction manual
Warning
Wear ear protection
Wear eye protection
Wear dust mask
Double insulated
Waste electrical products must not be disposed of with household waste. Please recycle where facilities exist. Check with your local authorities or retailer for recycling advice.
NOISE INFORMATION
A weighted sound pressure: LpA: 90.67dB(A)
A weighted sound power: LwA: 101.67dB(A)
KpA & KwA: 3.0dB(A)
Wear ear protection
VIBRATION INFORMATION
| Vibration total values (triax vector sum) determined according to EN 60745: | ||
| Surface grinding | Vibration emission value-surface grinding | |
| Main handle ah=6.154 m/s2 | Auxiliary handle ah = 6.910 m/s2 | |
| Uncertainty K=1,5m/s² | Uncertainty K=1,5m/s² | |
- the declared vibration total value has been measured in accordance with a standard test method and may be used for comparing one tool with another;
- the declared vibration total value may also be used in a preliminary assessment of exposure.
WARNING! The vibration emission value during actual use of the power tool can differ from the declared value depending on the ways in which the tool is used dependant on the following examples and other variations on how the tool is used:
How the tool is used and the materials being cut.
The tool being in good condition and well maintained
The use the correct accessory for the tool and ensuring it is sharp and in good condition.
The tightness of the grip on the handles and if any anti vibration accessories are used. And the tool is being used as intended by its design and these instructions.
This tool may cause hand-arm vibration syndrome if its use is not adequately managed.
WARNING! To be accurate, an estimation of exposure level in the actual conditions of use should also take account of all parts of the operating cycle such as the times when the tool is switched off and when it is running idle but not actually doing the job. This may significantly reduce the exposure level over the total working period, helping to minimize your vibration exposure risk.
Maintain this tool in accordance with these instructions and keep well lubricated (where appropriate) If the tool is to be used regularly then invest in anti vibration accessories. Plan your work schedule to spread any high vibration tool use across a number of days.
OPERATING INSTRUCTIONS
NOTE: Before using the tool, read the instruction book carefully.
Intended Use
The machine is intended for cutting, roughing and brushing metal and stone materials without using water. For cutting metal, a special protection guard for cutting (accessory) must be used.
This tool may cause hand-arm vibration syndrome if its use is not adequately managed
- INSTALLING THE AUXILIARY HANDLE (See Fig. A)

For all work with the machine, the auxiliary handle (4) must be attached.
Screw the auxiliary handle (4) on the right or left of the machine head depending on the working method.
WARNING! Do not make any alterations to the
auxiliary handle.
Do not continue to use an auxiliary handle if it is damaged. - SPINDLE LOCK BUTTON
Clean the grinder spindle and all parts to be mounted. For clamping and loosening the grinding tools, lock the grinder spindle with the spindle lock button (3).
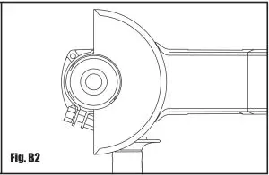
Press the spindle lock button (3) only when the grinder spindle is stationary. Do not attempt to lock the spindle while it is still spinning. - ADJUSTING DISC GUARD (See Fig. B)


For work with grinding or cutting discs, the disc guard must be mounted.
Disc Guard for Grinding (6)
The coded projection (b) on the disc guard ensures that only a guard that fits the machine type can be mounted. Loosen the clamping screw (a) with the hex key (12), if necessary.
Place the protection guard with coded projection (a) into the coded groove on the spindle collar of the machine head and rotate to the required position (working position).
The closed side of the protection guard must always point to the operator. Tighten clamping screw (a) with the hey key (12).
Disc Guard for Cutting (7)
WARNING! For cutting metal, always work with the disc guard for cutting. The disc guard for cutting is mounted in the same manner as the disc guard for grinding. - FITTING THE DISCS (NOT SUPPLIED) (See Fig. C)
Put the inner flange (9) onto the tool spindle. Ensure it is located on the two flats of spindle (See Fig. C1).
Place the disc on the tool spindle and inner fIange (9). Ensure it is correctly located.
Fit the threaded outer flange making sure it is facing in the correct direction for the type of disc fitted. For grinding discs, the flange is fitted with the raised portion facing towards the disc. For cutting discs, the flange is fitted with the raised portion facing away from the disc (See Fig. C2).
Press in the spindle lock button (3) and rotate the spindle by hand until it is locked. Keeping the lock button pressed in, tighten the outer flange (10) with the spanner provided (See Fig. C3).
OPERATION
- STARTING OPERATION (See Fig. D)

To start the power tool, push the on/off switch (2) forward. To lock the on/off switch (2) on, depress and push the On/Off switch (2) forward to the end, then depress the On/Off switch (2) in position.
To switch off the power tool, release the on/off switch (2) or, if it is locked, briefly push down the back of the on/off switch (2) and then release it.
NOTE: The machine is equipped with accidental start protection.
The machine will not run when plugged in if the switch is in the “on“ position to ensure safety of the user. The machine will work only after switching off and on again. - TO USE THE GRINDER (See Fig. E)

ATTENTION! Do not switch the grinder on whilst the disc is in contact with the workpiece. Allow the disc to reach full speed before starting to grind. Hold your angle grinder with one hand on the main handle and other hand firmly around the auxiliary handle.
Always position the guard so that as much of the exposed disc as possible is pointing away from you. Be prepared for a stream of sparks when the disc touches the metal.
For best tool control, material removal and minimum overloading, maintain an angle between the disc and work surface of approximately 150 -300 when grinding.
Use caution when working into corners as contact with the intersecting surface may cause the grinder to jump or twist.
When grinding is complete allow the workpiece to cool. Do not touch the hot surface. - CUTTING (See Fig. F)

WARNING! For cutting metal, always work with the disc guard for cutting.
When cutting, do not press, tilt or oscillate the machine. Work with moderate feed, adapted to the material being cut.
Do not reduce the speed of running down cutting discs by applying sideward pressure.
The direction in which the cutting is performed is important.
The machine must always work in an up-grinding motion. Therefore, never move the machine in the other direction! Otherwise, the danger exists of it being pushed uncontrolled out of the cut.
WORKING HINTS FOR YOUR ANGLE GRINDER
- Always start at no load to achieve maximum speed then start working.
- Do not force the disc to work faster, reducing the Disc’s moving speed means longer working time.
- When grinding, always work with a 15-30º angle between disc and workpiece. Larger angles will cut ridges into the workpiece and affect the surface finish. Move the angle grinder across and back and forth over the workpiece.
- When using a cutting disc never change the cutting angle otherwise you will stall the disc and angle grinder motor or break the disc. When cutting, only cut in the opposite direction to the disc rotation. If you cut in the same direction as the disc rotation the disc may push itself out of the cut slot.
- When cutting very hard material best results can be achieved with a diamond disc.
- When using a diamond disc it will become very hot. If this happens you will see a full ring of sparks around the rotating disc. Stop cutting and allow to cool at no load speed for 2-3 minutes.
- Always ensure the workpiece is firmly held or clamped to prevent movement.
MAINTENANCE
Remove the plug from the socket before carrying out any adjustment, servicing or maintenance.
Your power tool requires no additional lubrication. There are no user serviceable parts in your power tool. Never use water or chemical cleaners to clean your power tool. Wipe clean with a dry cloth. Always store your power tool in a dry place. Keep the motor ventilation slots clean. Keep all working controls free of dust. Occasionally you may see sparks through the ventilation slots. This is normal and will not damage your power tool.
If the supply cord is damaged, it must be replaced by the manufacturer, its service agent or similarly qualified persons in order to avoid a hazard.
TROUBLESHOOTING
Although your new angle grinder is really very simple to operate, if you do experience problems, please check the following:
- If your grinder will not operate check the power at the main plug.
- If your grinder disc wobbles or vibrates, check that outer flange is tight, check that the disc is correctly located on the flange plate.
- If there is any evidence that the grinding disc is damaged, do not use as the damaged disc may disintegrate. Remove it and replace with a new disc. Dispose of old discs responsibly.
- If working on aluminum or a similar soft alloy, the disc will soon become clogged and will not grind effectively.
- If a fault cannot be rectified, return the tool to an authorized dealer or its service agent for repair.
ENVIRONMENTAL PROTECTION
Waste electrical products should not be disposed of with household waste. Please recycle where facilities exist. Check with your Local Authority or retailer for recycling advice.
PLUG REPLACEMENT (ONLY FOR REWIRABLE PLUG OF UK & IRELAND)

If you need to replace the fitted plug then follow the instructions below.
IMPORTANT
The wires in the mains lead are colored in accordance with the following code:
Blue = Neutral
Brown = Live
As the colors of the wires in the mains lead of this appliance may not correspond with the colored markings identifying the terminals in your plug, proceed as follows. The wire which is colored blue must be connected to the terminal which is marked with N. The wire which is colored brown must be connected to the terminal which is marked with L.
Warning!
Never connect live or neutral wires to the earth terminal of the plug. Only fit an approved 13A BS1363/A plug and the correct rated fuse.
Note: If a moulded plug is fitted and has to be removed take great care in disposing of the plug and severed cable, it must be destroyed to prevent engaging into a socket.
DECLARATION OF CONFORMITY
We,
Wickes Building Supplies Limited
Declare that this product: ANGLE GRINDER
Description and SKU code: 223732
Complies with the following Directives and Regulations:
2006/42/EC, Machinery Directive
2014/30/EU, Electromagnetic Compatibility Directive
2011/65/EU & (EU)2015/863, Restriction of Hazardous Substances Directive
and conforms to the following standards:
Standards specific to this product:
EN 55014-1
EN 55014-2
EN 61000-3-2
EN 61000-3-3
EN 60745-1
EN 60745-2-3
28th January, 2021
Philip Ansell
Category Technical Manager
Wickes
Vision House
19 Colonial Way
Watford
WD24 4JL
Customer Helpline 0345 2005409



























