hama 00004647 RMN Uni Directional Microphone Instruction Manual
What‘s in the Box
- 1x„RMN Uni“ directional microphone
- 1xanti-shock frame
- 1×3.5 mm TRRS plug
- 1×3.5 mm TRS plug
- 1xWind shield
- 1xStorage bag
Safety Notes
- This product is intended for private, non-commercial use only.
- Use the product for its intended purpose only.
- Protect the product from dirt, moisture and overheating, and only use it in a dry environment.
- Protect the product from dirt, moisture and overheating, and only use it in a dry environment.
- Do not drop the product and do not expose it to any major shocks.
- Do not modify the product in any way. Doing so voids the warranty.
- Dispose of packaging material immediately according to locally applicable regulations.
- Do not open the device or continue to operate it if it becomes damaged.
• Do not attempt to service or repair the product
yourself. - Leave any and all service work to qualified experts.
- Keep this product, as all electrical products, out of the reach of children!
- Use the item only in moderate climatic conditions.
- Do not bend or crush the cable.
- Always pull directly on the plug when disconnecting the cable, never on the cable itself.
Connection to a smartphone, laptop, tablet, Mac, PC
- Connection to a smartphone, laptop, tablet, Mac, PC
- Slide the microphone housing into the clamp of the holder (shockproof frame).
- The microphone should be fixed in the middle and laid horizontally. For other sockets (USB-C,Lightning) please use a suitable adapter.
- Attach the windscreen to the front of the microphone
- Connect the 3.5mm TRRS plug (straightcable) to your device
- Open the audio or video recording app and start recording

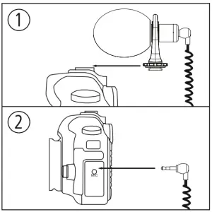
Connection to a DSLR camera, camcorder, audio recorder
- Slide the microphone body into the clamp of the holder (shockproof frame).
- The microphone should be mounted centrally and horizontally.
- Attach the windscreen to the front of the microphone.
- Use the bracket to mount the microphone on the accessory shoe of your camera, camcorder, etc.
- Connect the 3.5mm TRS jack plug
- (Coiled cable) with your device.
- Directivity: Cardioid

Warranty Disclaimer
Hama GmbH & Co KG assumes no liability and provides no warranty for damage resulting from improper installation/mounting, improper use of the product or from failure to observe the operating instructions and/ or safety notes.
Note on environmental protection
After the implementation of the European Directive 2012/19/EU and 2006/66/EU in the national legal system, the following applies:
Electric and electronic devices as well as batteries must not be disposed of with
household waste. Consumers are obliged by law to return electrical and electronic devices as well as batteries at the end of their service lives to the public collecting points set up for this purpose or point of sale. Details to this are defined by the national law of the respective country. This symbol on the product, the instruction manual or the package indicates that a product is subject to these regulations. By recycling, reusing the materials or other forms of utilising old devices/Batteries, you are making an important contribution to protecting our environment.
Technical data
- Connection: 3,5-mm-Jack plug
- Model: Mono
- Sensitivity: -32dB +/-3dB
- Directivity: Cardioid
- Cable length: 32 cm
- Impedance: 2200 Ω
- Frequency range: 50 Hz – 20 kHz
Customer Support
Hama GmbH & Co KG
86652 Monheim/ Germany
Service & Support
Web: www.hama.com
Tell: +49 9091 502-0





















