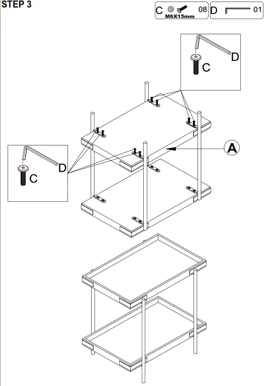
ASSEMBLY INSTRUCTIONS

REPLACEMENT PARTS
Please do not contact the company purchased from as we can help you faster. Order replacement parts and hardware at”boltonfurniture.com”

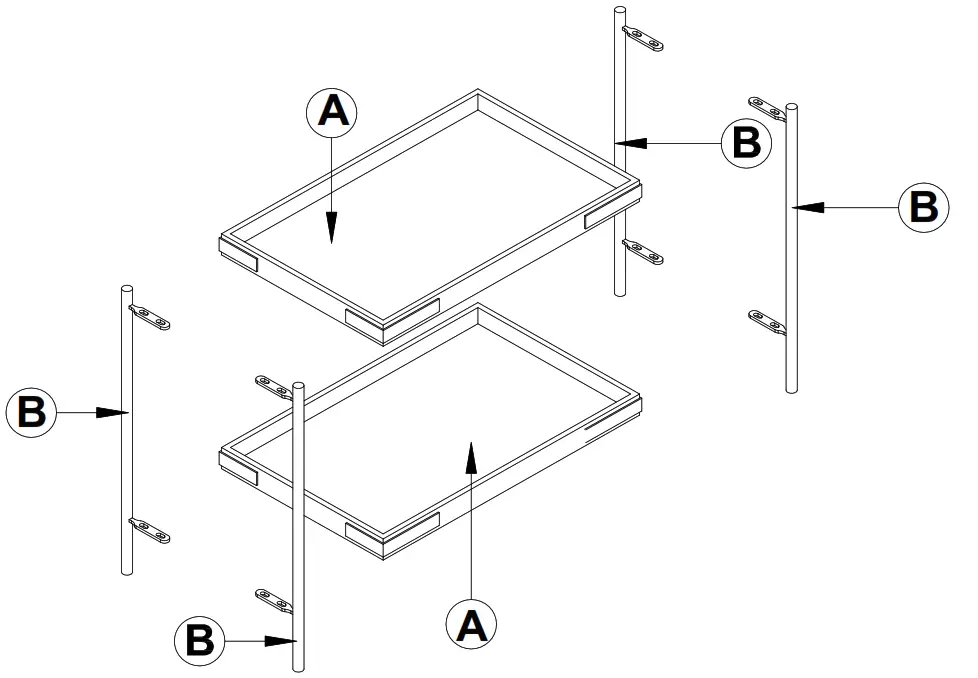
Part List-Side Table

Identifying the hardware-Identify the hardware using the illustrations below.

















