Mellerware Homy Fan Heater Instruction Manual
Introduction
This product is only suitable for well insulated spaces or occasional use.
Dear customer,
Many thanks for choosing to purchase a Mellerware brand product. Thanks to its technology, design and operation and the fact that it exceeds the strictest quality standards, a fully satisfactory use and long product life can be assured.
Safety advice and warnings
- Read these instructions carefully before switching on the appliance and keep them for future reference. Failure to follow and observe these instructions could lead to an accident.
- CAUTION: Some parts of this product can become very hot and cause burns. Particular attention has to be given where children and vulnerable people are present.
- The appliance must not be placed below a power socket.
- Children of less than 3 years should be kept away unless continuously supervised.
- Children aged from 3 years and less than 8 years shall only switch on/off the appliance provided that it has been placed or installed in its intended normal operating position and they have been given supervision or instruction concerning use of the appliance in a safe way and understand the hazards involved.
- This appliance can be used by children aged from 8 years and above and persons with reduced physical, sensory or mental capabilities or lack of experience and knowledge if they have been given super vision or instruction concerning use of the appliance in a safe way and understand the hazards involved.
- Cleaning and user maintenance shall not be made by children unless they are supervised.
- Children aged from 3 years and less than 8 years shall not plug in, regulate and clean the appliance or perform user maintenance.
- This appliance is not a toy. Children should be supervised to ensure that they do not play with the appliance.
- Do not use the appliance near bathtubs, showers or swimming pools.
- If the connection to the mains has been damaged, it must be replaced, take the appliance to an authorized technical support service. Do not attempt to disassemble or repair the appliance by yourself in order to avoid a hazard.
- This appliance is for household use only, not professional, industrial use.
This symbol means that covered. product can’t be- CAUTION: In order to prevent overheating do not cover the appliance.
- Ensure that the voltage indicated on the rating label matches the mains voltage before plugging in the appliance.
- Connect the appliance to a socket that can supply a minimum of 10 amperes.
- The Appliance’s plug must fit into the mains socket properly. Do not alter the plug. Do not use plug adaptors.
- The appliance must be used and Placed on a flat ,stable surface.
- Keep the appliance away from flammable material such as textiles, cardboard or paper, etc.
- Place the appliance a minimum distance of 50cm away from combustible materials, such as curtains, furniture…
- Do not use the appliance in association with a programmer, timer or other device that automatically switches it on.
- Do not use the appliance if the cable or plug is damaged.
- If any of the appliance casings breaks, immediately disconnect the appliance from the mains to prevent the possibility of an electric shock.
- CAUTION: Maintain the appliance dry.
- CAUTION: Do not use the appliance near water.
- Do not use the appliance with damp hands or feet, or when barefooted.
- Do not force the power cord. Never use the power cord to lift up, carry or unplug the appliance.
- Do not wrap the power cord around the appliance.
- Do not allow the power cord to come into contact with the appliance’s hot surfaces.
- Check the state of the power cord. Damaged or tangled cables increase the risk of electric shock.
- Supply cord should be regularly examined for signs of damage, and if the cord is damaged, the appliance must not be used.
- Do not use or store the appliance outdoors.
- Do not leave the appliance out in the rain or exposed to moisture.
If water gets into the appliance, this will increase the risk of electric shock. - Do not touch the plug with wet hands.
- Do not use the appliance in the case of persons insensitive to heat (the appliance has heated surfaces).
- Do not touch the heated parts of the appliance, as it may cause serious burns.
- The temperature of the accessible surfaces may be high when the appliance is in use.
USE AND CARE
- Fully extend the appliance’s power cable before each use.
- Do not use the appliance if the on/ off switch does not work.
- Do not move the appliance while in use.
- Do not use the appliance if it is tipped up and do not turn it over.
- Disconnect the appliance from the mains when not in use and before undertaking any cleaning task.
- Store this appliance out of reach of children and/or persons with physical, sensory or reduced mental or lack of experience and knowledge.
- Do not store the appliance if it is still hot.
- Do not store the appliance on areas where the temperature could be lower than 2˚C.
- Make sure that dust, dirt or other foreign objects do not block the fan grill on the appliance.
- Never leave the appliance unattended while in use.
- Never leave the appliance connected and unattended if is not in use. This saves energy and prolongs the life of the appliance.
- Do not use the appliance to dry pets or animals.
- Do not use the appliance to dry textiles of any kind.
- CAUTION: User can’t sleep when appliance is under use; there is a risk of injuries.
- Turn the thermostat control to the minimum (MIN) setting. This does not mean that the iron is switched off permanently.
Service
Any misuse or failure to follow the instructions for use renders the guarantee and the manufacturer’s liability null and void.
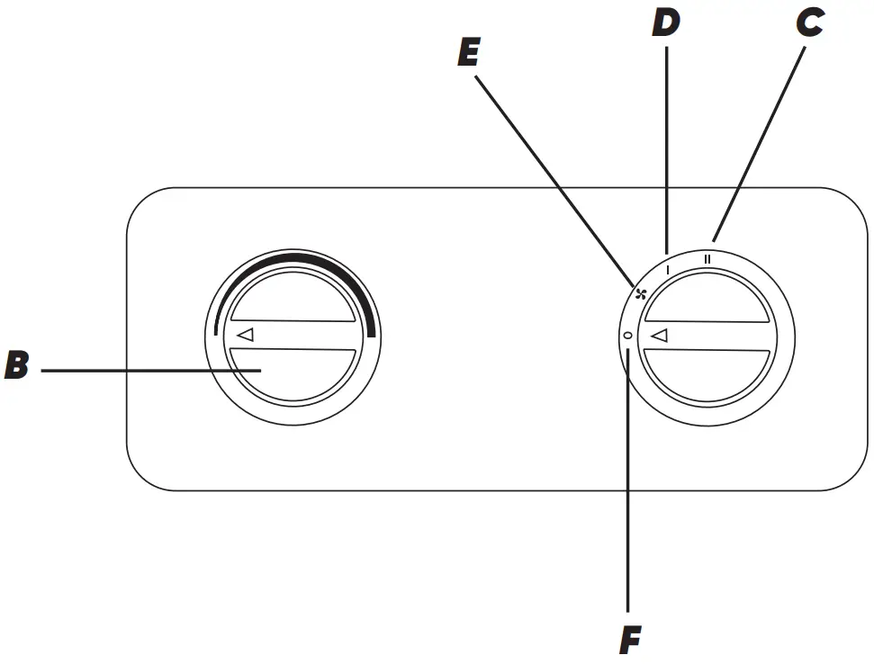
Description
- A. Air outlet
- B. Thermostat
- C. Power II
- D. Power I
- E. Fan
- F. OFF


If the model of your appliance does not have the accessories described above, they can also be bought separately from the Technical Assistance Service.
Instructions for use
BEFORE USE
- Make sure that all products’ packaging has been removed.
- Some parts of the appliance have been lightly greased.
- Consequently, the first time the appliance is used a light smoke may be detected. After a short time, this smoke will disappear.
- To eliminate the smell given off by the appliance when used for the first time, it is recommended to have it on at full power for 2 hours in a well-ventilated room.
USE
- Extend the cable completely before plugging it in.
- Connect the appliance to the mains.
- Start the appliance by using the power selector knob.
- Select the desired power.
- Turn the thermostat knob (B) until it is in the position that corresponds to the desired temperature.
- During the use of the appliance, it will switch on and off automatically, thus indicating the operation of the heating elements to maintain the desired temperature.
- Fan function: select the fan position (E) and check that the thermostat is set to the maximum.
ONCE YOU HAVE FINISHED USING THE APPLIANCE
- Select the minimum position (MIN) using the thermostat control.
- Stop the appliance, selecting position OFF on the selector control.
- Unplug the appliance from the mains.
- Clean the appliance.
ANTI-TIPPING SAFETY DEVICE
- The appliance has an anti-tipping Safety device that turns it off if the working position is not the correct one.
SAFETY THERMAL PROTECTOR
- The appliance has a safety device, which protects the appliance from overheating.
- When the appliance switches itself on and off repeatedly, for reasons other than the thermostat control, check to ensure that there are no obstacles that impede correct air entry or expulsion.
- If the appliance turns itself off and does not switch itself on again, disconnect it from the mains supply, and wait for approximately 15 minutes before reconnecting.
- If the machine does not start again seek authorized technical assistance.
Cleaning
- Disconnect the appliance from the mains and allow it to cool before undertaking any cleaning task.
- Clean the equipment with a damp cloth with a few drops of washing up liquid and then dry.
- Do not use solvents, or products with an acid or base pH such as bleach, or abrasive products, for cleaning the appliance.
- Do not let water or any other liquid get into the air vents to avoid damage to the inner parts of the appliance.
- Never submerge the appliance in water or any other liquid or place it under running water.
Anomalies and repair
Take the appliance to an authorized technical support service if product is damaged or other problems arise. Do not attempt to disassemble or repair the appliance yourself as this may be dangerous
For EU product versions and/or in case that it is requested in your country
ECOLOGY AND RECYCLABILITY OF THE PRODUCT
The materials of which the packaging of this appliance consists are included in a collection, classification and recycling system. Should you wish to dispose of them, use the appropriate public recycling bins for each type of material.- The product does not contain concentrations of substances that could be considered harmful to the environment.
- This symbol means that in case you wish to dispose of the product once its working life has ended; take it to an authorized waste agent for the selective collection of Waste from Electric and Electronic Equipment (WEEE)
This appliance complies with Directive 2014/35/EU on Low Voltage, Directive 2014/30/EU on
Electromagnetic Compatibility, Directive 2011/65/EU on the restrictions of the use of certain hazardous substances in electrical and electronic equipment and Directive 2009/125/EC on the eco-design requirements for energy-related products.
Warranty and technical assistance
This product enjoys the recognition and protection of the legal guarantee in accordance with current legislation. To enforce your rights or interests you must go to any of our official technical assistance service’s
You can find the closest one by accessing the following web link: www.mellerware.com.
You can also request related information by contacting us.
You can download this instruction manual and its updates at www.mellerware.com
The following information details the features related to eco-design.
Customer Support
Durban
35 Adrain Road, Windermere
Durban, South Africa, 4001
Tel.: +27 31 303 3465
Fax: +27 31 303 8259
Johannesburg
Unit 25 & 26 San Cray office Park
Die Agora Road, Croydon, 1619
Tel.: +27 11 329 5652
Fax: +27 11 392 1694
Creative housewares
20 Tekstiel St, Parrow. Cape Town. 7493, RSA
P.O. Box 6156 Parrow East, 7501, RSA.
Tel.: +27 21 931 8117 / Helpline: 086 111 5006
Tel.: +27 63 014 0457
Fax: +27 21 931 4058
www.creativehousewares.co.za
Engineering Technology for life, S.L.
Av. Barcelona, s/n
25790, Oliana – Lleida – Spain
www.mellerware.com
This symbol means that covered. product can’t be

The materials of which the packaging of this appliance consists are included in a collection, classification and recycling system. Should you wish to dispose of them, use the appropriate public recycling bins for each type of material.

















