Quick Start guide

NVIP-5H-6511/F
NVIP-5H-6511/F Quick start guide
version 1.1
IMPORTANT SAFEGUARDS AND WARNINGS
THE PRODUCT MEETS THE REQUIREMENTS CONTAINED IN THE FOLLOWING DIRECTIVES:
DIRECTIVE 2014/30/EU OF THE EUROPEAN PARLIAMENT AND OF THE COUNCIL of 26 February 2014 on the harmonization of the laws of the Member States relating to electromagnetic compatibility (OJ L 96, 29.3.2014, p. 79–106, with changes)
DIRECTIVE 2012/19/EU OF THE EUROPEAN PARLIAMENT AND OF THE COUNCIL of 4 July 2012 on waste electrical and electronic equipment (WEEE) (OJ L 197, 24.7.2012, p. 38–71, with changes)
DIRECTIVE 2011/65/EU OF THE EUROPEAN PARLIAMENT AND OF THE COUNCIL of 8 June 2011 on the restriction of the use of certain hazardous substances in electrical and electronic equipment (OJ L 174, 1.7.2011, p. 88–110, with changes)
Information
The device, as a part of a professional CCTV system used for surveillance and control, is not designed for self-installation in households by individuals without technical knowledge.
Excluding of responsibility in case of damaging data on a disk or other devices:
The manufacturer does not bear any responsibility in case of damaging or losing data on a disk or other devices during device operation.
WARNING!
PRIOR TO UNDERTAKING ANY ACTION THAT IS NOT DESCRIBED FOR THE GIVEN PRODUCT IN USER’S MANUAL AND OTHER DOCUMENTS DELIVERED WITH THE PRODUCT, OR IF IT DOES NOT ARISE FROM THE USUAL APPLICATION OF THE PRODUCT, THE MANUFACTURER MUST BE CONTACTED UNDER THE RIGOR OF EXCLUDING THE MANUFACTURER’S RESPONSIBILITY FOR THE RESULTS OF SUCH AN ACTION.![]()
Pictures in this publication showing camera views can be simulations. Actual camera images may vary depending on the type, model, settings, observation area, or environmental conditions.
WARNING!
THE KNOWLEDGE OF THIS MANUAL IS AN INDISPENSABLE CONDITION OF A PROPER DEVICE OPERATION. YOU ARE KINDLY REQUIRED TO FAMILIARIZE YOURSELF WITH THE MANUAL PRIOR TO INSTALLATION AND FURTHER DEVICE OPERATION.
WARNING!
THE USER IS NOT ALLOWED TO DISASSEMBLE THE CASING AS THERE ARE NO USER
-SERVICEABLE PARTS INSIDE THIS UNIT. ONLY AUTHORIZED SERVICE PERSONNEL MAY OPEN THE UNIT INSTALLATION AND SERVICE SHOULD ONLY BE DONE BY QUALIFIED SERVICE PERSONNEL AND SHOULD CONFORM TO ALL LOCAL REGULATIONS
- Prior to undertaking any action please consult the following manual and read all the safety and operating instructions before starting the device.
- Please keep this manual for the lifespan of the device in case referring to the contents of this manual is necessary;
- All the safety precautions referred to in this manual should be strictly followed, as they have a direct influence on user’s safety and durability and reliability of the device;
- All actions conducted by the servicemen and users must be accomplished in accordance with the user’s manual;
- The device should be disconnected from power sources during maintenance procedures;
- Usage of additional devices and components neither provided nor recommended by the producer is forbidden;
- You are not allowed to use the camera in high humidity environment (i.e. close to swimming pools, bathtubs, damp basements);
- Mounting the device in places where proper ventilation cannot be provided (e. g. closed lockers etc.) is not recommended since it may lead to heat build-up and damage the device itself as a consequence;
- Mounting the camera on an unstable surface or using not recommended mounts is forbidden. The improperly mounted camera may cause a fatal accident or may be seriously damaged. The camera must be mounted by qualified personnel with proper authorization, in accordance with this user’s manual.
- The device should be supplied only from a power source whose parameters are in accordance with those specified by the producer in the camera technical datasheet. Therefore, it is forbidden to supply the camera from a power source with unknown parameters, unstable or not meeting producer’s requirements;
Due to the product being constantly enhanced and optimized, certain parameters and functions described in the manual in question may change without further notice.
We strongly suggest visiting the www.novuscctv.com/en website in order to access the newest full manual
FOREWORD INFORMATION
1.1. General Characteristics
- Sensor resolution: 5 megapixels
- Mechanical IR cut filter (IR operation capability)
- Min. Illumination from 0 lx with IR LED on
- Wide Dynamic Range (WDR) for enhanced image quality in diverse light conditions
- Digital Noise Reduction (DNR)
- Defog function (F-DNR)
- Highlight Compensation (HLC)
- Back Light Compensation (BLC)
- Reduction of image flicker (Antiflicker)
- Lens type: fixed focal, f=2.8 mm/F1.6
- Built-in LED illuminator
- Built-in webserver: camera configuration through the website
- Video compression: H.264, H.264+, H.264 Smart, H.265, H.265+, H.265 Smart, MJPEG, G.711
- Max. video resolution up to 2592×1944
- Multi-streaming: compression, resolution, speed and quality defined individually for each video stream
- ROI functions
- Motion detection
- Private Zones
- RTSP protocol support for video transmission
- Schedule
- MicroSD card up to 256 GB
- Wide range of responses to alarm events: e-mail with an attachment, saving file on FTP server, saving file on the microSD card
- Electronic Shutter from 1/3 s to 1/10000 s.
- Supports up to 3 streams
- ONVIF Protocol Support
- Software: NMS (NOVUS MANAGEMENT SYSTEM) for video recording, live monitoring, playback and remote IP devices administration
- Power supply: 12 VDC / PoE
FOREWORD INFORMATION
1.2. Technical specification
IMAGE | |
| Image Sensor | 5 MPX CMOS sensor 1/2.7” OV |
| Number of Effective Pixels | 2688 (H) x 1944 (V) |
| Min. Illumination | 0.009 lx/F1.6 – color mode, 0 lx (IR on) – B/W mode |
| Electronic Shutter | auto/manual: 1/3 s ~ 1/10000 s |
| Digital Slow Shutter (DSS) | up to 1/3 s |
| Wide Dynamic Range (WDR) | yes (double scan sensor), 120dB |
| Digital Noise Reduction (DNR) | 2D, 3D |
| Defog Function (F-DNR) | yes |
| Highlight Compensation (HLC) | yes |
| Back Light Compensation (BLC) | yes |
| Reduction of image flicker (Antiflicker) | yes |
LENS | |
| Lens Type | fixed focal, f=2.8 mm/F1.6 |
DAY/NIGHT | |
| Switching Type | mechanical IR cut filter |
| Switching Mode | auto, manual, time |
| Switching Level Adjustment | yes |
| Switching Delay | 2 ~ 120 s |
| Switching Schedule | yes |
| Visible Light Sensor | yes |
NETWORK | |
| Stream Resolution | 2592 x 1944, 2592 x 1520, 2560 x 1440 (QHD), 2304 x 1296, 1920 x 1080 (Full HD), 1280 x 720 (HD), 704 x 576, 704 x 480, 480 x 240, 352 x 288 (CIF), 352 x 240 |
| Frame Rate | 30 fps for 2592 x 1944, 60 fps for 1920 x 1080 (Full HD) and lower resolutions |
| Multistreaming Mode | 3 streams |
| Video/Audio Compression | H.264, H.264+, H.264 Smart, H.265, H.265+, H.265 Smart, MJPEG/G.711 |
| Number of Simultaneous Connections | max. 10 |
| Bandwidth | 60 Mb/s in total |
| Network Protocols Support | HTTP, TCP/IP, IPv4, IPv4/v6, UDP, HTTPS, FTP, DHCP, DDNS, NTP, RTSP, RTP, UPnP, SNMP, QoS, IEEE 802.1X, PPPoE, SMTP, RTCP, ICMP |
| ONVIF Protocol Support | Profile S/G |
| Camera Configuration | from Internet Explorer browser languages: Polish, English, Russian, and others |
| Compatible Software | NMS, N Control 6000 |
| Mobile applications | superlative Plus (iPhone, Android) |
OTHER FUNCTIONS | |
| Privacy Zones | 4 video mask type: single color |
| Motion Detection | yes |
| Region of interest (ROI) | 8 |
| Video Content Analysis (VCA) | tamper, line cross, zone entrance, zone exit, object counting, face detection, pedestrian detection, cross counting, Scene Change, Video Blurred, Video Color Cast, objects distinguishing, people counting, vehicle detection, vehicle counting |
| Image Processing | 180˚image rotation, sharpening, mirror effect, corridor mode, vertical flip, horizontal flip, lens distortion correction |
| Pre-alarm/Postalarm | up to 6 s/up to 120 s |
| System Reaction to Alarm Events | e-mail, an e-mail with an attachment, saving file on FTP server, saving file on SD card |
| Restoring default settings | via web browser, using reset button, via NMS IPTool software |
FOREWORD INFORMATION
| IR LED | |
| LED Number | 2 |
| Range | 50 m |
| Smart IR | yes (software support) |
| INTERFACES | |
| Audio Input/Output | 1 x Jack (3.5 mm)/- |
| Network Interface | 1 x Ethernet – RJ-45 interface, 10/100 Mbit/s |
| Memory Card Slot | microSD – capacity up to 256GB |
| INSTALLATION PARAMETERS | |
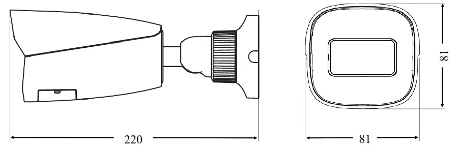
| Dimensions (mm) | with bracket: 81 (W) x 81 (H) x 220 (L) |
| Weight | 0.7 kg |
| Degree of Protection | IP 67 (details in the user’s manual) |
| Enclosure | aluminum, white, fully cable managed wall mount bracket in-set included |
| Power Supply | PoE, 12 VDC |
| Surge protection | TVS 4000 V |
| Power Consumption | 6 W, 9 W (IR on) |
| Operating Temperature | -30°C ~ 60°C |
| Humidity | max. 95%, relative (non-condensing) |
1.3. Camera dimensions (mm)
Camera NVIP-5H-6511/F
1.4. Package contents
After opening the package make sure that the following elements are inside:
- IP camera
- Accessories bag
- The short version of user’s manual
If any of these elements has been damaged during transport, pack all the elements back into the original box and contact your supplier for further assistance.
CAUTION!
It is forbidden to use – as the camera power source – PoE equipment (adapters, etc.) not compatible with IEEE 802.3af standard (items called “passive PoE power supply”). Damages caused by the usage of improper power supply sources are not covered by the warranty.
START-UP AND INITIAL IP CAMERA CONFIGURATION
2. START-UP AND INITIAL IP CAMERA CONFIGURATION
CAUTION!
If the device was brought from a location with lower temperature, please wait until it reaches the temperature of location it is currently in. Turning the device on immediately after bringing it from a location with lower ambient temperature is forbidden, as the condensing water vapour may cause short-circuits and damage the device as a result. Before starting the device familiarize yourself with the description and the role of particular inputs, outputs and adjusting elements that the device is equipped with.
2.1 Description of connectors and control tools
- 100 Mb/s Ethernet port (PoE RJ-45 connector)
- Audio input (Jack 3.5 mm)
- Power supply 12VDC
- Counter nut
- Base of camera
- MicroSD card slot
- Reset button
2.2. Ethernet cable connecting
To maintain the tightness of the ethernet cable connection, please follow the instructions below:
- Unscrew the nut (1) from the connector cover (2).
- Route the network cable (without the RJ-45 plug) through the components (1) and (2), than crimp the RJ-45 connector.
- Plug the RJ-45 connector into the hermetic socket (3), screw the connector cover (2), and than the nut (1).

CAUTION!
The declared degree of protection of the camera relates to its housing and does not take into account the possibility of moisture infiltration into the camera by connection cables. Connection cables protection i.e. sealing up is the camera installer’s duty. The manufacturer is not liable for any camera damages caused as a result of failing in performing that activity by installer, which also means that camera damaged in that way is not subject to warranty repairs.
CAUTION!
The camera power supply connector is not hermetic. The installer should seal this connector by himself. The camera can be supplied using an external power supply unit corresponding with the camera parameters or by using the RJ45 network socket and PoE (802.3af) power supply unit. If you’re using external power supply please connect wires according to polarisation shown on the picture:
CAUTION!
In order to provide protection against voltage surges/lightning strikes, the usage of appropriate surge protectors is advised. Any damages resulting from surges are not eligible for service repairs.
2.3. Camera mounting
To mount a camera please follow the instructions below:
- Unscrew the counter nut (2).
- Put the bracket to the wall in a desired mounting place (with a cable hole). Take the drill pattern and mark future drilling holes for screws and wires.
- Drill holes for screws, wires and base.
- Mount the camera base (1) using the supplied plugs and screws.
- If necessary, unscrew the service panel (3), mount the microSD card in the socket (4) and screw the camera service panel (3).
- Connect the camera wires.
- Adjust camera position.
- Tighten to the stop counter nut (2).

CAUTION!
Please note that the wall or ceiling must have enough strength to carry the IP Camera.
CAUTION!
In order to obtain declared degree of protection please seal the camera bracket to prevent water from getting inside. Furthermore, when installing the bracket on rough/uneven surfaces, please additionally seal the junction with appropriate sealing mass. Please pay special attention to any mounting holes and if they are loop-through ones, seal them too.
2.4. Starting the IP camera
To run the NOVUS IP camera you have to connect an ethernet cable between the camera and the network PoE switch with PoE support (IEEE 802.3af).
You can also power it from a 12VDC power supply compatible with the camera power supply specification.
The recommended way to start an IP camera and perform its configuration is a direct connection to the network switch which is not connected to other devices. To obtain further information about network configuration parameters (IP address, gateway, network mask, etc.) please contact your network administrator.
- Connection using network switch with PoE support

- Connection using external power supply and network switch

- Connection using external power supply directly to the computer
Information: Power supply adapter is not included. Please use power adapter with parameters specified in user ‘s manual.
2.5. Initial configuration via the web browser
The default network settings for the NVIP-5H-6511/F camera are :
- IP address= 192.168.1.200
- Network mask – 255.255.255.0
- Gateway – 192.168.1.1
- User name – root
- Password – pass
Knowing the camera’s IP address you need to appropriately set PC IP address, so the two devices can operate in one network subnet ( e.g. for IP 192.168.1.1, the appropriate address for the camera ranges from 192.168.1.2 to 192.168.1.254, for example, 192.168.1.60). It is not allowed to set the same addresses for the camera and PC computers. You can either set a network configuration (IP address, gateway, netmask, etc.) of the NOVUS IP camera yourself or select DHCP mode (DHCP server is required in this method in target network) by using a web browser or by NMS software. When you use the DHCP server check IP address lease and its linking with the camera MAC address to avoid changing or losing IP address during device operation or network/ DHCP server breakdown. You have to remember to use a new camera IP address after changing network parameters.
After the network setting configuration has been done, the camera can be connected to a target network.
2.6. Security recommendations for network architecture and configuration
CAUTION!
Below are shown security recommendations for network architecture and configuration of CCTV systems that are connected to the Internet to reduce the risk of unauthorized interference with the system by a third party.
- Absolutely change the default passwords and user names (if the device gives this possibility) of all applied network devices (recorders, cameras, routers, network switches, etc.) to the severe complexity password. Use lowercase and uppercase letters, numbers, and special characters if there is such a possibility.
- Depending on the available functionality in the order to restrict access to the used network devices at the administrator account level, it is recommended to configure the user’s accounts accordingly.
- Do not use the DMZ function (Demilitarized zone) in your router. Using that function you open the access to the recorder system from the Internet on all ports, which gives the possibility for an unauthorized interference with the system.
Instead of DMZ use port forwarding to redirect only the ports which are necessary for the performance of the connection (detailed information about ports of communication in different models of recorders, cameras, etc. can be found in the operating instructions). - Use routers with firewall function and make sure it is enabled and properly configured.
- It is recommended to change the default network communication port numbers of used devices if there is such a possibility.
- If used network devices has a UPnP feature and it is not used, turn it off.
- If used network devices has a P2P feature and it is not used, turn it off.
- If used network devices support HTTPS protocol for connection, it is recommended to use it.
- If used network devices support IP filtering for authorized connections function, it is recommended to use it.
- If the used recorder has two network interfaces it is recommended to use both of them to physically separate the network for cameras and the network for Internet connection. The only device in the system, accessible from the Internet will be the recorder – there will be no physical access directly to any camera.
NETWORK CONNECTION USING WEB BROWSER
3.1. Recommended PC specification for web browser connections
The requirements below apply to connection with an IP camera, assuming smooth image display in 2592×1944 resolution and 30 fps speed.
- CPU Intel i7 3 GHz
- RAM Memory min. 6 GB
- VGA card Nvidia GeForce 1GB
- Operating System Windows 10
- Network card 100/1000 Mb/s
3.2. Connection with IP camera via web browser
CAUTION!
To maintain correct operation as snapshot or video recording you must run the browser as an administrator.
You have to enter camera IP address in the web browser address bar. If IP address is correct user login window will be displayed:
In the Language box you can change the display language. Available languages: Polish, English and others.
CAUTION!
Default user is root and default password is pass. The camera will ask you to change the default password during the first login (recommended). To do this, check the Modify password option and then enter and confirm the new password. In order to log into the camera without changing the password, press the OK button. The message will be displayed each time you log in, until you change your password, or select the Do not show again option.
If you’re first time running the camera, you will see the screen as below.
To correctly camera working, you need a NetIPCamera plugin. You have to download and install it. To do it just click Save button, then Run, close IE browser, choose the language, click Install button and at the end click Finish button. After installation run IE browser.
CAUTION!
In Windows Vista/7/8/8.1/10 the ActiveX applet may be blocked by Windows Defender or User account control. In such case you should allow to run this applet, or simply disable these functions.
CAUTION!
If the installation fails, changing security settings for the IE browser is required. In order to do that, please select Enable for Initialize and script ActiveX controls not marked as safe and Download unsigned ActiveX controls option.
WWW INTERFACE – WORKING WITH IP CAMERA
4.1 Displaying live video

- Camera menu
• Live – opens the camera live video
• Config – opens the camera configuration menu
• Search – opens the camera playback
• Logout – button used to log out the current user - The buttons for changing the displayed stream and fluency – allow to change the displayed stream to Main stream, Sub stream and also allow you to choose between Real-time, Balanced and Fluent fluency.
- Alarm icons – icons showing the current status of some camera alarms.
- Live video window
- Image settings buttons – these buttons change the picture display mode in the live video preview

Original size 
Proper size 
Adapt 
Full screen - Function buttons – these buttons allow you to enable/disable some of the functions

Stop live view 
Start recording 
Snapshot 
Enable/Disable audio 
Zoom In/Zoom Out (digital) 
Lens control (disabled)
ELECTRIC CONNECTORS AND ACCESSORIES
5.1. MicroSD card installation
The camera supports microSD cards up to a maximum size of 256GB. In order to install the card properly, please follow the instructions below:
- Turn off the camera power.
- Unscrew the camera service panel (1).
- Mount microSD card in the socket (2).
- Screw the camera service panel (1).
- Turn on the camera.
- Check the microSD card by checking its capacity in the “System” -> “SD Card” tab.

FACTORY SETTINGS RESTORING
Restoring factory settings of the IP camera restores all default settings. This process takes about two minutes. NOVUS NVIP-5H-6511/F cameras allow to restoration defaults via:
- software (via web browser )
- software (via NMS IPTool)
- hardware (using reset button (RST))
6.1. Software factory settings restoring via a web browser
Restoring factory settings via a web browser allows you to optionally keep some settings, such as network settings. To restore default settings go to: the “Maintenance -> Backup and Restore” tab.
6.2. Software factory settings restoring via NMS IPTool
NMS IPTool (version 3.5 or later) allows restoring of factory settings. To restore settings via NMS IPTool, find the camera in the list of available devices and then, on the right side of the row click ,
. Then within 30 seconds disconnect the power of the camera. After reconnecting the camera, all settings are factory default.
6.3. Hardware factory settings restoring
In order to restore factory settings using reset button (RST), please follow the instructions below:
- Unscrew the camera service panel (1).
- Press the reset button (2) and hold on for 10 seconds.
- Release button.
- Screw the camera service panel (1).
- Log on after 2 minutes using default IP address (http://192.168.1.200) and default user name (root) and password (pass).

AAT SYSTEMY BEZPIECZEŃSTWA Sp. z o.o.
431 Pulawska St., 02-801 Warsaw, Poland
tel.: +4822 546 0 546, [email protected]
www.novuscctv.com
2021-10-14 DK MK
All rights reserved © AAT SYSTEMY BEZPIECZEŃSTWA Sp. z o.o.
References
NOVUS Professional solution for your security systems | Video surveillance (CCTV), Access control
NOVUS Professional solution for your security systems | Video surveillance (CCTV), Access control
NOVUS Profesjonalne rozwiązanie dla systemów zabezpieczeń | Telewizja przemysłowa CCTV, Kontrola dostępu






























