Pro Portable Wireless Speaker
Instructions

Technical Specifications
Name: Portable wireless speaker
Waterproof:lpx5
Speaker: 4010W
Wireless standard: 5.0
Transmission distance: 10M
Frequency effect: 80hz 20khz
Playback time: 4-6 hours
Charging voltage: 5V — 500mA
Battery type: 3.7V 1800mAh
Charge time: 4h for fully chargedFeatures
- Wireless connection
- Memory function, breakpoint resuming
- Support U disk! Tf card /AUX playback mode
- Built-in lithium Ion battery
- Support MP3 music format decoding
- Using high-fidelity speakers, the sound is more natural and delicate
- Level 5 waterproof
- 1+1 device serial connection function
Wireless Speaker

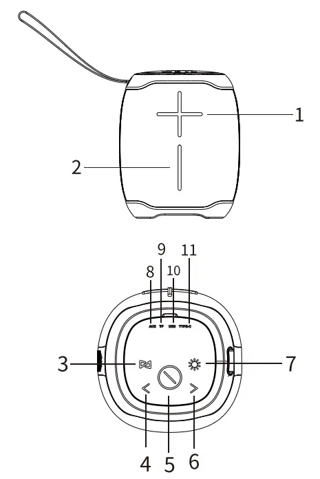
Button indication section view
- Button Volume up
- ButtOre•” Volume down
- Tandem Key Single click: Interconnection/Exit interconnection Long press: switch playback mode(radio mode unavailable for current version) In Bluetooth mode: Double-click to coil back/short press to answer/hang up a call
- Button Previous track
- Power Button Long press about 3s to power on/off Single click: playhouse music
- ButtOn m>.
Next track night Button Single click: switch the light mode - Double click: disconnect/reconnect Bluetooth Long press: turn the light on/off
- AUX 0dr: standard 3.5mm headphone jock
- TF Port: when a TF card is inserted, the default playback mode will be TF card
- US8 Port: when a U disk is inserted, the default playback mode will be U disk
- Type-C: Speaker charging
Directions for use
- Bluetooth pairing
1.1.Please don’t insert the TF card, U disk, or AUX cable before you turn it on, otherwise, the default playback mode is not Bluetooth.
1.2.Activate Bluetooth on your device ,find and choose “V12S Pro” to connect. You will hear a prompt tone when the connection is done. Now the music adventure begins. - Voice Prompt
2.1.There is a voice prompt when turned on/off
2.2. There is a voice prompt when the volume is increased to the maximum.
2.3.3-times voice prompt and then the speaker shut down automatically after detecting the low power. - Mode Switching
3.1.1t enters the wireless mode by default when turned on. Mode switching sequence: Bluetooth -TF card-USB mode-AUX mode - PIay Indicator
4.1. Powered on and stand by: white light flashes quickly, about 0.5s/time.
4.2.Playing Status : the white light flashes about 0.7s/time. - Charging Indicator Red light on when charging, red light off after fully charged.
- If no working status,the speaker will shut down automatically after 15 minutes. The playtime up to 7hrs varies from volume and play modes.
- 1+1 Interconnection Function
Turn both of them on, then click the tandem key once of any one of them, you will hear a voice prompt when the interconnection done, then you can enjoy the cure stereo sound. To use this function,please be sure that both the speakers is not connected to any Bluetooth device before they pair with each other.
Troubleshooting
- Auto shutdown: When the battery power is low,it will shut down automatically to avoid over-discharge, please charge it in time.
- Unable to play music: The music file storage path cannot be recognized by the player. Please put the music file in the root directory of the device.
- No sound when connected to the computer/tablet: the computer/tablet interface is connected incorrectly, please find the correct audio output port.
- There is no response to the buttons or the function is disordered: shut it down and try again.
- When the machine has crashed and is unable to be operated, please long press the power button for 8s to reboot it.
- 1f If you use the power adapter for charging, please use the kind of CCC Certified and compliant with standard power adapters.
Precautions:
Please fully charge the product before the first use. Do not disassemble or repair this product for any reason, otherwise, it may cause fire, electronic breakdown or even complete damage.
Do not soak the product in liquid for a long time even it is waterproof. If the charging is finished, please disconnect the charger from the device and unplug the charger. For continuous charging time, please no more than 8 hours. Please do not dispose of the battery in the old household garbage. Improper disposal may lead to battery failure. In case of fire or explosion, please comply with local regulations to handle this product, battery, and other accessories. It is forbidden to disassemble, impact, squeeze or put the battery into the fire.ln case of serious expansion, please do not continue to use it.
Do not repair this product by yourself.
Warranty Service
You are ensured to have our best after-sales service. Any quality problems of the products within 12 months from the date of purchase. Please email (pk9990©163.com) to the Sanag Customer Service Team and we will provide a solution within 24 hours.
This device complies with part 15 of the FCC Rules. Operation is subject to the following two conditions: (1) This device may not cause harmful interference, and (2) This device must accept any interference received, including interference that may cause undesired operation.
Any Changes or modifications not expressly approved by the party responsible for compliance could void the user’s authority to operate the equipment.
Note: This equipment has been tested and found to comply with the limits for a Class B digital device, pursuant to part 15 of the FCC Rules. These limits are designed to provide reasonable protection against harmful interference in a residential installation. This equipment generates uses and can radiate radio frequency energy and, if not installed and used in accordance with the instructions, may cause harmful interference to radio communications. However, there is no guarantee that interference will not occur in a particular installation. If this equipment does cause harmful interference to radio or television reception, which can be determined by turning the equipment off and on, the user is encouraged to try to correct the interference by one or more of the following measures:
– Reorient or relocate the receiving antenna.
– Increase the separation between the equipment and receiver.
– Connect the equipment into an outlet on a circuit different from that to which the receiver is connected.
– Consult the dealer or an experienced radio/TV technician for help.
RF warning:
This equipment complies with FCC radiation exposure limits set forth for an uncontrolled environment.


















