8000mAh Wireless Power Bank
Instruction Manual
2467
User Manual

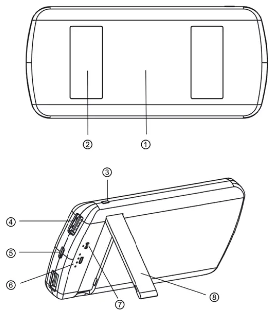
① Wireless Charging Area
② Nano Rubber
③ On/Off button
④ USB Port
⑤ Micro Port
⑥ Power Capacity Indicator
⑦ Wireless Charging Indicator
⑧ Phone Stand
Features:
Big capacity power bank with a phone stand and Nano rubber.
What’s included:
1* 8000mAh Wireless Power Bank
1* USB Charge Cable
1* User Manual
Tech Specifications
- Power: 5W
- 8000mAh Lithium Polymer Battery
- Input Power: 5V/2A
- USB Output: 5V/2A
- Wireless Output: 5V/1A
- Conversion Rate: >63%
- On: Long press
- Off: Double short press
LED Indicators:
- On/Off Button: Press once to view the remaining power capacity.
Instructions:
- Charging the power bank.
a. Charge the power bank Fully before initial usage.
b. Insert USB cable into AC wall adapter or computer USB port to charge the device. The LED indicator will flash BLUE when charging and will stop once fully charged. - Charging a mobile device:
a. To charge a mobile device. Insert USB charging cable to the device or place wireless charging enabled device on wireless charge area.
b. Press the on/off button, then LED indicators to show blue color. The device will start to charge automatically.
• Note: In order to charge devices, use only the accessory cable or the cable included with your own device by the manufacturer.
SAFETY PRECAUTIONS:
WARNING – When using this product, basic precautions should always be followed, including the following:
- Read all the instructions before using the product.
- Charge the power bank fully before initial use. The unit’s full performance is achieved only after 2 or 3 completed charge and discharge cycles.
- To reduce the risk of injury, close supervision is necessary when the product is used near children.
- Do not expose the device to moisture.
- Do not use the device in excess of its output rating. Overload outputs above rating may result in a risk of fire or injury.
- Do not use the device if damaged or modified.
- Damaged or modified batteries may exhibit unpredictable behavior resulting in fire, explosion, or risk of injury.
- Do not disassemble the device. Take it to a qualified service person when service or repair is required.
Incorrect reassembly may result in a risk of fire or injury. - Do not expose the device to fire or excessive temperature. Exposure to fire or temperatures above 212ºF may cause an explosion.
- Have servicing performed by a qualified repair person using only identical replacement parts.
- This will ensure that the safety of the product is maintained.
FCC Warning
This device complies with part 15 of the FCC Rules.
Operation is subject to the following two conditions:
- This device may not cause harmful interference, and
- this device must accept any interference received, including interference that may cause undesired operation.
Any changes or modifications not expressly approved by the party responsible for compliance could void the user’s authority to operate the equipment.
This equipment has been tested and found to comply with the limits for a Class B digital device, pursuant to part 15 of the FCC Rules. These limits are designed to provide reasonable protection against harmful interference in a residential installation. This equipment generates uses and can radiate radio frequency energy and, if not installed and used in accordance with the instructions, may cause harmful interference to radio communications. However, there is no guarantee that interference will not occur in a particular installation. If this equipment does cause harmful interference to radio or television reception, which can be determined by turning the equipment off and on, the user is encouraged to try to correct the interference by one or more of the following measures:
- Reorient or relocate the receiving antenna.
- Increase the separation between the equipment and receiver.
- Connect the equipment into an outlet on a circuit different from that to which the receiver is connected.
- Consult the dealer or an experienced radio/TV technician for help.
FCC RF exposure statement:
The equipment complies with FCC radiation exposure limits set forth for an uncontrolled environment. During the operation of the device, a distance of 15 cm surrounding the device and 20 cm above the top surface of the device must be respected.
Certification:
FCC ID:2APR2-190956
IEC62368
cTUVus UL2056 standard
Made in China


















