
QUICK SETUP GUIDE
All-in-One Shelf System
NS-HAIOR18 / NS-HAIOR18-C
PACKAGE CONTENTS
- All-in-One Shelf System
- Power cord
- FM antenna
- Remote control
- 2 AAA batteries
- Quick Setup Guide
FEATURES
- 80W RMS total power for a superior listening experience
- 20W RMS left and right channels play audio in surround sound
- 40W RMS built-in subwoofer for rich bass
- Bluetooth connects to devices wirelessly
- FM tuner lets you listen to the radio
- CD player provides a variety of audio options
- USB port supports MP3 playback
- 3.5 mm audio input connects to analog devices
- Headphone jack enables private listening
Before using your new product, please read these instructions to prevent any damage.
Front view

- SPEAKER
- SOURCE
- REMOTE SENSOR
- PLAY/PAUSE
- DISPLAY
- DISC SLOT
- VOLUME –/+
- STANDBY
- USB PORT
- LINE IN
- HEADPHONE JACK
- PREVIOUS
- NEXT
- EJECT DISC
- SUBWOOFER
Back panel

- FM ANTENNA JACK
- POWER ON/OFF
- AC POWER INPUT
Remote control
- STANDBY
- EJECT DISC
- REPEAT
- VOLUME +
- REWIND/PREVIOUS/TUNE –
- PRESET –/10 –
- FOLDER –/DIM –
- CLOCK
- MUTE
- SOURCE
- AUTO/STOP
- PLAY/PAUSE
- FAST FORWARD/NEXT/TUNE +
- VOLUME –
- PRESET+/10+
- FOLDER+/DIM+
- ALARM/PROGRAM
- Equalizer mode
A
INSTALLING THE REMOTE CONTROL BATTERIES
- Remove the remote’s battery cover.
- Insert two AAA batteries into the compartment. Make sure that the + and – symbols on the battery match the symbols in the compartment.
- Replace the cover.

SETTING UP YOUR SHELF SYSTEM
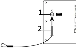
CONNECTING THE FM ANTENNA
1 Connect the FM antenna to the ANTENNA jack on the back of your shelf system.
2 Adjust the antenna until you find the best reception.
Back panel

- FM ANTENNA JACK
- FM ANTENNA
TURNING ON YOUR SHELF SYSTEM
1 Connect the power cord to the AC jack on the back of your shelf system, then plug the other end into a power outlet.
2 Press the power switch on the back to turn your shelf system ON.
Back panel

3 Press
(standby) on your shelf system or remote. The shelf system greets you with “HELLO.”
Front view

- STANDBY
SETTING THE CLOCK
1 In standby mode, press and hold
CLOCK on your remote.
Note: To enter standby mode, flip ON the power switch on the back of your shelf system, but do not press the
standby button the front.
2 Press
(previous) or
(next) to select a 12-hour (“12H”) or 24-hour (“24H”) clock display, then press
CLOCK to save.
3 Press
(previous) or
(next) to set the hour, then press
CLOCK to save.
4 Press
(previous) or
(next) to set the minutes, then press
CLOCK to save.
USING YOUR SHELF SYSTEM
BLUETOOTH
Pairing your device
- Make sure that your Bluetooth device (like a music player or phone) is turned on and within 33 feet (10 meters) of your shelf system.
- On your Bluetooth device, navigate to your Bluetooth settings:
• For iOS devices: Tap Settings > General > Bluetooth.
• For Android devices: Tap Settings > Wireless and networks. Tap to activate Bluetooth, then tap Bluetooth settings.
• For PC or Mac computers: See the instructions that came with your computer for more information. - Press
SOURCE repeatedly until the shelf system displays “BT.” Your shelf system enters Bluetooth pairing mode.
Note: If your shelf system isn’t paired in 15 seconds, “NOBT” appears on the screen.
Press
SOURCE repeatedly to cycle back to “BT” to re-enter pairing mode. For best results, try to enable Bluetooth on your Bluetooth device (step 2) and select the source on your shelf system (step 3) at the same time. - On your Bluetooth device, select NS-HAIOR18 in the list of devices. The shelf system beeps twice when paired.
Note: If prompted, enter “0000” as the passcode.
Playback
- Use your Bluetooth device to select audio.
- Make sure that your Bluetooth device’s volume is set to at least 50%.
- Control playback with your Bluetooth device, remote, and the controls on the shelf speaker system (play/pause, mute, previous/next).
USING THE FM RADIO
Note: Make sure that your antenna is attached.
- Press
SOURCE until the display says “FM.” - To select a radio station:
- To incrementally tune the radio frequency, press
(previous) or
(next). - To search for the next available station, press and hold
(previous) or
(next). - To skip to a preset station, press PRESET- or PRESET+ repeatedly.
Note: See “Adding a preset station“ for instructions about creating preset stations.
Adding a preset station
Note: You can program up to 20 stations.
- Select the station, then press PROG on your remote.
- Press PRESET – or PRESET + to select a program number.
- Press PROG again to save the preset station.
OR
To program all stations, press AUTO. Your shelf system automatically assigns a program number to each available station.
USING THE CD PLAYER
Your CD player works with CD, CD-R, and CD-RW formats.
1 Press
SOURCE until the display says “CD.”
2 Insert your CD label-side up into the disc slot. Playback begins automatically.
3 Use your remote or shelf system to control playback. See your online User Guide for more information.
4 When finished, press
(eject) to eject your disc.
CONNECTING WITH USB
Note: You can charge USB devices through the USB port (5V/1A output).
1 Connect a USB flash drive to your shelf system’s USB port.

2 Press
SOURCE repeatedly until the display says “USB.”
3 Use the controls on your shelf speaker system or remote to control playback:
• Press
or
to skip to the previous or next track.
• Press
or
to navigate through your USB flash drive’s folders.
• Turn the volume knob or press Vol+ or Vol- on your remote to adjust the volume.
CONNECTING WITH AN AUDIO CABLE
1 Connect a 3.5 mm audio cable (not included) from your audio device to the shelf system’s LINE IN jack.

2 Press
SOURCE repeatedly until the display says “LINE IN.”
3 Use your audio device to control playback and the controls on your shelf system to adjust the volume.
Note: Make sure that your audio device’s volume is set to at least 50%.
CONNECTING HEADPHONES
• Connect your headphones to the
headphone jack.

SPECIFICATIONS
- Dimensions (HxWxD): 5.51 x 11.22 x 18.5 in. (140 x 285 x 470 mm)
- Weight: 12.8 lbs. (5.8 kg)
- Power supply: ~100-240V AC, 50/60Hz
- Audio output power: 20W × 2 + 40W
- Frequency response: 20Hz~20kHz (±3dB)
- CD compatibility: CDs, CD-Rs, CD-RWs in standard or 3” size
- Supported file formats (USB): MP3
- FM frequency: 87.5 – 107.9 MHz
- Operating environment: 14°~95°F (-10°~35°C), 5~90% humidity
- Bluetooth: 2.4 GHz, 33 ft. (10 m) working distance
- Input jacks: USB and LINE IN
FCC STATEMENT
Changes or modifications not expressly approved by the party responsible for compliance could void the user’s authority to operate the equipment.
RSS-Gen & RSS-210 statement:
This device complies with Industry Canada licence-exempt RSS standard(s).
Operation is subject to the following two conditions: (1) this device may not cause interference, and (2) this device must accept any interference, including interference that may cause undesired operation of the device.
RSS-102 Statement:
This equipment complies with Industry Canada radiation exposure limits set forth for an uncontrolled environment.
ONE-YEAR LIMITED WARRANTY
Visit www.insigniaproducts.com for details.
CONTACT INSIGNIA:
For customer service, call 1-877-467-4289 (U.S. and Canada) or 01-800-926-3000 (Mexico) www.insigniaproducts.com
INSIGNIA is a trademark of Best Buy and its affiliated companies.
Distributed by Best Buy Purchasing, LLC
©2017 Best Buy. All rights reserved.
Made in China

















