Hood
User manual
CWB 6441 WN
01M-8863413200-2121-05![]()
Please read this user manual first!
Dear Valued Customer,
Thank you for preferring this Beko appliance. We hope that you get the best results from your appliance which has been manufactured with high quality and state-of-the-art technology. For this reason, please read this entire user manual and all other accompanying documents carefully before using the appliance and keep it as a reference for future use. If you hand over the appliance to someone else, give the user manual as well. Follow the instructions by paying attention to all the information and warnings in the user manual. Remember that this user manual may also apply to other models. Differences between models are explicitly described in the manual.
Meanings of the Symbols
The following symbols are used in various sections of this user manual:
![]() | Important information and useful hints about usage. |
![]() | WARNING: Warnings against dangerous situations concerning the security of life and property. |
![]() | Warning for the danger of fire. |
| Warning for electric shock. | |
![]() | Protection class against electric shock. |
![]()
This appliance has been manufactured in environmentally friendly modern plants without giving any harm to nature.
Important Safety and Environmental Instructions
1.1 General Safety
Important Safety Instructions Read Carefully And Keep For Future Reference This section contains safety instructions that will help protect from the risk of fire, electric shock, exposure to leak microwave energy, personal injury, or property damage. Failure to follow these instructions shall void any warranty.
- Beko products comply with the applicable safety standards; therefore, in case of any damage to the appliance or power cable, it should be repaired or replaced by the dealer, service center, or a specialist and authorized service alike to avoid any danger. Faulty or unqualified repair work may be dangerous and cause risk to the user. • This appliance is intended to be used in household and similar applications such as:
– Staff kitchen areas in shops, offices, and other working environments;
– Farmhouses
– By clients in hotels and other residential type environments;
– Bed and breakfast type environments. - Operate the appliance for its intended purpose only as described in this manual.
- The manufacturer cannot be held liable for damages resulting from improper installation or misuse of the product.
- This appliance can be used by children aged 8 years and above and persons with reduced physical, sensory or mental capabilities or lack of experience and knowledge if they have been given supervision or instruction concerning the use of the appliance in a safe way and understand the hazards involved.
- Children shall not be allowed play with the appliance. Cleaning and user maintenance shall not be made by children without supervision.
- The minimum distance between the supporting surface for the cooking vessels on the hob and the lowest part of your product must be at least 65 cm.
- If the instructions for installation of the gas hob specify a greater distance, this has to be taken into account.
- Make sure that your main power supply complies with the information supplied on the rating plate of the appliance.
- Never use the appliance if the power cable or the appliance itself is dammedaged.
- Prevent damage to the power cable by not squeezing, bending, or rubbing it on sharp edges. Keep the power cable away from hot surfaces and naked flame.
- Use the appliance with a grounded outlet only.
WARNING: Do not connect the appliance to the mains until the installation is fully complete. - Place the appliance in a way so that the plug is always accessible.
- Do not touch the lamps if they have operated for a long time. They can burn your hands since they will be hot.
- Follow the regulations set out by competent authorities on the discharge of the exhaust air (this warning is not applicable for use without flue).
- Operate your appliance after putting a pot, pan, etc. on the hob. Otherwise, high heat may cause deformation in some parts of your product.
- Turn off the hob before taking the pot, pan, etc. from it.
- Do not leave hot oil on the hob. Pans with hot oil may cause self-combustion.
- Pay attention to your curtains and covers since oil may catch fire while cooking food such as fries.
- The grease filter must be cleaned at least monthly. The carbon filter must be replaced at least every 3 months.
- The product shall be cleaned in accordance with the user manual. If the cleaning was not carried out in accordance with a user manual, there may be a fire risk.
- Do not use non-fire-resistant filtering materials instead of the current filter.
- Only use the original parts or parts recommended by the manufacturer.
- Do not operate the product without the filter and do not remove the filters while the product is running.
- In the event of be started any flame, de-energize your product and cooking appliances.
- In the event of be started any flame, cover the flame and never use water to extinguish it.
- Unplug the appliance before each cleaning and when the appliance is not in use.
- The negative pressure in the environment should not exceed 4 Pa (4 x 10 bar) while the hood for the electric hob and appliances running on another type of energy but electricity operate simultaneously.
- In the environment where the appliance is being used, the exhaust of devices running on fuel oil or gas, such as room heaters must be absolutely isolated or the device must be hermetical type.
- When connecting the flue, use pipes with a diameter of 120 or 150 mm. The pipe connection must be as short as possible and have as few elbows as possible. The danger of choking! Keep all the packaging materials away from children.
CAUTION: Accessible parts may become hot when used with cooking appliances. - The product outlet must not be connected to air channels that include other smoke.
- The ventilation in the room may be insufficient when the hood for the electric hob is used simultaneously with the devices operating on gas or other fuels (this may not apply to appliances that only discharge the air back into the room).
- Objects placed on the product may fall. Do not place any objects on the product.
- Do not flambe under your product. WARNING: Before installing the Hood, remove the protective films.
- Never leave high naked flames under the hood when it is in operation
- Deep fat fryers must be continuously monitored during use: overheated oil can burst into flames.
1.2 Compliance with the WEEE Directive and Disposing of the waste Product:
This product complies with EU WEEE Directive (2012/19/EU). This product bears a classification symbol for waste electrical and electronic equipment (WEEE).
This symbol indicates that this product shall not be disposed of with other household wastes at the end of its service life. Used devices must be returned to an official collection point for the recycling of electrical and electronic devices. To find these collection systems please contact to your local authorities or the retailer where the product was puchased. Each household performs an important role in recovering and recycling old appliances. Appropriate disposal of used appliances helps prevent potential negative consequences for the environment meant and human health.
1.3 Compliance with RoHS Directive
The product you have purchased complies with EU RoHS Directive (2011/65/EU). It does not contain harmful and prohibited materials specified in the Directive.
1.4 Package Information
Packaging materials of the product are manufactured from recyclable materials in accordance with our National Environment Regulations. Do not dispose of the packaging materials together with the domestic or other wastes. Take them to the packaging material collection points designated by the local authorities.
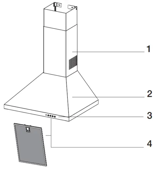
General Appearance
2.1 Overview
![]() | |
| CWB 6441 BN – CWB 6441 WN CWB 6441 XN – CWB 6441 XNH | CWB 9441 XN – CWB 9441 XNH |

- Chimney
- Body
- Control Buttons
- Aluminum Grease Filters
Technical Data
| Model | CWB 6441 BN – CWB 6441 WN – CWB 6441 XN -CWB 6441 XNH – CWB 9441 XN – CWB 9441 XNH |
| Supply Voltage and Frequency | 220-240V — 50 Hz |
| Lamp Power (W) | 2×4 |
| Motor Power (W) | 125 |
| Air Flow (m3/h) — 3. Level | 400 |
| Motor Insulation Class | F Sinifi |
| Insulation Class | Class II |
Using the Appliance
3.1 Use of the Rocker Switch
The hood is equipped with mechanical control.
- Pressing the “V1” – to turn the hood with a minimum speed.
- Pressing the “V2” – turns the hood with an average speed.
- Pressing the “V3” – turns the hood at maximum speed. Higher speed means more airflow.
- Press the ‘‘L’’ – to turn on the lights. Repeat pressing the button to turn off the lighting.
3.2 Things to Do for Energy Saving
- Ensure sufficient air intake to make the hood operate efficiently and with low operation noise during cooking.
- Set the fan level according to the density of steam in the kitchen. Use the high level only when needed. A lower fan level means less energy consumption.
- If dense smoke is expected in the kitchen, select a higher level of fan in advance. It is required to operate the hood much longer to remove the smoke already spread all over the kitchen.
- Turn off the hood when not in use.
- Clean or replace the filter at intervals stated, thus, the efficiency of the ventilation is increased and the risk of fire is eliminated.
3.3 Operating the Hood
- The Hood is equipped with a motor having various speed settings.
- For better performance, we advise you to use low speeds in normal conditions, and high speeds when smell and vapors are intensified.
- You can start the hood by pressing the desired speed level key.(V1,V2, V3 )
- You can illuminate the cooking area by pressing the light key L ( )
3.4 Lamp Replacement
Max: 4 W
| Lamp | Power (W) | Socket |
| 4 | 0.00E+00 | |
| Voltage (V) | Dimension (mm) | ILOCOS Code |
| 220 240 | 107 x 37 | DRBB/F-4-220- 240-E14-35/100 |
Disconnect the hood from the main supply. This appliance is equipped with 4 W spot LED lamps.
| Before replacing the light bulbs, disconnect the power supply of the hood. | |
| Do not touch the light bulbs when they are hot. | |
| Be careful not to touch the replaced light bulb directly with your hands. | |
![]() | You may procure lamps from Authorised Service Agents. |
Cleaning and Maintenance
- The charcoal filter is not washable and cannot be regenerated, and must be replaced approximately every 3 months of operation, or more frequently for particularly heavy usage (W).
![]()
– The Aluminium Grease Filters must be cleaned every month of operation.
– The Aluminium Grease Filters can be washed in the dishwasher (Z).![]()
– Clean the hood using a damp cloth and a neutral liquid detergent.
Setting Up the Device
| WARNING Please read safety instructions before setting up. | |
| WARNING Failure to install the screws or fix the device in accordance with these instructions may result in electrical hazards. | |
![]() | NOTE Please refer to page 93 for the installation guide |
Troubleshooting
| Troubleshooting | Reason | Help |
| The product does not work. | Check your fuse. | Your fuse might be closed, make it work. |
| The product does not work. | Check the electrical connection. | The mains voltage should be between 220-240 V. |
| The product does not work. | Check the electrical connection. | Check if the other products in your kitchen are working or not. |
| The lighting lamp does not work. | Check the electrical connection. | The mains voltage should be between 220-240 V. |
| The lighting lamp does not work. | Check the lamp switch. | The lamp switch should be in the “on” position. |
| The lighting lamp does not work. | Check the lamps. | The lamps of the product should not be faulty. |
| The air intake of the product is poor. | Check the aluminum filter. | The aluminum oil filter should be cleaned at least once a month under normal conditions. |
| The air intake of the product is poor. | Check the air vent flue. | The air vent flue should be in the “on” position. |
| The air intake of the product is poor. | Check the carbon filter. | For products with carbon filters, the filter should normally be changed every 3 months. |































