beko HNU51311SH Hood

Product Information: Hood
- Model Numbers: HNU51311SH, HNU71311S, HNU51311S, HNU51312S
- Operational Voltage: 220-240 Volts~50 Hz
- Complies with WEEE regulation
- Does not contain PCB
Important Safety and Environmental Instructions
- This appliance can be used by children aged 8 and above and by persons who have sufficient physical, sensory, or mental capacity and have adequate experience and knowledge, on the condition that they are supervised or informed about the safe use of the appliance and the risks involved.
- Children should not tamper with the appliance. Cleaning and maintenance procedures should not be performed by children unless they are controlled by their elders.
- Turn off the hob before taking the pot, pan, etc. from it.
- Ensure that where it can be easily accessed, the plug is in a place without getting jammed or crashed during installation. The supply cable should not be placed near the hob. In such cases, the cable may melt and cause a fire.
- The ventilation in the room may be insufficient when the hood for electric hob is used simultaneously with the devices operating on gas or other fuels (this may not apply to appliances that only discharge the air back into the room).
- In case of fire, cut off the power of your appliance before maintenance works. (Unplug the appliance or turn off the main switch).
- If the supply cable is damaged, it must be replaced by the manufacturer, its service agent, or similarly skilled personnel to avoid any danger.
Product Usage Instructions
- Read the user manual carefully before using the hood.
- Ensure that the plug is easily accessed and not jammed or crashed during installation. Do not place the supply cable near the hob.
- Turn on the hood before using the hob to ensure proper ventilation.
- Turn off the hob before taking the pot, pan, etc. from it.
- Do not allow children to tamper with the appliance or perform cleaning and maintenance procedures unless supervised by elders.
- In case of fire, cut off the power of your appliance before maintenance works. (Unplug the appliance or turn off the main switch).
- If the supply cable is damaged, contact the manufacturer, its service agent, or similarly skilled personnel for replacement to avoid any danger.
By following these instructions, you can ensure safe and proper usage of your hood appliance.
Please read this user manual first!
Dear Valued Customer,
Thank you for preferring this Beko appliance. We hope that you get the best results from your appliance which has been manufactured with high quality and state-of-the-art technology. For this reason, please read this entire user manual and all other accompanying documents carefully before using the appliance and keep it as a reference for future use. If you handover the appliance to someone else, give the user manual as well. Follow the instructions by paying attention to all the information and warnings in the user manual.
Remember that this user manual may also apply to other models. Differences between models are explicitly described in the manual.
Meanings of the Symbols
Following symbols are used in various sections of this user manual:
Important information and useful hints about usage.
WARNING: Warnings against dangerous situations concerning the security of life and property.
Warning for danger of fire.
Warning for electric shock.
Important safety and environmental instructions
General safety
- This appliance can be used by children aged 8 and above and by persons who have sufficient physical, sensory or mental capacity and have adequate experience and knowledge, on the condition that they are supervised or informed about the safe use of the appliance and the risks involved.
- Children should not tamper with the appliance. Cleaning and user maintenance procedures should not be performed by children un-less they are controlled by their elders.
- This appliance is intended for domestic use.
- The operational voltage of your product is 220-240 Volts~50 Hz.
- A grounded plug is connected to the power cable of your appliance. This cable should be inserted in a grounded socket.
- Electrical installation should be carried out by a qualified electrician.
- Installation performed by unauthorized individuals may cause operation with low performance, damage in the appliance and accidents.
- It should be prevented the feeder cable from jamming in a place or getting crashed during the installation. The supply cable should not be placed near the hob. In such cases, the cable may melt and cause fire.
- Do not plug in before the product is installed.
- Ensure that the plug is in a place where it can be easily accessed to cut off the power in case of any danger.
- Do not touch the lamps if they have operated for a long time. They can burn your hands since they will be hot.
- Kitchen extractor hoods are manufactured for normal cooking and domestic use. In case of using for other purposes, the product might break down and the warranty will be void.
- Follow the regulations set out by competent authorities on discharge of the exhaust air (this warning is not applicable for use without flue).
- Flammable food should not be cooked under the appliance.
- Operate your appliance after put-ting a pot, pan etc. on the hob. Otherwise, high heat may cause deformation in some parts of your product.
- Turn off the hob before taking the pot, pan etc. from it.
- Do not left hot oil on the hob. Pans with hot oil may cause self-combustion.
- Pay attention to your curtains and covers since oil may catch fire while cooking food such as fries. Ensure that the filters are changed on time. There is the risk of fire due to the oil building up on the filters that have not been changed on time.
Do not use non-fire-resistant filtering materials instead of the filter. - Do not operate the product without the filter, do not remove the filters while the product is running.
- In case of fire, cut off the power of the hood and cooking appliances.(Unplug the appliance or turn off the main switch).
- There is a risk of fire if the periodical cleaning is not performed properly.
- Cut off the power of your appliance before maintenance works.(Unplug the appliance or turn off the main switch).
- The negative pressure in the environment should not exceed 4 Pa (4 x 10 bar) while the hood for electric hob and appliances run-ning on another type of energy but electricity operate simultaneously.
- In the environment where the appliance is being used, the exhaust of devices running on fuel oil or gas, such as room heater must be absolutely isolated or device must be hermetical type.
- When connecting the flue, use pipes with a diameter of 120 or 150 mm. Pipe connection must be as short as possible and have as few elbows as possible.
- Children should not tamper with the appliance.
- For your safety, use a fuse of “MAX 6 A” in the hood assembly.
- Keep the packaging materials away from children since they may pose a danger to them.
- If the supply cable is damaged, it must be replaced by the manufacturer, its service agent or similarly skilled personnel to avoid any danger.
- In case of fire, cut the power of the hood and hob and cover the flame. Never use water to put out the fire.
- When cooking appliances are running, their accessible parts may be hot.
- This product is not intended for use by persons (including children) with reduced physical, sensory or mental capabilities, or lack of experience and knowledge, unless they have been given supervision or instruction concerning the use of the product by a person responsible for their safety.
- When the installation of the hood for electric hobs is complete, there should be a minimum distance of 65 cm between the appliance and electric hobs.
- The hood outlet must not be connected to air channels that include other smoke.
- Care must be taken when the appliance is used with devices that use air and fuel (e.g. heaters; water heaters that are operated with gas, diesel fuel, coal, wood; or water heaters) in the same environment. This may adversely affect combustion since the hood discharges the air in the environment.
- This warning does not cover the use without flue.
- The ventilation in the room may be insufficient when the hood for electric hob is used simultaneously with the devices operating on gas or other fuels (this may not apply to appliances that only discharge the air back into the room).
Compliance with the WEEE
Directive and Disposing of the Waste Product:
This product complies with EU WEEE Directive (2012/19/EU). This product bears a classification symbol for waste electrical and electronic equipment (WEEE).
This symbol indicates that this product shall not be disposed with other household wastes at the end of its service life. Used device must be returned to offical collection point for recycling of electrical and electronic devices. To find these collection systems please contact to your local authorities or retailer where the product was purchased. Each household performs important role in recovering and recycling of old appliance. Appropriate disposal of used appliance helps prevent potential negative consequences for the environment and human health.
Compliance with RoHS Directive
The product you have purchased complies with EU RoHS Directive (2011/65/EU). It does not contain harmful and prohibited materials specified in the Directive.
Package information
Packaging materials of the product are manufactured from recyclable materials in accordance with our National Environment Regulations. Do
not dispose of the packaging materials together with the domestic or other wastes. Take them to the packaging material collection points designated by the local authorities.
Vital Risk Poisoning Risk
Pic. 1: Poisoning

Pic. 2: Poisoning

DANGER!
Warning – Risk of Suffocation
Package materials are risky for children. Do not allow children to tamper with the packing materials.
DANGER!
Warning – Danger of Death
Vital risk, poisoning risk occurs due to the reabsorbed combustion gases. For use with an air outlet, do not use the appliance simultaneously with objects that expel poisonous gases, such as stoves with air circulation, which operates with gas, oil, wood or charcoal, bath stoves, water heaters, etc., unless sufficient air is supplied. Pic. 3
Objects with air circulation (e.g. stoves that are operated with gas, oil, wood or charcoal, bath stoves, water heaters) retrieves the air from the installation place and expel the waste gas by means of a waste gas system (e.g. flue). Air is absorbed by the appliance during operation from the kitchen and neighboring rooms. Vacuuming occurs if sufficient amount of air is not supplied. In this case, poisonous gases are absorbed backed from the flue and waste gas duct and return into the home. Pic. 1
For this reason, it should be ensured that the cle-an air is always supplied sufficiently. Pic. 2
WARNING!
Danger of fire!
Oil sludge on the oil filter may catch fire. Clean the oil filter at least once every month. Do not operate the appliance without the oil filter. change the charcoal filter at least once every three months.
Oil sludge on the oil filter may catch fire. Never work with flame near the appliance (e.g. flambé) It is only allowed to install the appliance near a heating equipment that is heated via solid fuel (e.g. wood or coal) provided that a closed cover that is not removable is available. There should be no sparks caused.
Hot vegetable oils and fat catch fire easily. Attention should always be paid to hot vegetable oils and fats. Do not try to put out the fire with water.
Turn off the hob. Carefully cover the flame with a lid, fire blanket or a similar object. Gas hobs that have no cooking utensils on them generate high heat during operation. A ventilat-on device placed on the hob may therefore get damaged or burn. Operate gas hobs only when there is a cooking utensil on them. Operating more than one gas hob simultaneously causes high heat. A ventilation device placed on the hob may therefore get damaged or burn. Do not operate two gas hobs at a high flame setting for more than 15 minutes. A burner with over 5kW (Wok) power is equal to the burner with two gas levels.
WARNING!
Risk of electric shock!
A faulty appliance may cause electric shock. Do not operate any faulty appliance. Unplug it or shut down the fuse from the fuse box. Call the customer service centre.
Repairs that do not comply with the instructions pose a threat. Repairs and change of faulty electric cables should only be performed by a customer services technician trained by our company. If the appliance is faulty, unplug it or shut down the fuse from the fuse box. Call the customer service centre.
Water leaking into the appliance may cause electric shock. High pressure or steam cleaners must not be used.
DANGER!
Risk of injury!
There is a risk of injury during installation due to the sharp edges. Always use protective gloves du-ring installation of the appliance.
All safety bolts and safety covers should be installed as stated in the user manual due to the risk of falling of the appliance.
The objects on the appliance may fall down. Do not put any objects on the appliance.
The LED light is too bright and may harm your eyes (hazard group 1). Do not directly look at the LED light for more than 100 seconds.
CAUTION
Accessible parts may get hot when used with the cooking equipment.
In case of repair procedures that have not been performed appropriately or according to the rules, please shut down the fuse or ump-lug the appliance. Repair works may only be carried out by the authorized service or authorized skilled personnel.
In case of repair procedures that have not been performed appropriately or according to the rules, please shut down the fuse or ump-lug the appliance. Repair works may only be carried out by the authorized service or authorized qualified personnel.
DANGER!
Risk of burning, risk of electric shock!
Wait for the appliance to cool down before cleaning or maintenance works. Shut down the fuse or unplug the appliance.
Risk of damage occurs due to the humidity intrusion into the electronics. Never clean the controllers with a wet cloth.
Surface may be damaged due to improper cleaning. Clean the stainless steel surfaces only in the direction of brushing. Do not use stainless steel cleaner for controllers. The surface may be damaged due to abrasive or rubbing cleaning agents. Never use abrasive or rubbing cleaning agents.
General appearance
Overview

- Air Exhaust Flue
- Body
- Hob Lighting
- Control Panel
- Aluminum Oil Filter
Technical Data
This appliance complies with the European CE Directive numbered 2014/30/EU (Electromagnetic Compatibility Directive) and 2014/35/EU (Low Voltage Directive (LVD)).
- Supply Voltage 220-240V 50 Hz.
- Lamp Power (W) 2×3 W
- Motor Power (W) 1×185 W
- Motor Insulation Class F
- Insulation Class CLASS I
Technical and design modifications are reserved. The dimensions presented in the technical drawings are in mm.T his image is only provided to inform about the parts of the appliance. Parts may vary according the model of the appliance. Pictures are provided in a representative manner.
Scaled Technical Drawing

Package Content

- Hood
- Ø120 mm Plastic Flue
- User Manual
- Installation Draft
- 4 X 3,9 X 32 Screw ( Used for Installation of Hood )
- 3.5 x 9.5 Screw (Used for Installation of Plastic Flue)
Installation and Use of the Appliance
Position of the Appliance

- Attention should be paid to the distance bet-ween the hob and hood before installation. This distance should be 65 cm.
- The measure must be taken from the grill sur-face on gas hobs and from the glass surface on electric hobs.
Your new appliance is especially energy efficient. You will find here some advises on how to save more energy while using the appliance, and required to destroy the appliance in a proper way.
Things to do for energy saving;
- Ensure sufficient air intake to make the hood operate efficiently and with low operation noise during cooking.
- Set the fan level according to the density of steam in kitchen. Use the high level only when needed. A lower fan level means less energy consumption.
- If dense smoke is expected in the kitchen, select a higher level of fan in advance. It is required to operate the hood much longer to remove the smoke already spread all over kitchen.
- Turn off the hood when not in use.
- Clean or replace the filter at intervals stated, thus, the efficiency of the ventilation is increased and the risk of fire is eliminated.
Installation of the Appliance
CAUTION
Use protective gloves and glasses while performing drilling and cut-ting operations.

Drilling Mounting Holes
- Adhere the installation template provided with the appliance onto the surface on which the installation will be carried out.
- Drill the holes indicated on the installation draft with A, B, C, D using a Ø4 mm drill bit. Pic. 6

- Cut the lower surface of the cabinet where the hood will be installed in the dimensions specified in the technical drawing (Pic. 7).

- 3.5 x 9.5 Screw
- Ø 120 mm Plastic Flue
- Body Valve Pin Socket
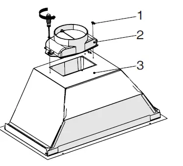
- Attach the plastic flue contained in the package to the body of the appliance using 2 screws 3.5 x 9.5. (Pic. 8) Do not rub it against the surface. Pic. 8

- Air discharge pipe
- Air exhaust flue of the hood
- Attach the air discharge pipe to the air exhaust flue and fasten via clamp (Pic. 9).
CAUTION
As the bends and elbows in the aluminum pipe will cause decrease in the air suction power, using these must be avoided as much as possible.
- Kitchen cabinet bottom view
- 4 X 3,9 X 32 hood installation screw
- Place the hood into the kitchen cabinet and attach the hood to 4 installation holes drilled before (Pic. 10).
Use of the Appliance
Use of the Rocker Switch

- Bring the lamp switch to position ‘0’ to turn off the lamp.
- Bring the lamp switch to position ‘1’ to turn on the lamp.
- Bring the motor switch to position ‘0’ to turn off the motor.
- You can operate the motor in the 1st speed level minimum and in the 3rd speed level maximum according to the density of cooking steam.
Lamp Replacement
Candle Bulb Replacement
WARNING
Cut the power supply of the hood. Lamps may burn your hands while hot, so wait for them to cool down.

Pic. 11: Candle Bulb Replacement
- Remove the aluminum cartridge filter. Remove the faulty lamp and replace it with the one having the same value. Pic. 11
NOTE:
If the appliance breaks down or gets damaged, shut down the fuse or unplug the appliance and call the authorized service agent.
NOTE:
If the supply cable is damaged, it must be replaced by the manufacturer, its service agent or similarly qualified personnel to avoid any danger.
NOTE:
Shut down the fuse or unplug the appliance in case of breakdown of the lamps of the appliance. Replace immediately the faulty lamps in order to prevent other lamps from being overloaded (wait for the lamps to cool down first).
Cleaning and Maintenance
CAUTION
Risk of damage due to the corrosion damage. Always operate the appliance while cooking in order to prevent condensate formation. Condensate may cause corrosion damage. Replace immediately the faulty lamps in order to prevent ot-her lamps from being overloaded. The risk of damage occurs due to the humidity intrusion to the electronics. Never clean the controllers with a wet cloth. Surface may be damaged due to improper cleaning. Clean the stainless ste-el surfaces only in the direction of brushing. Do not use stainless steel cleaner for controllers. The surface may be damaged due to abrasive or rubbing cleaning agents. Never use abrasive or rubbing cleaning agents. There is the risk of damage due to backflow of condensate. Install the air out-let duct with a slope of 1°, slightly downwards the appliance.
CAUTION
You can use this appliance in waste air mode and in air circulation mode.
Waste air mode
Absorbed air is cleaned by oil filters and expelled by means of a piping system. (Pic. 3) If you want to transfer the waste air to a disabled smoke or waste gas flue, you have to obtain permission from an authorized flue cleaning specialist. If the waste air is expelled over the external wall, a telescopic wall frame should be used.
Absorbed air is cleaned by oil filters and an active carbon filter and retransferred to the kitchen. Pic. 4
NOTE!
The waste air should not be transferred to a smoke or waste gas flue, nor to a flue used for ventilation of the places where heating sources are installed.
To seal the materials causing odour in the circulating air mode, you should install an active carbon fil-ter. Consult your authorized dealer to learn different opportunities for operating the appliance in the circulating air mode. You can buy accessories necessary for this procedure from relevant points of sale, authorized service agents or online sales center.
The appliance you have purchased is suitable for use with carbon filter. To attach the carbon filter;
- Place the carbon filter into its housing. Pic. 15/1
- Turn the carbon filter clockwise to make sure that it is tightly inserted. Pic. 15/2

If the carbon filter is not properly attached, it can fall and damage your product.
CAUTION
Never wash the carbon filters. Keep the carbon filters away from children.
CAUTION
Cleaning and user maintenance should not be performed by children without supervision.
- The surface may be damaged due to abrasive or rubbing cleaning agents. Never use abrasive and rubbing cleaning agents. Acquire the cleaning agents and protective materials suitable for your appliance form your authorized service. The surface of the appliance and the controllers are sensitive to scratching.
- Clean the surfaces with a soft and damp cloth, dishwashing liquid or a soft glass cleaning agent. Soften the dried and adhered dirt with a damp cloth. Do not scratch out!
- Dry cloths, sponges that may scratch, materials that require rubbing, sand and the other effective cleaning agents containing mineral water, acid or chloride are not suitable.
- Clean the stainless steel surfaces only in the direction of grinding.
- Do not use stainless steel cleaning agent or wet cloths for control units. Cleaning the metal oil filters Used metallic oil filters hold the humidity generated in the kitchen and the oily particles contained within the steam. In case of regular use (1 to 2 hours per day), clean the metal oil fil-ters about once every 3 months.
- Do not use over-effective, acidified or corrosive cleaning agents.
- For the cleaning of the metal oil filters, use a damp cloth to clean holding parts of metal oil filters inside the appliance.
- You can clean the metal oil filters in the dish-washer or by hand.
- Do not apply spray cleaning agents directly on the appliance.
- Do not put flammable and/or heavy decorative items on the appliance.
Washing in the Dishwasher
- In case of washing in the dishwasher, slight dis-coloration may occur. This does not affect the function of the metal oil filter.
- Do not wash heavily soiled metal oil filters together with the dishes.
- Place the metal oil filters in the dishwasher loosely or freely. Metal oil filters should be placed in the dishwasher without being jammed.
Washing By Hand
- You can use a special oil dissolving agent for stubborn dirt. You can get this agent from the authorized sales center.
- Soften the metal oil filter in hot water containing dishwashing liquid.
- Use a brush for cleaning and wait for the liquid on the metal oil filter to be drained well. Rinse the filters well after cleaning.
- Technical specifications and this manual may be changed without prior notice.
- This appliance complies with the Regulation for Supervision of the Waste Electric and Electronic Equipment.
- This hood is designed to be used over the hob. Make sure that the wall can bear the weight of the hood. Cost of crushing, cutting and similar procedures to be carried out on the wall or cabinet during installation should be covered by the consumer. The hood may be used with a flue system that discharges the air, or without a flue (by attaching the carbon filter). Pay attention to the matters that may be encountered before or during the installation. Installation should be performed by the authorized service agent. Installation should be carried out by an authorized specialist who has knowledge of ventilation. Service life of the appliance identified by the Ministry of Industry (period of availability for the spare parts required for the performance of functions of the appliance) is 10 (ten) years.
- Your appliance must be kept in its original packaging to avoid damage to its components during handling and transportation.
Keep the appliance in its normal position during handling. - Do not drop the appliance and protect it against damage during transportation. Warranty does not cover the faults and damages occurred during transportation after delivery of the appliance to the customer.



















