Wireless Speaker
MO-R88BT
Instruction Manual 
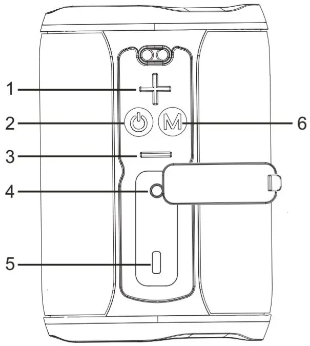
Key and slot function

| 1 | Volume Up \ Skip Forward |
| 2 | Power on & off\ Play\Pause\Answer |
| 3 | Volume Down \ Skip Backward |
| 4 | Aux input |
| 5 | Type C charging socket |
| 6 | Mode |
Operating your speaker
Bluetooth Mode
Press
to turn on the device and enter Bluetooth Mode, Follow the operating instructions for Bluetooth connection on your device and allow searching bluetooth speaker. Usually this is done by going to “set up” menu, connect for “Bluetooth” function and then selecting the option to search for Bluetooth device “MO-R88BT ”, Your device (mobile phone, PC, tablet, etc.) will detect the Bluetooth speaker and connect. If your phone requires a password or a PIN number, enter 0000 and confirm it.
After connection, you can adjust volume and select last/next song by long pressing
and
. If you want to get the coming phone call, short press
, then you can make phone call by the speaker. Press again to end the phone call.
Aux-in Mode
Press
to turn on the device, then connect with the speaker by Aux in cable to PC, Mobile or other audio source by Aux in cable. And then audio signal can be played by the speaker from external audio resource. During Aux-in mode, press the
/
for volume down/ up
Charging
Charge the speaker through the type C cable from a computer or through a DC adaptor. LED Indication will be red during charge, when fully charged, the light will be off.
True Wireless Stereo Bluetooth connection (TWS function for two speakers)
- Power on two speakers and the default setting is the Bluetooth mode, the LED light flash (a sound is heard confirming the speaker is set into Bluetooth pairing mode).
- Turn off the Bluetooth function on your phone or other Bluetooth device, long press
of either speaker and (a sound is heard confirming the TWS function opened), after few seconds two Bluetooth speakers voice prompt, when you see one of speaker LED light is flashing and another LED light is on but not flashing, it shows two speakers Bluetooth connected - Open the mobile phone Bluetooth – search the “MO-R88BT ”
- Find the name “MO-R88BT ” – select the connection
- Bluetooth speaker voice prompt, it show Bluetooth connected, then you will enjoy the music from two speakers.
- Long Press
again if you want to quit the TWS function and enjoy music by 1 speaker.
Note: The default password-less, if some equipment prompt for a password, enter 0000.
Illumination Mode
Note: Double click
button to change the illumination mode, or for turning off/on.
Product specifications:
| Power: | 2*8W |
| Frequency response: | 20Hz-20KHz |
| Bluetooth: | V5.0 |
| TWS function: | Yes |
| Drivers: | 40mm |
| Battery: | 1500mAh |
| Playing time: | 4-5 hs (medium volume) |
| Charging time: | 4-5 hs |
| Range: | 10M |
| It include: | User Manual, Charging cable |
| Unit meassures : | 90*90x128mm |
| Unit Weight: | 478g |
Note:
Do not let children play with the product
Do not throw the product into fire
Do not use in very humid or high/low temperature environments. Product performance will decrease when used in such environments.

















