UTS00203E-HAZE, UTS00203E-ALY 7.5 FT Steel Umbrella
User Guide

UTS00203E-HAZE, UTS00203E-ALY 7.5 FT Steel Umbrella
Item # 1001 580 406
1001 580 407
Model # UTS00203E-HAZE UTS00203E-ALY
Questions, problems, missing parts?
Before returning to the store,call Customer Service.
8 a.m. – 7 p.m., EST, Monday – Friday, 9 a.m. – 6 p.m., EST, Saturday
1-877-527-0313
HOMEDEPOT.CA
THANK YOU
We appreciate the trust and con dence you have placed in StyleWell through the purchase of this umbrella. We strive to continually create quality products designed to enhance your home. Visit us online to see our full line of products available for your home improvement needs. Thank you for choosing StyleWell !
Warranty
1 YEAR FRAME AND FABRIC WARRANTY
WHAT IS COVERED
We warrant the frame and fabric to be free of manufacturing defects to the original purchaser for one year.
WHAT IS NOT COVERED
It remains the customer’s responsibility for freight and packaging charges to and from our service center. This warranty does not cover comme, freezing and abusive use. In addition, purchased parts are not covered under this warranty. We reserve the right to make substitutions with similar merchandise, if the model in question is no longer in production.
Contact the Customer Service Team at 1-877-527-0313 or visit www.Homedepot.ca.
Pre-Assembly
PLANNING ASSEMBLY
Read all instructions before assembly.
To avoid damaging this product, assemble it on a soft, non- abrasive surface such as carpet or cardboard.
NOTE: More than one person may be required to complete the assembly of this product.
Pre-Assembly (continued)
PACKAGE CONTENTS

| Part | Description | Quantity |
| A | Umbrella shade | 1 |
| B | Umbrella pole | 1 |
Assembly
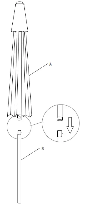
Connecting the umbrella shade to the umbrella pole
- Place the umbrella shade (A) over the umbrella pole (B).
- Hold down the tab on the umbrella pole (B) while you slide the umbrella shade (A) down into the umbrella pole (B) until the two pieces snap into place.

Operation
Opening the umbrella
- Shake the umbrella fabric before opening the umbrella.
- Push the button located on the umbrella shade (A) and move upwards.

Closing the umbrella
Push the button on the umbrella shade (A) and move downwards.

Storing the umbrella
When not in use close the umbrella and store it

Care and Cleaning
- For best results, clean the frame and fabric with a damp cloth, and dry thoroughly. This will prevent mildew by removing dirt particles that may accumulate.
- Do not clean with abrasive materials, bleach or solvents.
- Store the umbrella in a dry, sheltered place when not in use.
- Keep the umbrella out of fire, extreme heat, freezing conditions, and inclement weather such as rain, hail, sleet, snow, or wind.
Questions, problems, missing parts? Before returning to the store, call StyleWell Customer Service.
8 a.m. – 7 p.m., EST, Monday – Friday, 9 a.m. – 6 p.m., EST, Saturday
1-877-527-0313
HOMEDEPOT.CA
Retain this manual for future use

















