

23120-56
www.russellhobbs.com

Read the instructions, keep them safe, pass them on if you pass the appliance on. Remove all packaging before use.
IMPORTANT SAFEGUARDS
Follow basic safety precautions, including:
This appliance can be used by persons with reduced physical, sensory or mental capabilities or lack of experience and knowledge if they have been supervised/instructed and understand the hazards involved. Children must not use or play with the appliance.
Keep the appliance and cable out of reach of children.
Unplug the appliance before assembly, disassembly, or cleaning.
If the cable is damaged, it must be replaced by the manufacturer, its service agent, or someone
similarly qualified, to avoid a hazard.
- Don’t put the appliance in liquid, don’t use it in a bathroom, near water, or outdoors.
- Don’t leave the appliance unattended while plugged in.
- Route the cable so it doesn’t overhang, and can’t be tripped over or caught.
- Don’t run the appliance empty, it may overheat.
- Don’t fit an attachment or accessory other than those we supply.
- Don’t use the appliance for any purpose other than those described in these instructions.
- Don’t operate the appliance if it’s damaged or malfunctions.
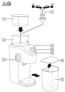
PARTS
- Hopper lid
- Hopper
- Grind control
- Cup selection
- Ground coffee container
- Container lid
- Grinding wheel
- Start/top button
- Light
FILLING
- Unplug the appliance.
- Set the appliance on a stable, level surface.
- Remove the hopper lid.
- Put coffee beans into the hopper.
- Don’t fill above max mark.
- Refit the hopper lid pressing it all the way down. Your coffee grinder will not operate unless the hopper lid is correctly fitted.
USING
- Turn the ground control to the setting you require for the ground coffee (anticlockwise = fine, clockwise = coarse).
- You need a fine grind for espresso coffee, a medium grind for filter coffee, and a coarse grind for percolators and cafetières.
- Move the cup selection control to the number of cups you need ground coffee for (2-12).
- Press the start/stop button. The light will flash blue.
- Press down on the hopper lid to start your grinder.
- Your coffee grinder will grind the coffee according to the number of cups selected, then stop automatically.
- To switch off manually, press the start/stop button.
TIPS
- Grind only what you need.
- You can keep coffee beans in a sealed container for about two weeks, but ground coffee starts to lose flavor as soon as it comes out of the grinder.
CARE AND MAINTENANCE
- Remove the hopper lid.
- Remove the grinding wheel by twisting it clockwise and lifting it out of the hopper.
- Wipe the grinding wheel, hopper, and coffee grinder housing with a soft, damp cloth.
- Wash the hopper lid, ground coffee container, and lid in warm soapy water or in the top rack of a dishwasher.
- To refit the grinding wheel, push it downwards and turn it anticlockwise to lock.
RECYCLING
To avoid environmental and health problems due to hazardous substances, appliances, and rechargeable and non-rechargeable batteries marked with one of these symbols must not be disposed of with unsorted municipal waste. Always dispose of electrical and electronic products and, where applicable, rechargeable and non-rechargeable batteries, at an appropriate official recycling/collection point.
23120-56 220-240V~50/60Hz 140W
23120-56 220-240В~50/60Гц 140 Вт
T22-9002152


















