Hunter 51583 Flat Matte Black Gallegos

WARNING
- To reduce the risk of fire, electrical shock, or personal injury, mount the fan directly from the building structure and/or an outlet box marked acceptable for fan support of 70 lbs (31.8 kg) and use the mounting screws provided with the outlet box.
- To avoid possible electrical shock, before installing or servicing your fan, disconnect the power by turning off the circuit breakers to the outlet box and associated wall switch location. If you cannot lock the circuit breakers in the off position, securely fasten a prominent warning device, such as a tag, to the service panel.
- To reduce the risk of electric shock, this fan must be installed with an isolating wall control/switch.
- To reduce the risk of personal injury, do not bend the blade brackets when installing the blade brackets, balancing the blades, or cleaning the fan. Do not insert foreign objects in between rotating fan blades.
- This appliance can be used by children aged from 8 years and above and persons with reduced physical, sensory or mental capabilities or lack of experience and knowledge if they
have been given supervision or instruction concerning use of the appliance in a safe way and understand the hazards involved. Children shall not play with the appliance. Cleaning and user maintenance shall not be made by children without supervision. It is recommended that children be supervised to ensure that they are not using the appliance improperly.
Caution
- All wiring must be in accordance with national and local electrical codes ANSI/NFPA 70. If you are unfamiliar with wiring, use a qualified electrician.
- Use only Hunter replacement parts.
This equipment has been tested and found to comply with the limits for a Class B digital device, pursuant to part 15 of the FCC Rules. These limits are designed to provide reasonable protection against harmful interference in a residential installation. This equipment generates, uses and can radiate radio frequency energy and if not installed and used in accordance with the instructions may cause harmful interference to radio communications.
However, there is no guarantee that interference will not occur in a particular installation. If this equipment does cause harmful interference to radio or television reception, which can be determined by turning the equipment off and on, the user is encouraged to try to correct the interference by one or more of the following measures:
- Reorient or relocate the receiving antenna.
- Increase the separation between the equipment and receiver.
- Connect the equipment into an outlet on a circuit different from that to which the receiver is connected.
- Consult the dealer or an experienced radio/TV technician for help.
Caution: modifications not approved by the party responsible for compliance could void user’s authority to operate the equipment.
This device complies with Part 15 of the FCC Rules. Operation is subject to the following two conditions: (1) This device may not cause harmful interference, and (2) this device must accept any interference received, including interference that may cause undesired operation.
Here are the tools you’ll need to complete your installation

Here is what comes in your box
We recommend that you pull everything out of the box and lay it out. We have grouped the drawn components below with the hardware you’ll need for those parts. The screws below are drawn to scale to make it easier to identify what piece of hardware is needed to install each component.
Hunter Pro Tip:
Do not discard the hardware bags or mix parts from different bags. Make note of the symbol printed on each hardware bag. The symbols can be used to identify the appropriate hardware for each step.


Choosing the Right Installation Location
You probably bought this fan with a location in mind. Let’s check below to make sure it is a good fit.
Check the room dimensions:
Check the outlet box:
You must be able to secure the fan to the building structure or fan-rated outlet box.
Checking the Ceiling Angle:
If you have a flat ceiling:
Hang your fan by a standard downrod. Some fans come with a shorter downrod for a Low Profile installation.
If you have an angled or vaulted ceiling:
- You will need a longer downrod. (sold separately at HunterFan.com)
- If your ceiling angle is greater than 34°, you will also need an Angled Mounting Kit. (Sold separately at HunterFan.com)
Angled Mounting
A little more information on Angled Mounting:
For optimum performance and appearance, a longer downrod should be used with your Hunter ceiling fan when installing on high or angled ceiling. If your ceiling is angled greater than 34° you will also need an Angled Mounting Kit. Longer downrods and the Angled Mounting Kit are sold separately at HunterFan.com.
Determining if you need an Angled Mounting Kit:
Fold on the dotted line. Place against edge againts the wall. Slide towards the ceiling. If the guide touches the wall but not the ceiling, you need an angled mounting kit.

Installing the Ceiling Bracket
You have two options for installation. Pick which one works best for your location. Remove any existing bracket prior to installation. Only use the provided Hunter ceiling bracket that came in your fan’s box.
Hunter Pro Tip:
The machine screws are the ones that came with your outlet box.

Installing the Downrod
Follow below if you are using the downrod that came pre-assembled in your box. Need to install a longer or shorter downrod? Check out the guide at the end of this manual.

Hanging the Fan

NOTICE
To prevent damage to fan, ALWAYS lift holding either the fan housing or the downrod.Place the downrod ball into the slot in the ceiling bracket.
Progress Check:
Your fan should look like this.

Wiring the Fan
We know the wiring is hard. Let’s make it easier.
Follow these steps to get your fan wired quickly and safely. Follow the route below that best matches your wall switch setup. If you are unfamiliar with wiring or uncomfortable doing it yourself, please contact a qualified electrician.
You are going to need these:
4 Wire Nuts (these are in the bag)
Hunter Pro Tip
Here is how to connect the wires:
Push the bare metal ends of the wires together and slide a wire nut over them. Then, twist the wire nut clockwise until tight. Give it a gentle pull to make sure none of the wires are loose.

Hunter Pro Tip
Have extra wiring?
Turn the wires upward and push them carefully back through the hanger bracket into the outlet box. Spread the wires apart, with the grounded wires on one side of the outlet box and the ungrounded wires on the other side of the outlet box. Make sure that the wires are still attached to the wire nuts.
Installing the Canopy
Installing the Blades
IMPORTANT
NOTE: Follow the instructions on the blade. Installing it incorrectly could result in your fan not functioning.
Note: Fan style may vary.
Assembling the Switch Housing
WARNING
FAN FALL HAZARD
Make sure all screws are tight to secure the light fixture.
Installing the Cap
Note: Fan style may vary.
Installing Wall Control
- Turning off the power
Ensure the power is OFF at the outlet box and wall switch location before proceeding with installation.
WARNING To avoid possible electrical shock, before installing your fan, disconnect the power by turning off the circuit breakers to the outlet box associated with the wall switch location. - Preparing the Wall Switch
After removing the switch plate cover, remove all wiring from the switch.
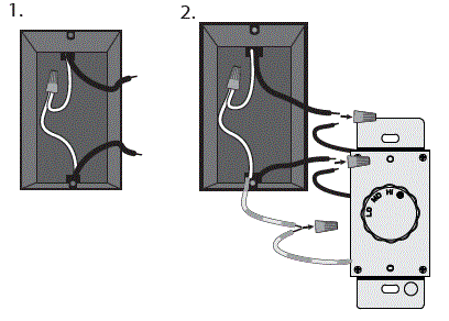
- Wiring the Wall Control
Using the wire connectors, connect each black wire from the wall control to a black wire from the switch box. Connect the green with yellow stripe wire to the grounding wire from the switch box.
Note: If two white wires are present in the switch box, connect them to each other if they are not already connected.
- Installing the Wall Control
Insert the wall control into the outlet box and secure the two metal tabs to the tabs on the switch box using the two flat head screws that came with the switch box.
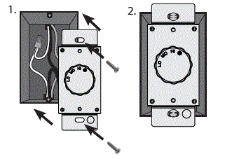
- Installing the Wall Plate
Remove the knob from the wall control and mount the faceplate (not included) to the wall control using the two #6-32 screws you removed earlier from the faceplate.
- Installing the Wall Plate (CONT)
Reattach the knob onto the wall control and turn it to the left for the OFF position. - Turning on the power
Reversing the Fan
Troubleshooting
Fan Doesn’t Work
- Push the motor reversing switch firmly left or right to ensure that it is engaged.
- Check the circuit breaker to ensure the power is turned on.
- Make sure the blades spin freely.
- Turn off power from the circuit breaker, then loosen the canopy and check all the connections according to the wiring diagram.
Excessive Wobbling
- Make sure the blades are properly installed on the blade iron posts.
- Turn the power off, support the fan carefully, and check that the hanger ball is properly seated.
- Use the provided balancing kit and instructions to balance the fan
Noisy Operation
- Make sure the blades are properly installed.
- Check to see if any of the blades are cracked. If so, replace all of the blades.
Cleaning the Fan
Use soft brushes or cloths to prevent scratching. Cleaning products may damage the finishes.
Limited Lifetime Warranty
Hunter Fan Company grants this limited warranty to the original purchaser of this Hunter ceiling fan. This document can be found at www.HunterFan.com.
Thank you for choosing Hunter!
How Can Warranty Service Be Obtained?
Proof of purchase is required when requesting warranty service. The original purchaser must present a sales receipt or other document that establishes proof of purchase. Hunter, at its sole discretion, may accept a gift receipt. To obtain service, contact Hunter Fan Company online or by phone. www.HunterFan.com/Support/Contact-Us/
1-888-830-1326
Please do not ship your fan or any fan parts to Hunter. Delivery will be refused.
What Does This Warranty Cover?
Motor — Limited Lifetime Warranty
If any part of your ceiling fan motor fails during your ownership of the fan due to a defect in material or workmanship, as determined solely by Hunter, Hunter will provide you with a replacement fan free of charge.* The foregoing limited warranty applies only to the motor itself and does not apply to electronic controls – such as remote control transmitters, remote control receivers, or capacitors – used in conjunction with the motor. Such electronic control items are included in the one-year limited warranty below.
Other — One-Year Limited Warranty
Except as otherwise indicated throughout this warranty, if any part of your Hunter ceiling fan fails at any time within one year of the date of purchase due to a defect in material or workmanship, as determined solely by Hunter, Hunter will provide a replacement part free of charge.*
Light Kits — Warranty May Vary
Light kits are included in the one-year limited warranty. However, you may qualify for additional warranty coverage if your fan includes one of the following:
- LED Light Kits — Three-Year Limited Warranty
If your LED light kit module (not including glass components) or LED bulb fails at any time within three years of the date of purchase due to a defect in material or workmanship, as determined solely by Hunter, Hunter will provide a replacement part free of charge.*
* If no replacement product/part can be provided for your fan, we will provide a comparable or superior replacement product/part at the sole discretion of Hunter.
What Does This Warranty NOT Cover?
Labor Excluded. This warranty does not cover any costs or fees associated with the labor (including electrician’s fees) required to install, remove, or replace a fan or any fan parts. There is no warranty for light bulbs (except where otherwise noted); remote control batteries; fans purchased or installed outside the United States; fans owned by someone other than the original purchaser; fans for which proof of purchase has not been established; fans purchased from an unauthorized dealer; ordinary wear and tear; minor cosmetic blemishes; refurbished fans; and fans that are damaged due to any
of the following: improper installation, misuse, abuse, improper care, failure to follow Hunter instructions, accidental damage caused by the fan owner or related parties, modifications to the fan, improper or incorrectly performed maintenance or repair, improper voltage supply or power surge, use of improper parts or accessories, failure to provide maintenance to the fan, or acts of God (e.g. flood).
THE ORIGINAL PURCHASER’S SOLE AND EXCLUSIVE REMEDY FOR A CLAIM OF ANY KIND WITH RESPECT TO THIS PRODUCT SHALL BE THE REMEDIES SET FORTH HEREIN. HUNTER FAN COMPANY IS NOT RESPONSIBLE FOR CONSEQUENTIAL OR INCIDENTAL DAMAGES, DUE TO PRODUCT FAILURE, WHETHER ARISING OUT OF BREACH OF WARRANTY, BREACH OF CONTRACT, OR OTHERWISE. Some States do not allow the exclusion or limitation of incidental or consequential damages, so the above limitation or exclusion may not apply to you.
ANY IMPLIED WARRANTIES OF MERCHANTABILITY OR FITNESS FOR A PARTICULAR PURPOSE APPLICABLE TO THIS PRODUCT ARE LIMITED IN DURATION TO THE PERIOD OF COVERAGE OF THE APPLICABLE LIMITED WARRANTIES SET FORTH ABOVE. Some states do not allow limitations on how long an implied warranty lasts, so the above limitation may not apply to you.
How Does State Law Affect Warranty Coverage?
This warranty gives you specific legal rights. You may also have other rights which vary from state to state.
Downrod
If you need a different downrod length follow these steps:
Follow steps 1-5 to remove standard downrod pipe 
WARNING
FAN FALL HAZARD
To prevent SERIOUS INJURY or DEATH:
- ALWAYS follow the downrod assembly instructions exactly.
- VERIFY the downrod is assembled correctly by firmly pulling on the hanger ball.
- Pin must be reinserted to secure downrod assembly.
Hunter 51583 Flat Matte Black Gallegos



WARNING To avoid possible electrical shock, before installing your fan, disconnect the power by turning off the circuit breakers to the outlet box associated with the wall switch location.






















