DEVILBISS 56500 Pulmo-Aide Compressor Nebulizer

Purpose
To provide a portable means of supplying compressed air to devices which do not require a large volume of air, such as nebulizers, atomizers, and syringes. The compressor displaces clean, otl-free air at 12 1pm. It can be operated at 20 psi continuously or at 30 psi intermittently at a minimum of 110 VAC.
Installation
Lower access door to expose the air outlet connector. The compressor is set up for use with slip-on hose connectors. Attach the tubing to the unit by sliding the tubing over the connector.
Maintenance
The air filter (14) should be changed whenever it turns completely gray in color.
Remove the filter cap (15) by pulling outward. To remove the filter from the holder, pull out with fingers. Push the new filter in place and push the cap back into the front of the Pulmo-Aide.
Service
To replace head, valve plate, and/or diaphragm:
- Remove the six T2 0 torx screws from the rear cabinet.
- Lay unit face down and lift the rear cabinet off of the unit.
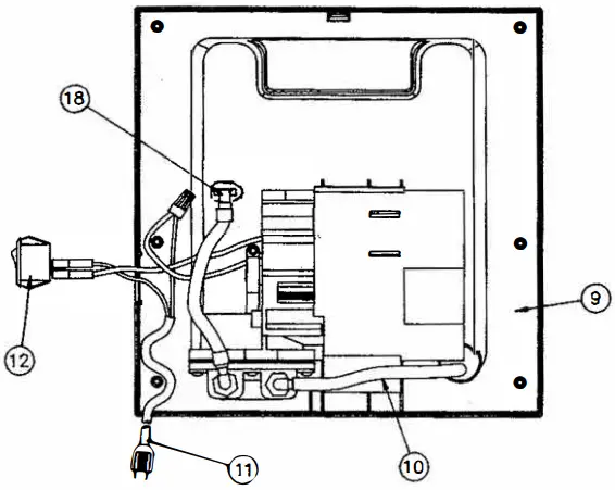
- Only disconnect the tubing (10) from the compressor fittings if you are going to replace the head assembly.
- Remove the four TS torx screws from the head. Using a flat-bladed screwdriver, pry in between the head and motor to loosen the head from the diaphragm.
- Lift the head (6) from the motor.
- Remove diaphragm screw (5) from the connecting rod retainer plate for diaphragm replacement.
- Remove the valve plate retainer screw (5) from the head for valve plate replacement.
- Reverse the procedure to re-assemble the unit.
Specifications
Size ………………………………………….. 10.1″ W x 10.5″ H x 6.5″ D (26 cm x 27 cm x 17 cm)
Weight ………………………………………… 7.0 lbs (3.2 kg)
Sound Level …………………………………….. 51 dBA
Electrical Requirements …………………………….. 1.3 amps, 115 VAC 60 Hz
Power Consumption ……………………………….. 90 watts maximum
Maximum Compressor Pressure ……………………….. 30-4 5 psig*
Maximum Compressor Liter Flow ………………………. 9.4 – 16 lpm*
Nebulizer Operating Pressure …………………………. 12-18 psig
Nebulizer Liter Flow ……………………………….. 5-7 1pm
Nebulizer Capacity ………………………………… 10 ml ( cc)
Nebulizer Nebulization Rate ………………………….. 0.15 ml/minute or greater
MMAD ……………………………………….. Less than 5 microns
Warranty ………………………………………. 5-year limited warranty on compressor parts
*Conditions may vary based on altirude above sea level, barometric pressure changes.
Important Parts of the Pulmo-Aide



REPLACEMENT PARTS
- 5650D-606 Compressor/Motor Assembly
- 5610D-609 Connecting Rod Kit
- 5610D-614 Diaphragm & Valve Plate Assembly
- 5610D-617 Connecting Rod Plate
- 5610D-614 Diaphragm & Valve Plate Assembly Kit (screw) (6/pkg)
- 5650D-613 Head Assembly Kit
- 5610D-614 Diaphragm & Valve Plate Assembly Kit (gasket) (3/pkg)
- 5610D-614 Diaphragm & Valve Plate Assembly Kit (valve plate) (3/pkg)
- 5650D-604* Rear Cover Assembly
- 5650D-615 7″ Vinyl Tubing (6/pkg)
- 5650D-610 Line Cord Assembly (2-prong cord)
5650H-610 Line Cord Assembly (3-prong cord) - 5650D-614 Power Switch
- 5650D-609 Push-In Feet (4/pkg)
- 5650D-602 Long-Life Air Inlet Filter (5/pkg)
5650D-601 Long-Life Air Inlet Filter (25/pkg) - 5650D-612 Filter Cap
- 5650D-603* Front Cover Assembly
- 5650D-605* Storage Compartment Door Assembly
- 5650D-611 Tubing Connector w/Pal Nut (6/pkg)
* MODEL 5650C
5650C-604 Rear Cover Assembly
5650C-603 Front Cover Assembly
5650C-605 Storage Compartment Door Assembly
Troubleshooting
SYMPTOMS | POSSIBLE CAUSES | REMEDIES |
| A. Reduced air output. |
|
|
| B. Compressor labors when air device is not being used. |
|
|
Pulmo-Aide Five-Year Limited Warranty on Compessor Parts
DeVilbiss Model 56500 & 5650C compressors are warranted to be free from defective workmanship and material for a period of five years from date of purchase. Any defective part(s) will be repaired or replaced at DeVilbiss’ option if the unit has not been tampered with or used improperly during that period. Make certain that any malfunction is not due to inadequate cleaning or failure to follow instructions. If repair is necessary, contact your DeVilbiss provider or DeVilbiss Service Department for instructions: U.S.A. 814-443-4881, Canada 905-660-2459. NOTE-Thiswarranty does not cover providing a loaner compressor, compensating for cost incurred in rental while said unit is under repair, or cost for labor incurred in repairing or replacing defective part(s).
THERE IS NO OTHER EXPRESS WARRANTY. IMPLIED WARRANTIES, INCLUDING THOSE OF MERCHANTABILITY AND FITNESS FOR A PARTICULAR PURPOSE, ARE LIMITED TO THE DURATION OF THE EXPRESS LIMITED WARRANTY AND TO THE EXTENT PERMITTED BY LAW ANY AND ALL IMPLIED WARRANTIES ARE EXCLUDED. THIS IS THE EXCLUSIVE REMEDY AND LIABILITY FOR CONSEQUENTIAL AND INCIDENTAL DAMAGES UNDER ANY AND ALL WARRANTIES ARE EXCLUDED TO THE EXTENT EXCLUSION IS PERMITTED BY LAW. SOME STATES DO NOT ALLOW LIMITATIONS ON HOW LONG AN IMPLIED WARRANTY LASTS, OR THE LIMITATION OR EXCLUSION OF CONSEQUENTIAL OR INCIDENTAL DAMAGES, SO THE ABOVE LIMITATION OR EXCLUSION MAY NOT APPLY TO YOU.
This warranty gives you specific legal rights, and you may also have other rights which vary from state to state.
Customer Support
DeVilbiss Health Care, Inc.
P.O. Box 635
Somerset, Pennsylvania
15501-0635 U.S.A.
(814) 443-4881
Sunrise Medical Canada
237 Romina Drive, Unit 3
Concord, Ontario
L4K 4V3 CANADA
(905) 660-2459




















