C-LITE C-VT-A-LVT4 Linear LED Vapor Tight Light

IMPORTANT SAFEGUARDS
When using electrical equipment, basic safety precautions should always be followed including the following:
READ AND FOLLOW ALL SAFETY INSTRUCTIONS
- DANGER- Risk of shock- Disconnect power before installation.
- This luminaire must be installed in accordance with the NEC or your local electrical code. If you are not familiar with these codes and requirements, consult a qualified electrician.
- Suitable for wet locations.
- Suitable for operation in ambient not exceeding 40°C.
DIRECT MOUNT INSTALLATION



- Locate and drill holes for the (2) mounting brackets. Use the brackets as a template for hole locations. Spacing between brackets is 33″ (83.82 cm). Required hole size for provided expansion anchors is 15/64″ (6mm). Attach brackets to mounting surface using provided hardware. See Figure 1.
- Attach the fixture housing to the mounting brackets by snapping the housing into place. See Figure 2.
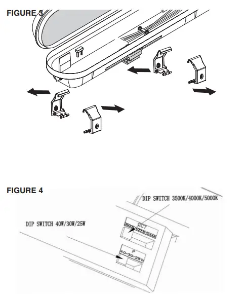
- Release the (10) lens retention clips to open fixture housing. See Figure 3.
- Select desired wattage and CCT using the switches on the driver. See Figure 4.
- Reposition lens assembly on fixture housing and close the (10) lens retention clips to secure the lens in place. Make sure all retention clips are properly engaged and no wires or cables have been pinched to ensure proper lens retention and sealing. See Figure 5 on the back page.
- Route the fixture cord to a power feed location.
- Wire the cord leads to the supply leads as indicated in the Electrical Connections section. Make sure a wet location-rated canopy and cord grip is used.
ELECTRICAL CONNECTIONS
Fixture is equipped with universal volt driver 120-277V (ie. 120V, 208V, 240V or 277V)
PHASE TO NEUTRAL WIRING 120/277V
- Connect supply ground to fixture ground (green) lead.
- Connect supply common to fixture neutral (white) lead.
- Connect supply Vin to fixture hot (black) lead.
Tuck all wires carefully into wiring chamber ensuring that no wires are pinched.
PHASE TO PHASE WIRING 208/240V
- Connect supply ground to fixture ground (green) lead.
- Connect supply L1 (Hot) to fixture neutral (white) lead.
- Connect supply L2 (Hot) to fixture hot (black) lead.
Tuck all wires carefully into wiring chamber ensuring that no wires are pinched.
DIMMING
- If 0/1-10V Dimming is used, connect the violet lead to the supply positive dimming lead. For dimming, use Class 1 wiring methods only. If dimming is not being used ensure to cap off the violet lead.
- If 0/1-10V Dimming is used, connect the grey or pink lead to the supply negative dimming lead. For dimming, use Class 1 wiring methods only. If dimming is not being used ensure to cap off the grey or pink lead.
FCC NOTICE
CAUTION: Changes or modifications not expressly approved could void your authority to use this equipment. This device complies with part 15 of the FCC Rules. Operation is subject to the following two conditions:
- This device may not causeharmful interference,
- this device must accept any interference received, including interference that may cause undesired operation.
Changes or modifications not expressly approved could void your authority to use this equipment. This equipment has been tested and found to comply with the limits for a Class B digital device, pursuant to part 15 of the FCC Rules. These limits are designed to provide reasonable protection against harmful interference in a residential installation. This equipment generates, uses and can radiate radio frequency energy and, if not installed and used in accordance with the instructions, may cause harmful interference to radio communications. However, there is no guarantee that interferencewill not occur in a particular installation. If this equipment does cause harmful interference to radio or television reception, which can be determined by turning the equipment off and on, the user is encouraged to try to correct the interference by one or more of the following measures:
- Reorient or relocate the receiving antenna.
- Increase the separation between the equipment and receiver.
- Connect the equipment into an outlet on a circuit different from that to which the receiver is connected.
- Consult the dealer or an experienced radio/TV technician for help.
CAN ICES-005 (B)/NMB-005 (B)



















