MAGMA A10-918-2GS Newport II Infrared Gas Grill

IMPORTANT SAFETY WARNINGS
READ ALL INSTRUCTIONS BEFORE OPERATING
- USE OUTDOORS ONLY.
- DO NOT USE THIS APPLIANCE INSIDE THE BOAT OR ANY ENCLOSED SPACE.
- GRILLS RADIATE HEAT. CLEARANCE FROM COMBUSTIBLES, 24” SIDES AND BACK. NEVER USE UNDER AWNINGS, PATIO COVERS, ETC.
- USE PROPANE GAS ONLY. FUEL STORAGE SHOULD BE IN COMPLIANCE WITH THE AMERICAN BOAT AND YACHT COUNCIL (ABYC) STANDARDS A-1 (9), MARINE LIQUIFIED PETROLEUM GAS (LPG) SYSTEMS.
- FOR NATURAL GAS APPLICATION CONTACT MAGMA.
- ALWAYS LIGHT GRILL WITH LID OPEN.
- NEVER LEAVE HOT GRILL UNATTENDED.
- DO NOT OVERHEAT GRILL, SEE OPERATING INSTRUCTIONS
- ALWAYS TURN GRILL OFF AFTER USE.INSTALL CANISTERS IN WELL VENTILATED AREA AND AWAY FROM OPEN FLAME, HEAT SOURCE OR SPARKS. KEEP AWAY FROM OTHER PEOPLE OR FLAMMABLE MATERIALS.
- USE GLOVE OR HOT PAD WHEN HANDLING HOT GRILL.
- NEVER LEAVE GAS CYLINDERS AND REGULATOR CONNECTED WHEN STOWED.
- STORE GAS CYLINDERS IN WELL VENTILATED AREA.
- DO NOT STORE GAS CYLINDERS INDOORS, IN DIRECT SUNLIGHT, BELOW DECKS ON BOATS, OR IN LOCKERS NOT APPROVED FOR BUTANE OR PROPANE STORAGE
CAUTION: CHECK FOR GAS LEAKS EACH TIME CYLINDER IS CHANGED.NEVER CHECK FOR GAS LEAKS WITH A FLAME! - DO NOT BLOCK, RESTRICT, OR OTHERWISE OBSTRUCT COMBUSTION OR VENTILATION AIR OPENINGS.
- DO NOT MODIFY THIS APPLIANCE
- KEEP AREA CLEAR AND FREE FROM COMBUSTIBLE MATERIALS, GASOLINE, AND OTHER FLAMMABLE VAPOURS AND LIQUIDS.
- CHECK THAT VALVE SEALING WASHER (A) IS IN PLACE AND IN GOOD CONDITION BEFORE A CONNECTING THE GAS CONTAINER.
- INSTALL CANISTERS IN WELL VENTILATED AREA AND AWAY FROM OPEN FLAME, HEAT SOURCE OR SPARKS. KEEP AWAY FROM OTHER PEOPLE OR FLAMMABLE MATERIALS.
FOR YOUR SAFETY
- If you smell gas:
- Do not attempt to light appliance.
- Extinguish any open flame.
- Disconnect from fuel Supply.
- Do not store or use gasoline or other liquids with flammable vapours in the vicinity of this or any other appliance
CARBON MONOXIDE HAZARD
This appliance can produce carbon monoxide which has no odor.
Using it in an enclosed space can kill you.
Never use this appliance in an enclosed space such as a camper, tent, car or home.
- Do not store or use gasoline or other liquids with flammable vapours in the vicinity of this or any other appliance
CARBON MONOXIDE HAZARD
- This appliance can produce carbon monoxide which has no odor.
- Using it in an enclosed space can kill you.
Never use this appliance in an enclosed space such as a camper, tent, car or home..
INSTALLATION INSTRUCTIONS
CONTROL VALVE REGULATOR

- Uses standard 1-lb. disposable propane canisters (DOT-39 NRC).
- Prior to installing valve, become familiar with the valve function and graphics on valve knob. Never force the knob. Always turn or push gently.
- Turn control valve to “lock” and install gas canister being careful not to cross the threads. Check for leaks prior to use, by brushing soapy water solution around threads and orifice hole checking for bubbles.
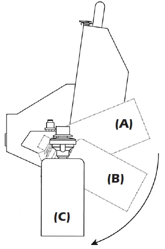
- Position valve with gas bottle as shown (A). Gently insert valve stem into valve chamber. Rotate until valve stem key aligns with lock detent allowing valve to fully insert. Rotate gas canister down, so knob faces you (B) or straight up (C) depending on application.
Valve will feel loose and will rotate easily
Even though the valve feels loose, it will not leak. The valve was designed to be loose fitting in order to allow safe, easy installation and removal of the propane canister and so it easily swings without resistance to fit all applications.
MOUNT HARDWARE
Fasteners are supplied for both Single Mount and Dual Mount grill mounting options. See Magma Catalog or Website for best mount selection.

Single mount through-bolt applications
4 Carriage bolts & lock nuts

Single mount non-through-bolt applications, including Style 1 LeveLock®
4 Hex head bolts & lock washers.

Dual mount applications
4 Carriage bolts & lock nuts. Only 4 bolts required for grill mounting. Place bolts (2 per side) diagonally from each other as shown.

See Magma website for replacement part numbers and valve applications MagmaProducts.com
OPERATING PROCEDURES
OPERATE ONLY ON “LOW” WHEN LID IS CLOSED.
ALWAYS OPERATE WITH GREASE TRAY IN PLACE.
WARNING: Do not overheat grill. Magma Grills do not require pre-heating. Stainless Steel loses anticorrosive
characteristics when subjected to extreme heat. Most grilling is done on low temperature
with the lid closed. If medium or high heat is required, grill with lid open.
LIGHTING INSTRUCTIONS
- Open lid during lighting.
- Depress knob and rotate counter-clockwise to the “HIGH” flame position.
- Push Piezo Igniter.
- Visually confirm ignition.
- Turn knob to adjust flame.
- If grill does not light, adjust electrode until proper spark appears.
- If the piezo ignition continues to fail to ignite the gas.
NOTE: Before lighting, lid lock must be positioned not to engage. Open lid and turn lock to locked position.
MATCH LIGHTING INSTRUCTIONS
(Back up system allows use of grill until piezo ignition system is repaired.)
- Open lid during lighting.
- Place flame up to burner through the match light hole using match light tool.
- Depress valve and turn counter-clockwise to the “HIGH” flame position.
- Visually confirm ignition, the flame should be blue with yellow tips.
The appliance must not be exposed to flammable vapors or liquids during lighting.
TO REDUCE FLARE-UP
- Empty and clean grease tray prior to each use.
- Trim excess fats from meat.
- Use non-oil based marinades.
- Reduce heat.
- Use water spray directly on flare-ups.
FOLDING LEGS
For storage, transport or while using other mounting options. Fold up back legs first, then front legs (as shown). If legs become loose they can be tightened with a 5/32” Hex Key Wrench.
PRACTICAL HINTS
Before lighting your grill, be sure that…
- Grill is secure and properly mounted.
- Internal components and grease tray are clean and correctly positioned.
- You have plenty of gas in the canister.
- Gas canister is attached properly and there are no gas leaks.
- Lid lock has been set not to engage.
- You have a water spray bottle handy to cool a hot grill or stop any flare-ups.
STOWING TIPS
- Always disconnect the fuel canister from the valve prior to stowing.
- Stow the valve in a clean, dry area to protect from corrosion to valve.
- Always store propane in a sealed propane storage locker that allows leakage to vent overboard or use
Magma Propane Storage Locker/Tote Bag. Never stow below decks.
ELECTRODE SPARK ADJUSTMENT
CAUTION: Spark can cause small shock. Do not leave fingers on or near electrode wire while engaging igniter.
- Electrode wire should be approximately 1/8” from gas exit hole in burner. Carefully adjust wire if required.
DISASSEMBLY & RE-ASSEMBLY
- Lift radiant plate up & out of left slot (see B) and remove by sliding it out of right slot (see C).


- Remove burner retainer pin (see B) & remove burner. Inspect burner, remove any obstructions. CAUTION: WHEN REPLACING BURNER, CUT SLOTS IN BURNER MUST FACE DOWN.
- To remove liner from outer shell you must disconnect the electrode wire (see D).

First remove the two screws on valve chamber (see D) and remove the cover plate. Gently pull wire off connector (see D). It is not necessary to remove electrode from liner. - Remove Lid and liner by removing hinge screws and lock nuts with 3/16” hex key wrench (supplied) and 1/2” wrench or pliers. CAUTION: LOCK NUTS MUST BE INSTALLED WITH LOCKING INDENT MARKS SHOWING (see E). IMPROPER INSTALLATION WILL DAMAGE THE HINGE SCREW AND LOCK NUT.
- Lift liner out of outer shell by lifting up on liner lip on back side of liner (see F). When replacing liner, be sure top lip of liner installs over top edge of outer shell (start with corners of lip and work in).
- Clean as indicated in Maintenance.
- To re-assemble, reverse the procedure above.

MAINTENANCE
Stainless steel, contrary to popular belief, can rust. Most commonly, deposits on surface of the product will trap moisture. It is this moisture that robs stainless steel of oxygen. Oxygen is the element that reacts with stainless steel to form a protective layer of chrome oxide. Robbed of oxygen, this reaction does not take place and “crevice corrosion” or “surface rusting” occurs. To minimize this effect, thoroughly clean your grill with soap and water, rinse with fresh water, and dry. Avoid using stainless steel polishes on grill exterior as most leave a residue that may discolor when grill is heated.
Additionally, stainless steel that is exposed to high heat will change color and texture over time. The “amber” color of grill exterior and internal components is not a failure of the stainless steel and will not affect the product’s operation. When this happens, we recommend using “Magma Magic” Grill Restorer to remove the “amber” color and return grill to its original luster. However, prolonged exposure to extreme high heat will cause chromium and nickel to “burn out” of stainless steel. At this point, stainless steel will become more susceptible to corrosion and will start to deteriorate. We recommended replacement of internal components as they become seriously deteriorated.
We recommend thoroughly cleaning grill and internal components after each outing. Disassemble interior components and remove all food residue. Use a “Scotch-Brite” pad or similar product and “Easy-Off” oven cleaner for cleaning grills interior components, followed by thoroughly washing with soap and water, rinse with fresh water & dry. AVOID CONTACT OF OVEN CLEANER WITH SKIN, CONTROL VALVE, IGNITER ELECTRODE & WIRE, AND BOAT SURFACE.
CAUTION:
- DO NOT USE ANY TYPE OF ABRASIVE PAD ON EXTERIOR MIRROR FINISH AS IT WILL SCRATCH SURFACE, USE ONLY A SOFT CLOTH. We recommend covering grill between uses. Grill covers are available at Magma retailers or directly from Magma. See our website, MagmaProducts.com. After cooking, Do Not turn grill to high heat to burn off grilling residue. The grill is not a self-cleaning oven & this extreme heat can damage stainless steel components.
Glass Viewing Window – Use Oven and Grill Cleaner for burnt on residue. Wash with soapy water and dry prior to storage.
Grill Grates – Clean with brass wire brush while grill is warm. Use Oven & Grill cleaner for burnt-on residue. Wash with
soapy water and dry prior to storage.
Anti-Flare/Anti-Blow-Out Screens – Use Oven & Grill cleaner for burnt-on residue. Wash with soapy water and dry prior
to storage. Periodic cleaning of the infrared screens is required to maintain optimum performance and reduce flare-up on the screens.
Heavy debris buildup will deprive the grill of oxygen creating blowout issues.
Ceramic Electrode – Located just beside the burner, it should be kept clean of grease and debris. Be careful not to damage the ceramic insulation or the wire.
Control Valve – All valves are set and tested at our factory. Do not attempt to adjust or disassemble the valve in any way.
Call Magma if you suspect it is not adjusted properly. Clean valve with a cloth and remove any debris obstructing the orifice.
Repair/Replacement Parts – All replacement parts are readily available at your Magma Retailers or directly from Magma.
For a complete list of replacement parts, visit our website MagmaProducts.com.
USING GRILL WITH ON-BOARD LPG (PROPANE) SYSTEMS

- Magma On-Board LPG (Propane) Valves & Hose Kits allow Magma Grills to be installed within a boats existing on-board, pre-regulated low pressure LPG (Propane) system.
- Use only Magma Type 3 Low Pressure LPG (Propane) Valves. See our Valve Application Guide at MagmaProducts.com for correct valve.
- In North America use Magma A10-225 LPG 10′ Gas Grill Connection Kit in conjunction with Type 3 Valve. Outside North America check your local dealer for proper hose and fittings.
- A primary shutoff valve (supplied with Gas Grill Connection Kit) must be used with this control valve at point of connection into your system. This allows shut off of gas supply to hose leading to grill.
- In Australia & New Zealand LPG fuel systems must be installed by a certified gas technician.
IMPORTANT!! • DO NOT CONNECT A HIGH-PRESSURE SUPPLY HOSE
FROM A NON-REGULATED TANK DIRECTLY TO GRIL SYSTEM
USING GRILL WITH ON-BOARD CNG (NATURAL GAS) SYSTEMS
Magma’s grills are designed for use with small disposable propane canisters or with pre-regulated low-pressure propane and optional low-pressure valves. Running high-pressure propane fuel supply lines on a boat is in violation of American Boat & Yacht Council (ABYC) guidelines and is not considered a safe application. Additionally, impurities found in larger refillable propane tanks may clog the small orifices in the high-pressure control valve/regulator causing it to lose performance capabilities and eventually fail. Regulating these tanks to 1/2 PSI and using this pre-regulated propane with the correct low-pressure valve will ensure safe, efficient performance of the grill.
USING GRILL WITH ON-BOARD CNG (NATURAL GAS) SYSTEMS
IMPORTANT!
- DO NOT CONNECT A HIGH-PRESSURE SUPPLY HOSE FROM A NON-REGULATED TANK DIRECTLY TO GRILL.
- Magma on-board CNG (natural gas) valves allow Magma grills to be installed to an existing on-board, pre-regulated low pressure CNG (natural gas) system.
- Use only Magma Type 4 Low Pressure CNG (natural gas) control valves. Visit our website at MagmaProducts.com to view valve application guide. See your local dealer for proper hose and fittings.
TROUBLESHOOTING GUIDE
| Problem | Possible Cause | Possible Solution |
| Burner Will Not Light With Igniter | Electrode covered with grease or residue |
|
| Igniter/electrode too far from burner |
| |
| Electrode wire loose, disconnected, or corroded |
| |
| Wire is shorted causing spark from wire before electrode |
| |
| No spark being generated |
| |
| Burner Will Not Light Even With Match | No gas flow |
|
| Obstructed gas flow |
| |
| Flare-Up | Excessive cooking temperature |
|
| Grease and/or residue build-up |
| |
| Excessive fat in meats |
| |
| Excessive oils in marinades |
| |
| Yellow Sooty Flame | Obstructed gas flow |
|
| Blow-Out | Flame too low |
|
| Wind directly on burner |
| |
| Obstructed gas flow |
| |
| Hot Spots | Grill not level |
|
| Grease or residue build-up |
| |
| Excessive fat in meats |
| |
| Excessive oil in marinades |
|
LIMITED WARRANTY
Magma Products, Inc. guarantees this product to be free from defects in materials or workmanship to the original consumer. This guarantee is for the periods herein specified when used under normal and reasonable conditions, one (l) year from the date of original purchase. This warranty does not include the cost of property damage or any inconvenience due to the failure of the product. Nor does it cover damage due to misuse, abuse, accident, or damage resulting from transportation of the product. Nor does it include damage resulting from the commercial use of this product. Nor does it include, on stainless steel products, “Surface Rust’; Excessive Corrosion due to exposure to salt water; or Discoloration or Corrosion caused by exposure to excessive heat or failure to properly clean and care for the stainless steel surfaces. If the product fails to operate due to a defect in materials or workmanship during the warranty period, the defective part will be repaired or replaced at Magma’s option. If you wish to obtain performance under this limited warranty, you should contact Magma’s Customer Service Department via telephone at (562) 627-0500, or via e-mail at [email protected], or via U.S. Postal Service mail at “Magma Products, Inc., Attention Customer Service, 3940 Pixie Ave. Lakewood, CA, 90712”. The defective part, along with proof of purchase, must be returned postage prepaid to Magma Products, Inc. We suggest that you keep your purchase receipt as we may require reasonable proof of purchase.
In the state of California only, if refinishing or replacement of the product is not commercially practicable, the retailer selling the product, or Magma Products, Inc., will refund the purchase price paid for the product, less the amount directly attributable to use by the original consumer prior to the discovery of the nonconformity. In addition, in the state of California only, you may take the product to the retail establishment from which it was purchased or to any retail establishment selling this product in order to obtain performance under this warranty. All implied warranties, including the implied warranties of merchantability and fitness for a particular purpose, are limited in duration to the express warranty periods specified herein for the parts described herein. Some states do not allow limitations on how long an implied warranty lasts, so the above limitation may not apply to you. Neither Magma dealers, nor the retail establishment selling this product has any authority to make any warranties or to promise remedies in addition to or inconsistent with those stated above. Magma’s maximum liability shall not exceed the purchase price of the product paid by the original consumer. Some states do not allow the exclusion or limitation of incidental or consequential damages, so the above limitation or exclusions may not apply to you. The warranty gives you specific legal rights and you may also have other rights which vary from state to state.
MAGMA and the Magma logo are registered trademarks of Magma Products, Inc.
Newport II is a trademark of Magma Products, Inc.
Patent pending
CALIFORNIA PROPOSITION 65 – WARNING – The burning of gas cooking fuel generates some by-products, which are on the list of substances, which are known by the State of California to cause cancer or reproductive harm. California law requires businesses to warn customers of potential exposure to such substances. To minimize exposure to these substances, always operate this unit according to the use and care manual, ensuring you provide good ventilation when cooking with gas.
Magma Products, LLC.
3940 Pixie Avenue, Lakewood, CA 90712
USA Phone (562) 627-0500
[email protected]
MagmaProducts.com



PRACTICAL HINTS





















