CEBIHEP H301-2 Wireless Transmitter

Wireless Transmitter Speaker System Instructions
Dear Customer
Thank you very much for using our company’s products. In order to enable you to master the performance of the product and the methods of using the product, please read carefully the instructions.The copyright of this manual belongs to the Yindu Electroacoustic co., Ltd. No person may reproduce some or all of the contents of this manual in any way without the permission of the company.Although we have checked this manual carefully, there might still be neglects. Please feel free to report to us and we really appreciate your feedback.If you have comments and suggestions for us, please feel free to contact us. We are more than happy to provide you the quality service and technical guidance.
Transmitter Model: H301-2
Packing list
- one transmitter;
- one instruction manual;
- one remote control
- .one adapter.
Dos and Don’ts
- For security reasons and the proper functioning of the product, please ask the professional staff to install the product and conduct the commissioning and inspection.
- Please make sure that the power supply is normal. The fluctuations in supply voltage or power supply noise will not only affect the normal use of the transmitter, but also cause accidents.
- Please do not carry out operations that are not related to this instruction manual. If you have any questions, please contact us.
- Please use the adapter in the original package, the wrong adapter could cause damage.
- Warranty conditions: Any part that has been proven to be caused by a design defect or technical process defect will be repaired free of charge during the warranty period. The warranty period refers to one year after the date of delivery of the goods. Some alternative parts may be used for maintenance.
- A statement that does not assume security liability: Any quality assurance of the goods that is inconsistent with the stated warranty conditions is outside the scope of this warranty. Any intrinsic warranty regarding the ability and relevance of resale for a particular purpose is outside the scope of this warranty. Any liability for direct or indirect losses occurring outside of external or intrinsic guarantees cannot be assumed. Verbal or written information or notices issued by dealers, issuers, agents or employees without our express permission cannot be a guarantee or in any way increase the scope of the guarantee.
Main Technical Indicators
- Power supply: DC5V
- Output power: 10 Watts
- Transmission distance: No obstacles up to 200 meters
- Input impedance: 47 KΩ
- Total harmonic distortion: 0.03%
- Operation temperature: -10 ℃ ~45 ℃
- Humidity range: 25%-85%
- Infrared remote control distance: ≤10 meters.
- Bluetooth transmission distance: ≤ 10 meters
- Host weight: 1.2lb
- Product dimensions: 9*5.3*5.7” (length * width * thickness, antenna included)
- Bluetooth Frequency range:2402-2480MHz,Microphone Frequency range:202.2MHz
Product Introduction
This product is an APE digital decoding and Hi-Fi intelligent transmitter of the long-distance transmission system. It is equipped with light touch button and infrared to carry out various functions control, and it is made of imported fireproof ABS material. The portable infrared remote control makes it easier t o operate, and with Bluetooth audio transmission, you can use your smartphone or iPad and other devices to connect and easily receive audio information from digital mobile devices. Avant-garde APE digital audio decoder chip and built-in monitoring audio monitor the broadcast content continuously. It is compatible with multiple receiving terminals for simultaneous playback and broadcasting. It provides customers with a true Hi-Fi audio experience. An external audio input port provides a one-stop service for customers to set up an audio-visual entertainment system.
Transmitter introduction


- LED display.
- Mode button: short press to switch mode.
- . Backward button: short press to jump back to the previous piece of music; long press to decrease microphone volume.
- Play/ pause button: short press to pause music; short press again to play music.
- . Next button: short press to jump to the next piece of music; long press to increase microphone volume.
- Repeat button: while play in USB or TF card mode, short press to play a single piece of music in the loop; short press again to quit.
- . Zone select button: short press to switch on, indicator light flashes; short press again to switch off, the indicator light goes off.(Switch on all when there is no need to broadcast in different zones.)
- Zone indicator/power lights.
- 3.5mm audio input socket.
- USB socket.
- IR remote receiving head.12. TF card socket.
- Microphone socket.
- . Treble boost/cut knot
- . Bass boost/cut knot
- Microphone volume knot.
- Wireless broadcast volume knot.
- Antenna.
- Power switch.
- DC+5V power input.
Note: Each state of the machine is stored as memory. The machine will be at the previous status before the power-off. You can switch the function as you need.
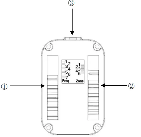
Receiver introduction
- Frequency switch
- Zone switch
- DC power input

Remote Control Function
| FREQ – : short press to show the current frequency channel; short press again to switch the frequency channel downward | ![]() | FREQ + : short press to show the current frequency channel; short press again to switch the frequency channel upward |
| Volume up | Next song | |
| Previous song | Volume down | |
| Play/pause Switch mode: short press to pause / play; long press to switch mode | Microphone 2 volume up (not applicable in this model) | |
| Microphone 1 volume up | Microphone switch: short press to switch on/off microphones | |
| Microphone 1 volume down | Microphone 2 volume down (not applicable in this model) |
Transmitter & Speaker connect Instructions
- Connect transmitter & speaker on power gird by using adapter.
- Turn on the transmitter.
- Press “Freq+” button on the remote to set a frequency point.
- Set speaker on same frequency point by setting receiver.
- Press zone select button on the transmitter to turn on the same zone on your speaker.
Transmitter Placement advice
- The transmitter should be placed in a position as high as possible. The higher the transmitter, the longer the emission distance. Avoid metal obstacles.
- AUX analog audio input line:Audio Cable (two-core shielding line: commonly known as microphone line): RVVP2*0.5, RVVP2*0.75
FAQ
If you can’t turn on the host, check whether the power supply is working properly and whether the power supply is properly plugged in. And if you can turn on the transmitter, check whether the sound is minimized or muted, then press the appropriate button. Check the frequency point and zone setting, make sure the speaker and the transmitter is on the same channel.
Attention
- If the above method fails to troubleshoot, please go to a nearby agent to seek assistance or call the service department.
2. Do not disassemble or repair by yourself.
For technical support, please kindly contact us at [email protected].
FCC Statement
This equipment has been tested and found to comply with the limits for a Class B digital device, pursuant topart 15 of the FCC Rules. These limits are designed to provide reasonable protection against harmful interference in a residential installation. This equipment generates, uses and can radiate radio frequency energy and, if not installed and used in accordance with the instructions, may cause harmful interference to radio communications. However, there is no guarantee that interference will not occur in a particular installation. If this equipment does cause harmful interference to radio or television reception, which can be determined by turning the equipment off and on, the user is encouraged to try to correct the interference by one ormore of the following measures:
- Reorient or relocate the receiving antenna
- Increase the separation between the equipment and receiver.
- Connect the equipment into an outlet on a circuit different from that to which the receiver is connected.
- Consult the dealer or an experienced radio/TV technician for help.
Caution Any changes or modifications to this device not explicitly approved by the manufacturer could void your authority to operate this equipment.This device complies with part 15 of the FCC Rules. Operation is subject to the following two conditions:
- This device may not cause harmful interference, and
- this device must accept any interference received, including interference that may cause undesired operation.
RF Exposure InformationThis equipment complies with FCC radiation exposure limits set forth for an uncontrolled environment. This equipment should be installed and operated with minimum distance 20cm between the radiator and your body.



















