
OWNER’S
MANUAL
G8P0AASSPSS
Write the model and serial numbers here:
Model # _________________
Serial # _________________
Find these numbers on a label on the back of the unit.
GE is a trademark of the General Electric Company. Manufactured under trademark license.
SAFETY INFORMATION
IMPORTANT SAFETY INFORMATION READ ALL INSTRUCTIONS BEFORE USING THE APPLIANCE
WARNING
THE CUTTING TOOLS HAVE VERY SHARP EDGES.
IMPORTANT SAFEGUARDS
Always follow these safety precautions when using this appliance.
Getting Ready
- Read all
- Blade and discs are sharp. Handle them carefully.
- Turn the appliance OFF, then unplug from the outlet when not in use, before assembling or disassembling parts and before cleaning. To unplug, grasp the plug and pull from the Never pull from the power cord.
- Do not use outdoors.
- Do not let cord hang over the edge of table or
- Do not let cord contact hot surface, including the
- Do not operate any appliance with a damaged cord or plug or after the appliance malfunctions, or is dropped or damaged in any manner. Contact GE Appliances at the website listed in the Contact Us section for information on examination, repair, or
Operation
- Keep hands as well as spatulas and other utensils away from moving blades or discs while processing food to reduce the risk of severe personal injury or damage to food processors. A plastic scraper may be used, but only when the food processor motor is stopped.
- Avoid coming into contact with moving Never push food down by hand when slicing or shredding. Always use the pusher.
- Make sure the motor has completely stopped before removing the cover. (If the machine does not stop within 4 seconds after you remove the bowl cover assembly, call 866.907.6718 for assistance. Do not use the machine.)
- Never store any blade or disc on the motor To reduce the risk of injury, no blade or disc should be placed on the shaft except when the bowl is properly locked in place and the processor is in use. Store blades and discs as you would sharp knives, out of reach of children.
- Be sure cover and feed tube are securely locked in place before operating food
- Never try to override or tamper with cover interlock
- Do not fill the bowl above the marked maximum fill line (or rated capacity) to avoid the risk of injury due to damage to the cover or ”
Cleaning
- 7R SURWHFW DJDiQVW UiVN RI HOHFWUiFDO VKRFN, GR QRW SXW EDVH iQ ZDWHU RU RWKHU
WARNING
THE CUTTING TOOLS HAVE VERY SHARP EDGES.
IMPORTANT SAFEGUARDS Continued
General
- This appliance is not intended for use by persons (including children) with reduced physical, sensory, or mental capabilities, or lack of experience and knowledge unless they are closely supervised and instructed concerning use of the appliance by a person responsible for their Close supervision is necessary when any appliance is used by or near children. Children should be supervised to ensure that they do not play with the appliance.
- Do not operate this, or any other motor-driven appliance, while under the influence of alcohol or other substances that affect your reaction time or
- This food processor is for household use only. Use it only for food preparation as described in the accompanying recipe and instruction book. Do not use this appliance for anything but its intended
- The use of attachments not recommended or sold by the manufacturer may cause fire, electrical shock or personal injury, or damage to your food
- To avoid possible malfunction of work bowl switch, never store processor with the cover assembly is locked
- The maximum rating of 550 watts is based on the chopping blade on the food processor bowl as a food chopper draws the greatest power. Other recommended attachments may draw significantly less
- Do not operate your appliance in an appliance garage or under a wall When storing in an appliance garage always unplug the unit from the electrical outlet. Not doing so could create a risk of fire, especially if the appliance touches the walls of the garage or the door touches the unit as it closes.
WARNING
THE CUTTING TOOLS HAVE VERY SHARP EDGES.
IMPORTANT SAFEGUARDS Continued
Care and Cleaning
- Like all powerful electrical appliances, a food processor should be handled with care. Follow these guidelines to protect yourself and your family from misuse that could cause
- Handle and store metal blades and discs Their cutting edges are very sharp.
- Never put blade or discs on the motor shaft until the work bowl is locked in
- Always be sure that the blade or disc is down on the motor shaft as far as it will
- Always insert the metal blade in the work bowl before putting ingredients in
- :KHQ VOiFiQJ RU VKUHGGiQJ IRRG, DOZD\V XVH WKH SXVKHU. 1HYHU SXW \RXU fiQJHUV RU spatula into the feed tube.
- Always wait for the blade or disc to stop spinning before you remove the pusher assembly or cover from the work
- $OZD\V XQSOXJ WKH XQiW EHIRUH UHPRYiQJ IRRG, FOHDQiQJ RU SXWWiQJ RQ RU WDNiQJ Rff parts.
- Always remove the work bowl from the base of a machine before you remove the chopping/ mixing/dough
- Be careful to prevent the chopping blade from falling out of the work bowl when emptying the Remove it before tilting the work bowl.
NOTICE: This appliance has a plastic case, it has a polarized plug (one blade is wider than the other). To reduce the risk of electric shock, this plug will fit in a polarized outlet only one way. If the plug does not fit fully in the outlet, reverse the SOXJ. II iW VWiOO GRHV QRW IiW, FRQWDFW D TXDOiIiHG HOHFWUiFiDQ. DR QRW DWWHPSW WR GHIHDW WKiV safety feature or modify the plugin anyway.
WARNING
RISK OF FIRE OR ELECTRIC SHOCK
- TO REDUCE THE RISK OF FIRE OR ELECTRIC SHOCK, DO NOT REMOVE COVER (OR BACK).
- Do not attempt to repair or replace any part of your food processor unless it is specifically recommended in this manual. All other servicing should be performed by authorized service personnel.
READ AND SAVE THESE INSTRUCTIONS
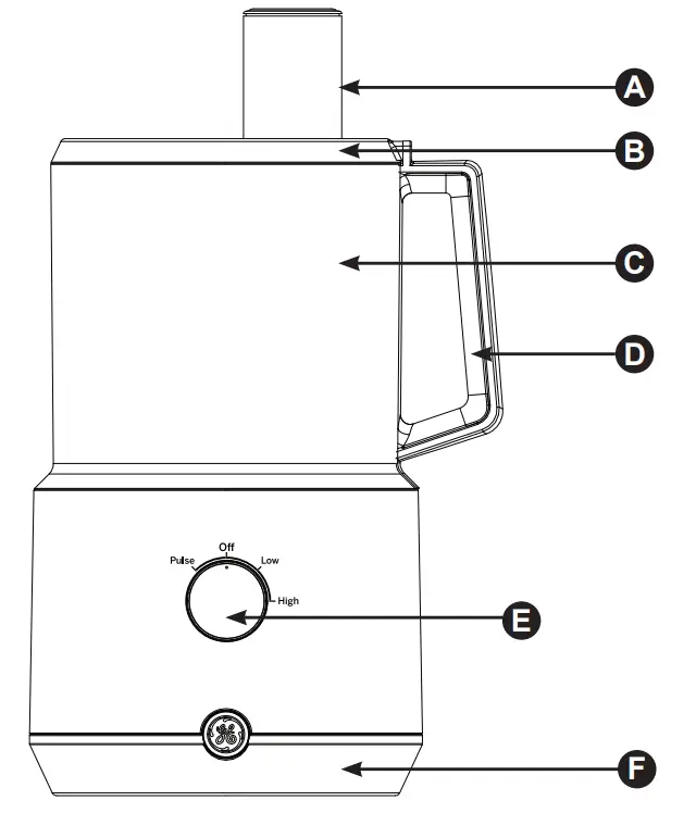
PARTS INCLUDED
Parts Included
G8P0AASSPSS
- Chute Plunger
- Lid
- Processing Chamber
- Handle
- Control Knob
- Base
Accessories
NOTE: Parts listed below are only included with model G8P0AASSPSS
![]() | |
| Fine shredding / Slicing disc | Fine shredding / Slicing disc |
G8P1AASSPSS
![]() | |||
| Fine shredding / Slicing disc | French fry disc | Dough blade | Mini-bowl |
![]() | ||||
| Medium shredding / Slicing disc | Grating disc | Mini S-blade | Emulsifying disc | Spatula |
ACCESSORY KIT
Accessory Kit
G8PKAASSRSS
![]() | ||
| French fry disc | Dough blade | Mini-bowl |
![]() | |||
| Grating disc | Mini S-blade | Emulsifying disc | Spatula |
Getting Started
Before First Use
Before First Use
Before using your food processor for the first time, wash the work bowl, work bowl cover, pusher, blade, and discs in warm soapy water.
- Place the food processor base on a dry, level countertop with the controls facing you. Do not plug the unit in until it is fully assembled.
- With the bowl on the base, use the handle to turn the work bowl clockwise to lock it onto the housing base.
Chopping / Mixing / Dough Blade
- Place the work bowl on top, with the work bowl handle just to the right of the center. Turn the work bowl clockwise to lock it onto the housing base.
- Carefully lift and place the blade over the work bowl accessory adapter. The blade should rest on the bottom of the work bowl.
- Plugin the housing base. Add desired ingredients to the work bowl.
- Place work bowl cover on work bowl, with the feed tube just to the right of center. Turn clockwise to lock onto the work bowl.
- Align pusher with the feed tube opening on the work bowl cover and slide down to the
- You are now ready to operate the machine.
Slicing, Grating, French fry, and Reversible Shredding Discs
- Place the work bowl on top of the base, with the work bowl handle just to the right of the center. Turn the work bowl clockwise to lock it onto the housing base. 6.
- Choose the desired disc.
- Insert stem adapter.
- Carefully place discover stem adapter, with 7. the side being used facing up.
- Place work bowl cover onto work bowl, with the feed tube just to the right of center. Turn clockwise to lock onto the work bowl.
- Align the pusher with the feed tube opening on the work bowl cover and slide it down to the bottom.
- Plugin the housing base.
- You are now ready to operate the machine
Mini Food Bowl
- Place the work bowl on top of the base, with the work bowl handle just to the right of the center. Turn the work bowl clockwise to lock it onto the housing base.
- Insert stem adapter.
- Carefully place the mini-bowl over the stem adapter and turn until it locks into place.
- Carefully place the mini S-blade over the stem adapter. The blade should rest on the bottom of the mini-bowl.
- Add desired ingredients to the work bowl.
- Place work bowl cover on work bowl, with the feed tube just to the right of center. Turn clockwise to lock onto the work bowl.
- Align the pusher with the feed tube opening on the work bowl cover and slide it down to the bottom.
- You are now ready to operate the machine.
Recipe: Honey with Almond
- 400g honey (direct from the fridge)
- 300g almond
- 15 sec (high speed)
Recommended Maximum Work Bowl Capacity
| Food | Capacity |
| Sliced or shredded fruit, vegetable, or cheese | 10 cups |
| Chopped fruit, vegetable, or cheese | 4 cups |
| Pureed fruit of vegetable | 3 cups cooked: 1 1/2 cups pureed |
| Chopped or pureed meat, fish or seafood | 1 1/2 pounds |
| Thin liquid (e.g. dressings, soups, ect) | 7 cups |
| Cake batter | 8-inch cheesecake batter; 1 box (15.25 oz) cake mix |
| Cookie dough | 2 1/2 dozen (based on average chocolate chip cookie recipe) |
| White bread/pizza dough | 2.5 cups (all-purpose or bread flour) |
| Nuts or nut butter | 3 cups |
CARE AND CLEANING
Controls
High and Low Buttons
The High and Low controls are buttons that
- Properly assemble and engage the machine.
- Add ingredients to the work bowl, either through the feed tube or directly into the bowl.
- Turn the knob to the High or Low setting.
Pulse Button
The Pulse is a setting that allows the machine to run only while it is being engaged. This capability provides more accurate control of about one second. With the machine properly assembled and engaged, and ingredients in the work bowl, turn the knob to the Pulse setting repeatedly as needed.
Functions
Using the Chopping/Mixing/Dough Blade Chopping
- For raw ingredients: Peel, core, and/or remove seeds and pits. Food should be cut into even, ‘A- to 1-inch pieces. Foods cut into the same size pieces produce the evenest results.
- Pulse food in 1-second increments to chop. For the finest chop, press High or Low to run the machine continuously. Watch ingredients closely to achieve desired consistency and scrape the work bowl as necessary. Low speed is recommended for making doughs and batters. High speed is recommended for most another chopping, processing, and slicing/ shredding tasks.
Pureeing
- To purée fresh fruits or cooked fruits/ vegetables: Ingredients should be cut into 1-inch pieces; a smooth purée is best achieved when all the pieces are equal in size. Pulse to initially chop and then process High or Low until the food is puréed; scrape the work bowl as Do not use this method to purée cooked white potatoes as the mixture can become too gummy to process.
- To purée solids for a soup or sauce: Strain the solids from the liquid and process the solids Add cooking liquid and process as needed.
Using the Reversible Shredding/ Slicing Discs
- The slicing disc makes whole slices. It slices fruits and vegetables, cooked meat, and semifrozen raw meat. The shredding disc shreds most firm and hard cheeses. It also shreds vegetables like potatoes, carrots, and zucchini.
- Always pack food in the feed tube evenly for slicing and shredding. The food will dictate the amount of pressure: Use light pressure for soft foods, medium pressure for medium foods, and firm pressure for harder foods. Always process with even pressure.
- For round fruits or vegetables: Remove a thick slice on the bottom of the food so that it sits upright in the feed tube. If food does not fit in the feed tube, cut in half or quarter to fit. The process with even pressure.
- For small ingredients like mushrooms, radishes, or strawberries: Trim the ends so the food sits upright in the feed tube.
- When slicing or shredding cheese, be sure that the cheese is well chilled.
- To shred leafy vegetables like lettuce or spinach: Roll leaves together and stands them up in a feed tube. Process with even
NOTE: Always use the pusher when slicing or shredding. Never put your hands in the feed tube while the unit is running.
CONTROLS / FUNCTIONS
- Keep the blade and discs out of the reach of
- All parts except the housing base are dishwasher safe, and we recommend washing them in the dishwasher on the top rack only. Due to intense water heat, washing the work bowl, cover, and accessories on the bottom rack may cause damage over time. Insert the cover with the feed tube facing up to ensure proper Insert the work bowl and pusher upside down for drainage. Remember to unload the dishwasher carefully wherever you have placed sharp blades and discs.
- To simplify cleaning, rinse the work bowl, cover, pusher, and blade or disc immediately after use so food won’t dry on them. Be sure to position the pusher upside down for drainage. If food lodges in the pusher, remove it by running water through it or use a bottle brush. Be sure to rinse out the underside of the removable stem to prevent any food lodging there.
- If you wash the blade and discs by hand, do it carefully. Avoid leaving them in soapy water where they may disappear from sight. To clean the metal blade, fill the work bowl with soapy water, hold the blade by its plastic center and move it rapidly up and down on the center shaft of the bowl. The use of a spray attachment is also effective. If necessary, use a brush.
- The work bowl is made of SAN plastic. It should not be placed in a microwave oven.
- The housing base may be wiped clean with a soapy, non-abrasive material. Be sure to dry it thoroughly.
- If the feet leave spots on the counter, spray them with a spot remover and wipe with a damp sponge.
- If any trace of the spot remains, repeat the procedure and wipe the area with a damp sponge and nonabrasive cleaning powder.
IMPORTANT: Never store any blade or disc on the motor shaft. No blade or disc should be placed on the shaft except when the processor is about to be used.
MAINTENANCE: Any other servicing should be performed by an authorized service representative.
CAUTION
FOR YOUR
SAFETY
- Like all-powerful electrical appliances, a food processor should be handled with care. Follow these guidelines to protect yourself and your family from misuse that could cause injury
- Handle and store metal blades and discs carefully. Their cutting edges are very sharp.
- Never put a blade or discs on the motor shaft until the work bowl is locked in place.
- Always be sure that the blade or disc is down on the motor shaft as far as it will go.
- Always insert the metal blade in the work bowl before putting ingredients in the bowl.
- When slicing or shredding food, always use the pusher. Never put your fingers or spatula into the feed tube.
- Always wait for the blade or disc to stop spinning before you remove the pusher assembly or cover from the work bowl.
- Always unplug the unit before removing food, cleaning, or putting on or taking off parts.
- Always remove the work bowl from the base of a machine before you remove the chopping/ mixing/dough blade.
- Be careful to prevent the chopping blade from falling out of the work bowl when emptying the bowl. Remove it before tilting the work bowl.
TROUBLESHOOTING
Troubleshooting
Technical Data
The motor in your food processor operates on a standard line operating current. The base. An automatic, temperature-controlled circuit breaker in the motor ensures complete protection against motor burnout. If the processor runs for an exceptionally long time when chopping, mixing or kneading a thick or heavy mixture in successive batches, the motor may before proceeding. It will usually cool within 10 minutes. In extreme cases, it could take an hour. Safety switches prevent the machine from operating when the work bowl or the cover when the pusher assembly is removed, a fast-stop circuit also enables the motor to stop within seconds.
TROUBLESHOOTING
Troubleshooting
Save time and money! Review the charts on the following pages first and you may not need to call for service.
| Problem | Solution |
| Food Processing | |
| The food is unevenly processed. | The ingredients should be cut evenly into ½- to 1-inch pieces before processing. |
| Process in batches to avoid overloading. | |
| Slices are uneven or slanted. | Place evenly cut food, cut side down, into the feed tube. |
| Apply even pressure on the pusher. | |
| Food falls over in the feed tube. | The feed tube should be packed full for best results. |
| Some food remains on top of the disc. | It is normal for small pieces to remain; cut remaining bits by hand and add to processed ingredients. |
| Cheese is not shredding well. | Cheese should be processed immediately after being removed from the refrigerator. Soft cheese like mozzarella must be placed in the freezer for 30 minutes prior to processing to ensure it is firm enough for shredding. |
| Dough Kneading | |
| Motor slows down | The amount of dough may exceed the maximum capacity of your food processor. Remove half and process in two batches. |
| The dough may be too wet (see number 8). If the motor speeds up, continue processing. If not, add more flour, 1 tablespoon at a time, until the motor speeds up. Process until dough cleans the sides of the work bowl. | |
| The blade does not incorporate ingredients. | $OZD\V VWDUW WKH IRRG SURFHVVRU EHIRUH DGGiQJ OiTXiG. $GG OiTXiG iQ D VORZ, VWHDG\ stream, or through the drizzle hole in the pusher, allowing the dry ingredients to DEVRUE iW. II WRR PXFK OiTXiG iV DGGHG, ZDiW XQWiO iQJUHGiHQWV iQ WKH ZRUN ERZO KDYH Pi[HG, WKHQ DGG UHPDiQiQJ OiTXiG VORZO\ (GR QRW WXUQ RII WKH PDFKiQH). 3RXU OiTXiG RQWR GRXJK DV iW SDVVHV XQGHU IHHG WXEH RSHQiQJ; GR QRW SRXU OiTXiG GiUHFWO\ RQWR bottom of the work bowl. |
| Blade rises in work bowl. | The excessively sticky dough can cause the blade to rise. Carefully reinsert the blade and immediately add 2 tablespoons of flour through the feed tube while the machine is running. |
| The dough doesn’t clean inside of the work bowl. | The amount of dough may exceed the maximum capacity of your food processor. Remove half and process in two batches. |
| The dough may be too dry. | |
| The dough may be too wet. | |
| The nub of dough forms on top of the blade and does not become uniformly kneaded. | Stop the machine, carefully remove the dough, divide it into 3 pieces and redistribute them evenly in the work bowl. |
| The dough feels tough after kneading. | Divide dough into 2 or 3 pieces and redistribute evenly in the bowl. Process 10 seconds or until uniformly soft and pliable. |
| The dough is too dry. | While the machine is running, add water, 1 tablespoon at a time until the dough cleans the inside of the bowl. |
| The dough is too wet. | While the machine is running, add flour, 1 tablespoon at a time, until dough cleans the inside of the bowl. |
| Technical | |
| The motor does not start. | There is a safety interlock to prevent the motor from starting if it is not properly assembled. Make sure the work bowl and work bowl cover are securely locked into position. |
| If the motor still will not start, check the power cord and outlet. | |
| The food processor shuts off during operation. | The cover may have become unlocked; check to make sure it is securely in position. |
| A safety protector in the motor prevents the motor from overheating, which is caused by excessive strain. Press the Off control button and wait 20 to 30 minutes to allow the food processor to cool off before resuming. | |
| The motor slowed down during operation. | 7KiV iV QRUPDO DV VRPH KHDYiHU ORDGV (H.J., VOiFiQJ/VKUHGGiQJ FKHHVH) PD\ UHTXiUH WKH motor to work harder. Simply reposition the food in the feed tube and try again. |
| The maximum load capacity may have been exceeded. Remove some of the ingredients and continue processing. | |
| The food processor vibrated/moved around the countertop during processing. | Make sure the rubber feet at the bottom of the unit are clean and dry. Also, make sure that the maximum load capacity is not being exceeded. |
| 7KiV iV QRUPDO DV VRPH KHDYiHU ORDGV (H.J., VOiFiQJ/VKUHGGiQJ FKHHVH) PD\ UHTXiUH the motor to work harder. | |
NOTES
LIMITED WARRANTY
GE Appliances Limited Warranty
If your appliance fails to operate properly while in use under normal household conditions within the warranty period, visit geappliances.com/contact for product care/maintenance self-help.
To initiate a warranty claim, please visit geappliances.com/contact, or call 1-800-GECAS.
Please have your model number and serial number available. Return and packing instruction information will be provided at that time.
| For the Period of: | GE Appliances Covers |
| One Year From the date of the original purchase | If the food processor fails due to a defect in materials or workmanship, during the limited one-year warranty, GE Appliances will either repair your product, replace your product with a new or remanufactured product, or refund the purchase price of the product at GE Appliances sole discretion. |
What GE Appliances Will Not Cover:
- Service trips to your home.
- Improper installation, delivery, or maintenance.
- Failure of the product if it is abused, misused, or used for other than the intended purpose or used commercially.
- Replacement of house fuses or resetting of circuit breakers.
- Damage caused after delivery.
- Damage to the product caused by accident, fire, floods, or acts of God. by possible defects with this appliance.
- Labor and other charges to install and/or remove the product
EXCLUSION OF IMPLIED WARRANTIES
Your sole and exclusive remedies are product exchange or refund as provided in this Limited Warranty. Any implied warranties, including the implied warranties of merchantability or fitness for a particular purpose, are limited to one year or the shortest period allowed by law.
For US Customers: This limited warranty is extended to the original purchaser for products purchased for home use within the USA. In Alaska and Hawaii, the limited warranty does not include the costs of shipping units.
This limited warranty gives you specific legal rights, and you may also have other rights which vary from state to state. To know what your legal rights are, consult your local or state consumer affairs office or your state’s Attorney General.
Staple your receipt here. Proof of the original purchase date is needed to obtain service under the warranty.
Warrantor: GE Appliances, a Haier company
Louisville, KY 40225
For Customers in Canada: This limited warranty is extended to the original purchaser and any succeeding owner for products purchased in Canada for home use within Canada.
In-home warranty service will be provided in areas where it is available and deemed reasonable by Mabe to provide. For extended warranty information, visit geappliances.ca/purchase-extended-warranty
Warrantor Canada: MC Commercial, Burlington, Ontario, L7R 5B6
Staple your receipt here. Proof of the original purchase date is needed to obtain service under the warranty.
CONSUMER SUPPORT
Consumer Support
Service and Registration
Register your new appliance online at your convenience! Timely product registration will allow for enhanced communication and prompt service under the terms of your warranty, should the need arise.
Register your appliance at GEAppliances.com/register.
In Canada, service.geappliances.ca/servicio/en_CA/
Contact Us
If you are not satisfied with the service you receive from GE Appliances, contact us on our A website with all the details including your phone number, or write to:
In the US: General Manager, Customer Relations | GE Appliances, Appliance Park | Louisville, KY 40225 GEAppliances.com/contact
In Canada: Director, Consumer Relations, MC Commercial Inc. | Suite 310, 1 Factory Lane | Moncton, N.B. E1C 9M3
GEAppliances.ca/en/contact-us
THANK YOU FOR MAKING GE APPLIANCES A PART OF YOUR HOME.
Whether you grew up with GE Appliances, or this is your first, we’re happy to have you in the family.
We take pride in the craftsmanship, innovation and design that goes into every GE Appliances product, and we think you will too.
Among other things, registration of your appliance ensures that we can deliver important product information and warranty details when you need them. 






















